一种秸秆资源化生态农业系统的制作方法

本发明属于生态农业领域,特别是指一种秸秆资源化生态农业系统。
背景技术:
农田秸秆在田地里直接焚烧,会污染环境,而且会造成农田土壤质量下降。如果任其腐烂,需要的时间太长。生态农业是一个农业生态经济复合系统,将农业生态系统同农业经济系统综合统一起来,以取得最大的生态经济整体效益。它也是农、林、牧、副、渔各业综合起来的大农业,又是农业生产、加工、销售综合起来,适应市场经济发展的现代农业。以生态农业为理念,合理处理农作物秸秆并获得生产发展、能源再利用、生态环境保护、经济效益等相统一的综合性效果,使农业生产处于良性循环中。
技术实现要素:
本发明提出一种秸秆资源化生态农业系统,解决了现有技术中秸秆在田地里直接焚烧,会污染环境,而且会造成农田土壤质量下降。如果任其腐烂,需要的时间太长的缺陷。
本发明的技术方案是这样实现的:
一种秸秆资源化生态农业系统,包括秸秆切割运送装置、秸秆燃烧装置、循环水加热装置和农作物滴灌装置,所述秸秆切割运送装置包括外部的外壳、设置于外壳上的进料口、设置于外壳的内部的输送绞龙和设置于输送绞龙前端的至少一切割刀,所述输送绞龙与第一电机连接,所述秸秆燃烧装置连接于秸秆切割运送装置的后方,所述循环水加热装置包括储水箱和循环管道,所述储水箱设置于秸秆燃烧装置的上方,所述农作物滴灌装置与循环管道连接。采用秸秆燃烧产生的热量加热冷水对农作物进行灌溉,可以将能量合理利用,同时秸秆燃烧后的产生的灰渣用作农作物的有机肥料。
进一步的,所述秸秆燃烧装置包括燃烧腔体,所述储水箱设置于所述燃烧腔体的上方,所述燃烧腔体的下方设置有出灰口,所述出灰口上设置有清灰装置,出灰口下方设置灰槽,所述燃烧腔体上还连接有鼓风装置、自动进料口、手动进料口和出烟口,所述自动进料口与秸秆切割运送装置连接。
进一步的,所述清灰装置包括圆柱形中空的滚筒结构,所述滚筒的一端设置有进风口,另一端连接旋转轴,所述旋转轴与第二电机连接,所述滚筒的进风口与鼓风装置连通,所述滚筒的外壁上设置有若干平行排列的凹槽和若干出灰孔,灰渣从出灰孔掉入灰槽中,凹槽的设置有利于清除结焦的焦块,增加焦块的摩擦力,使得滚筒更容易清洗干净,气流从进风口进入,并从出灰口排出,使秸秆燃料在悬浮状态下进行燃烧,最大程度上有氧充分燃烧,出火口热效率高。
进一步的,循环管道包括与储水箱连接的主管道和与主管道连接的分支管道,所述分支管道平行排列,农作物种植在各所述分支管道之间。
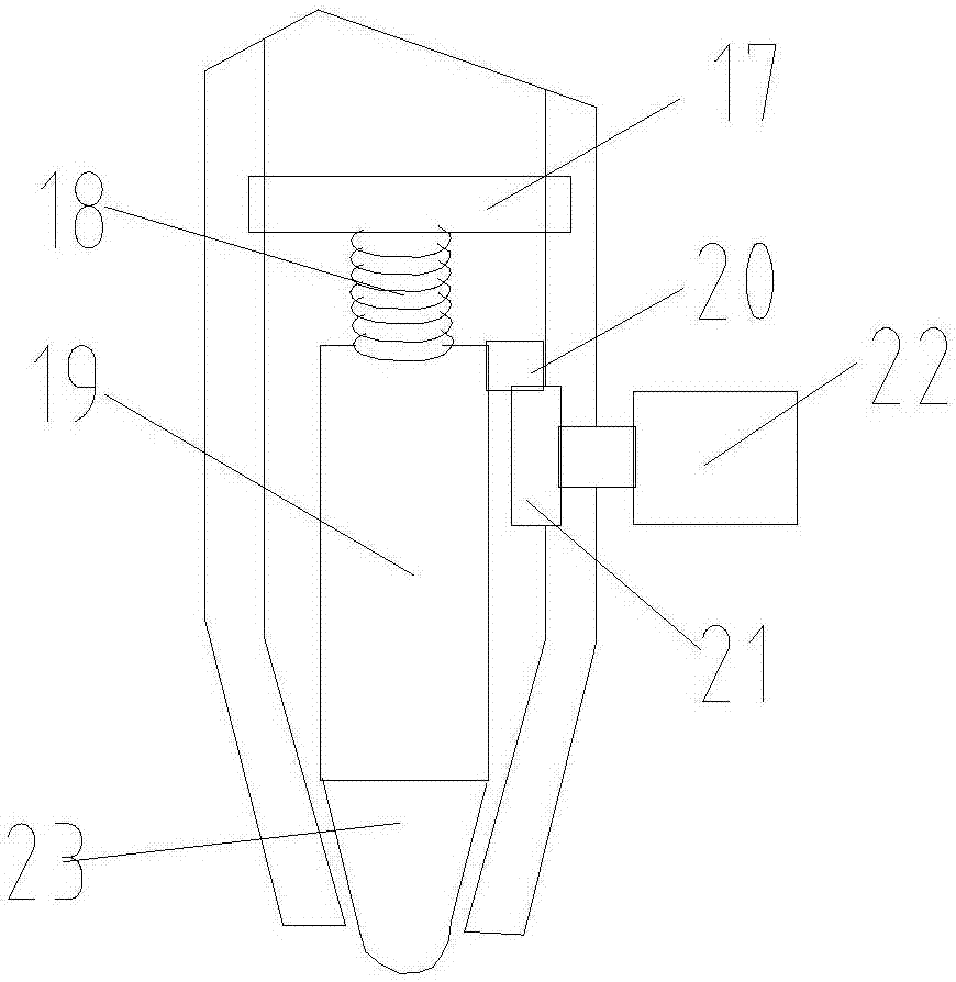
进一步的,所述农作物滴灌装置包括与分支管道连接的输送管、固定支架、弹簧伸缩件、连接杆、伸缩凸台、偏心旋转盘、驱动电机、橡胶堵头;所述的输送管与分支管道连接,输送管内部设置有固定支架,固定支架的下端中间连接有弹簧伸缩件,弹簧伸缩件的下端连接有连接杆,连接杆的一侧设置有伸缩凸台,伸缩凸台的下端设置有偏心旋转盘,偏心旋转盘与设置在输送管右侧的驱动电机连接,连接杆的下端连接有橡胶堵头。
进一步的,所述滚筒的一端上开有转轴孔,所述滚筒另一端的进风口上设置有转轴支撑架,所述转轴支撑架包括置于进风口中心点上的支撑环,所述支撑环通过若干支撑杆与滚筒的边缘固定连接,电机转轴穿过所述转轴孔及支撑环将第二电机与滚筒连接。
综上所述,本发明的优点在于:
本发明的一种秸秆资源化生态农业系统,在冬天或是天气寒冷的地方,通常会采取温水对农作物进行灌溉,本申请采用秸秆燃烧产生的热量加热冷水对农作物进行灌溉,可以将能量合理利用,同时秸秆燃烧后的产生的灰渣用作农作物的有机肥料。
附图说明
为了更清楚地说明本发明实施例或现有技术中的技术方案,下面将对实施例或现有技术描述中所需要使用的附图作简单地介绍,显而易见地,下面描述中的附图仅仅是本发明的一些实施例,对于本领域普通技术人员来讲,在不付出创造性劳动性的前提下,还可以根据这些附图获得其他的附图。
图1为本发明一种秸秆资源化生态农业系统的结构示意图;
图2为图1的农作物滴灌装置结构示意图;
图3为图1的滚筒的结构示意图。
具体实施方式
下面将结合本发明实施例中的附图,对本发明实施例中的技术方案进行清楚、完整地描述,显然,所描述的实施例仅仅是本发明一部分实施例,而不是全部的实施例。基于本发明中的实施例,本领域普通技术人员在没有作出创造性劳动前提下所获得的所有其他实施例,都属于本发明保护的范围。
实施例1
如图1-3所示,一种秸秆资源化生态农业系统,包括秸秆切割运送装置、秸秆燃烧装置、循环水加热装置和农作物滴灌装置,所述秸秆切割运送装置包括外部的外壳1、设置于外壳上的进料口2、设置于外壳的内部的输送绞龙3和设置于输送绞龙前端的至少一切割刀4,所述输送绞龙3与第一电机5连接,所述秸秆燃烧装置连接于秸秆切割运送装置的后方,所述循环水加热装置包括储水箱8和循环管道,所述储水箱8设置于秸秆燃烧装置的上方,所述农作物滴灌装置与循环管道连接。采用秸秆燃烧产生的热量加热冷水对农作物进行灌溉,可以将能量合理利用,同时秸秆燃烧后的产生的灰渣用作农作物的有机肥料,所述秸秆燃烧装置包括燃烧腔体,所述储水箱设置于所述燃烧腔体的上方,所述燃烧腔体的下方设置有出灰口,所述出灰口上设置有清灰装置,出灰口下方设置灰槽9,所述燃烧腔体上还连接有鼓风装置10、自动进料口、手动进料口11和出烟口12,所述自动进料口与秸秆切割运送装置连接,所述清灰装置包括圆柱形中空的滚筒结构,所述滚筒的一端设置有进风口,另一端连接旋转轴13,所述旋转轴与第二电机14连接,所述滚筒的进风口与鼓风装置连通,所述滚筒的外壁上设置有若干平行排列的凹槽和若干出灰孔,灰渣从出灰孔掉入灰槽中,滚筒与出灰口之间有一定的间隙,灰槽也可从间隙中被带出至灰槽中,凹槽的设置有利于清除结焦的焦块,增加焦块的摩擦力,使得滚筒更容易清洗干净,气流从进风口进入,并从出灰口排出,使秸秆燃料在悬浮状态下进行燃烧,最大程度上有氧充分燃烧,出火口热效率高,循环管道包括与储水箱连接的主管道15和与主管道连接的分支管道16,所述分支管道平行排列,农作物种植在各所述分支管道之间,所述农作物滴灌装置包括与分支管道连接的输送管、固定支架17、弹簧伸缩件18、连接杆19、伸缩凸台20、偏心旋转盘21、驱动电机22、橡胶堵头23;所述的输送管与分支管道连接,输送管的内部设置有固定支架,固定支架的下端中间连接有弹簧伸缩件,弹簧伸缩件的下端连接有连接杆,连接杆的一侧设置有伸缩凸台,伸缩凸台的下端设置有偏心旋转盘,偏心旋转盘与设置在输送管右侧的驱动电机连接,连接杆的下端连接有橡胶堵头,所述滚筒的一端上开有转轴孔,所述滚筒另一端的进风口上设置有转轴支撑架,所述转轴支撑架包括置于进风口中心点上的支撑环24,所述支撑环24通过若干支撑杆与滚筒的边缘固定连接,电机转轴穿过所述转轴孔及支撑环将第二电机与滚筒连接。
以上所述仅为本发明的较佳实施例而已,并不用以限制本发明,凡在本发明的精神和原则之内,所作的任何修改、等同替换、改进等,均应包含在本发明的保护范围之内。
技术研发人员:范子辉
技术所有人:合肥市禾兴生态养殖科技有限公司
备 注:该技术已申请专利,仅供学习研究,如用于商业用途,请联系技术所有人。
声 明 :此信息收集于网络,如果你是此专利的发明人不想本网站收录此信息请联系我们,我们会在第一时间删除
