一种间歇式精量加种装置的制作方法

本发明属于农业播种机技术领域,具体涉及一种间歇式精量加种装置。
背景技术:
随着播种技术的不断发展,播种技术优与劣体现出一个国家农业机械化的总体技术水平,要实现播种机的高效率的连续精密播种,则需要对播种机进行精量且均匀的加种
目前我国所使用的加种装置大都存在不同程度的问题,从而影响了播种机的工作效率,为解决精量加种的问题,则需要一种精量加种装置,目前的加种装置不能完全的解决加种时所存在的突出情况,因此急需发明一种能够实现精量加种、对种子伤害低的一种自动精量加种装置,以此来满足我国日益发展的农业需求。
技术实现要素:
本发明提供了一种间歇式精量加种装置,以解决现有加种装置播种不能精量均匀加种、效率低等问题。
本发明所要解决的技术问题采用以下技术方案来实现。
一种间歇式精量加种装置,包括机架1、加种箱2、动力装置3、控制装置4,所述的机架1包括可调垫铁11、底座12、y型支架13,所述的可调垫铁11为四个,通过螺纹连接在底座12上;所述的y型支架13通过螺栓连接在底座12上,其包括左托板131、右托板132;所述的加种箱2安放在y型支架13中;所述的动力装置3通过螺栓连接在底座12上;所述的控制装置4通过螺栓连接在动力装置3中的电机支座34上。
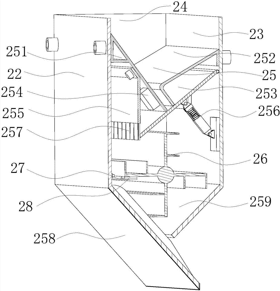
所述的加种箱2包括后侧板21、左侧板22、右侧板23、前侧板24、落种机构25、转动盛种槽26、弹簧拨片27、压力感应器28、隔板29,所述的后侧板21按照顺序通过螺栓与左侧板22、右侧板23、前侧板24连接在一起形成一个矩形;所述的落种机构25通过螺栓连接在加种箱2内部,其包括落种板一251、落种板二252、落种板三253、电磁振动器254、挡板255、电磁铁256、门帘257、落种板四258、落种板五259,所述的落种板一251通过螺栓连接在左侧板22上,所述的落种板二252通过螺栓连接在右侧板23上,所述的落种板三253通过铰链连接在右侧板23上,所述的电磁振动器254通过螺栓连接在落种板一251上,所述的挡板255通过螺栓连接在落种板一251上,所述的电磁铁256一端通过铰链连接在右侧板23上另一端通过铰链连接在落种板三253上,所述的门帘257通过胶结连接在挡板255的下部,所述的落种板四258通过螺栓连接在左侧板22上,所述的落种板五259通过螺栓连接在右侧板23上;所述的转动盛种槽26在加种箱2内部,位于落种机构25的正下方通过轴承安装在后侧板21和前侧板24上;所述的弹簧拨片27通过螺栓连接在左侧板22的底部;所述的压力感应器28通过胶结连接在弹簧拨片27的一端;所述的隔板29按照一定的间隔通过胶结连接在落种板四258上。
所述的动力装置3包括电机支座31、步进电机32、主动拨盘33、从动槽轮34,所述的电机支座31通过螺栓连接在底座12上;所述的步进电机32通过螺栓连接在电机支座31上;所述的主动拨盘33通过键连接在步进电机32的转轴上,通过螺栓进行轴向固定;所述的从动槽轮34通过键连接在转动盛种槽26的转轴上,通过螺栓进行轴向固定。
在使用前向加种箱2中加入适量的种子,使用时通过控制装置4控制电磁铁256动作,使落种板253逆时针旋转一定角度,此时电磁振动器254工作,通过使落种板一251振动加速种子下滑,滑出的种子通过落种板三253经过挡板255和门帘257的作用,掉入至转动盛种槽26中,当转动盛种槽26中的种子达到一定数量时,安装在弹簧拨片27上的压力感应器28传出信号,通过控制装置4使步进电机三31转动,通过主动拨盘32与从动槽轮33带动转动盛种槽26转动,使转动盛种槽26的种下落到加种箱2中,在转动盛种槽26转动时,通过控制装置4使电磁铁256失电,使落种板253复位种子不在下落,至此完成一次补种,重复上述过程直至完成预订量的加种。
本发明的有益效果:本发明的动力源、控制装置、动力装置、加种箱全部安装在机架上,结构简单且易操作;本发明只需操作者在加种前向加种装置中加入适量的种子,装置便可自主完成对应时段的加种,本发明在实现精确均匀加种的同时,最大程度上降低了对种子的伤害,有效的保护了加种箱中的种子。
附图说明
图1是本发明的整体结构示意图;
图2是本发明的加种箱结构示意图;
图3是本发明的y型支架结构示意图。
具体实施方式
为了使本发明所实现的技术手段、创作特征、达成目的与功效易于明白了解,下面结合具体实施例和图示,进一步阐述本发明。
如图1所示,一种间歇式精量加种装置,包括机架1、加种箱2、动力装置3、控制装置4,所述的机架1包括可调垫铁11、底座12、y型支架13,所述的可调垫铁11为四个,通过螺纹连接在底座12上,用于使整个装置处于水平状态;所述的y型支架13通过螺栓连接在底座12上,其包括左托板131、右托板132,用于托住加种箱2;所述的加种箱2安放在y型支架13中;所述的动力装置3通过螺栓连接在底座12上,给装置提供运转的动力;所述的控制装置4通过螺栓连接在动力装置3中的电机支座34上,实现对装置中每个部件的准确控制。
如图1、图2、图3所示,所述的加种箱2包括后侧板21、左侧板22、右侧板23、前侧板24、落种机构25、转动盛种槽26、弹簧拨片27、压力感应器28、隔板29,所述的后侧板21按照顺序通过螺栓与左侧板22、右侧板23、前侧板24连接在一起形成一个矩形,用于盛放种子;所述的落种机构25通过螺栓连接在加种箱2内部,其包括落种板一251、落种板二252、落种板三253、电磁振动器254、挡板255、电磁铁256、门帘257、落种板四258、落种板五259,所述的落种板一251通过螺栓连接在左侧板22上,所述的落种板二252通过螺栓连接在右侧板23上,所述的落种板三253通过铰链连接在右侧板23上,所述的电磁振动器254通过螺栓连接在落种板一251上,所述的挡板255通过螺栓连接在落种板一251上,所述的电磁铁256一端通过铰链连接在右侧板23上另一端通过铰链连接在落种板三253上,所述的门帘257通过胶结连接在挡板255的下部,所述的落种板四258通过螺栓连接在左侧板22上,所述的落种板五259通过螺栓连接在右侧板23上,用于种子的滑落;所述的转动盛种槽26在加种箱2内部,位于落种机构25的正下方通过轴承安装在后侧板21和前侧板24上,用于接受通过落种机构25滑落的种子;所述的弹簧拨片27通过螺栓连接在左侧板22的底部;所述的压力感应器28通过胶结连接在弹簧拨片27的一端,用于实时监控转动盛种槽26中种子的重量;所述的隔板29按照一定的间隔通过胶结连接在落种板四258上,用于种子的有序滑落。
如图1所示,所述的动力装置3包括电机支座31、步进电机32、主动拨盘33、从动槽轮34,所述的电机支座31通过螺栓连接在底座12上,用于安装电机;所述的步进电机32通过螺栓连接在电机支座31上用于给整个装置提供所需动力;所述的主动拨盘33通过键连接在步进电机32的转轴上,通过固定螺栓进行轴向固定;所述的从动槽轮34通过键连接在转动盛种槽26的转轴上,通过固定螺栓进行轴向固定,二者组成槽轮机构,用于实现转动盛种槽26间歇转动。
在使用前向加种箱2中加入适量的种子,使用时通过控制装置4控制电磁铁256动作使落种板253逆时针旋转,此时电磁振动器254工作,通过使落种板一251振动加速种子下滑,滑出的种子通过落种板三253经过挡板255和门帘257的作用,掉入至转动盛种槽26中,当转动盛种槽26中的种子达到一定数量时,安装在弹簧拨片27上的压力感应器28传出信号,通过控制装置4使步进电机三31转动,通过主动拨盘32与从动槽轮33带动转动盛种槽26转动,使转动盛种槽26的种下落到加种箱2中,在转动盛种槽26转动时,通过控制装置4使电磁铁256失电,使落种板253复位种子不在下落,至此完成一次补种,重复上述过程直至完成预订量的加种。
技术研发人员:龚智强,陈佩树,常数数,梁三金
技术所有人:巢湖学院
备 注:该技术已申请专利,仅供学习研究,如用于商业用途,请联系技术所有人。
声 明 :此信息收集于网络,如果你是此专利的发明人不想本网站收录此信息请联系我们,我们会在第一时间删除
