一种清洗快捷的喂食装置的制作方法

本技术涉及喂食装置,尤其涉及一种清洗快捷的喂食装置。
背景技术:
1、养鸡场喂料机也称为蛋鸡自动喂料机该机的问世是专门解决养鸡场工人劳动强度大,针对中、小型鸡场设施布局不规范研制设计的,其结构独特、新颖实用、省时省力、喂料均匀、损耗少,采用蓄电池供电、直流电机带动、噪音小、操作方便、转向灵活、调头空间小、维修方便,同时可喂三至四层,喂料量可调。
2、公告号cn206043105u一种家禽喂食装置,包括支撑座,该支撑座的其中一侧壁上下并列设置有两组喂食槽,其中位于上方的喂食槽宽度是位于下方的喂食槽宽度的两倍,所述喂食槽顶部开口上设有挡板,且挡板的其中一端上前后并列设置有多组弧形缺口,所述支撑座内前后竖直设置有多组导料通道,且多组导料通道均与位于支撑座顶部的储存槽连通,所述导料通道内均设有筛网,且导料通道上还分别设有与两组喂食槽连通的分流通道。本实用新型解决了以往大小家禽同栏喂养时所产生的争食情况,并且通过筛选食物颗粒大小的方式,达到小家禽在吃到小颗粒食物后更容易消化的目的,该喂食装置虽然解决了在大小家禽混养,小家禽很难吃到食物或只能吃到残余食物的问题,但是该喂食装置采用一体式结构,不容易清洗,长时间不对食盆进行清洗便会滋生细菌,不利于家禽的健康,需加以改进。
技术实现思路
1、本实用新型的目的是为了解决上述背景技术中提出的技术问题。
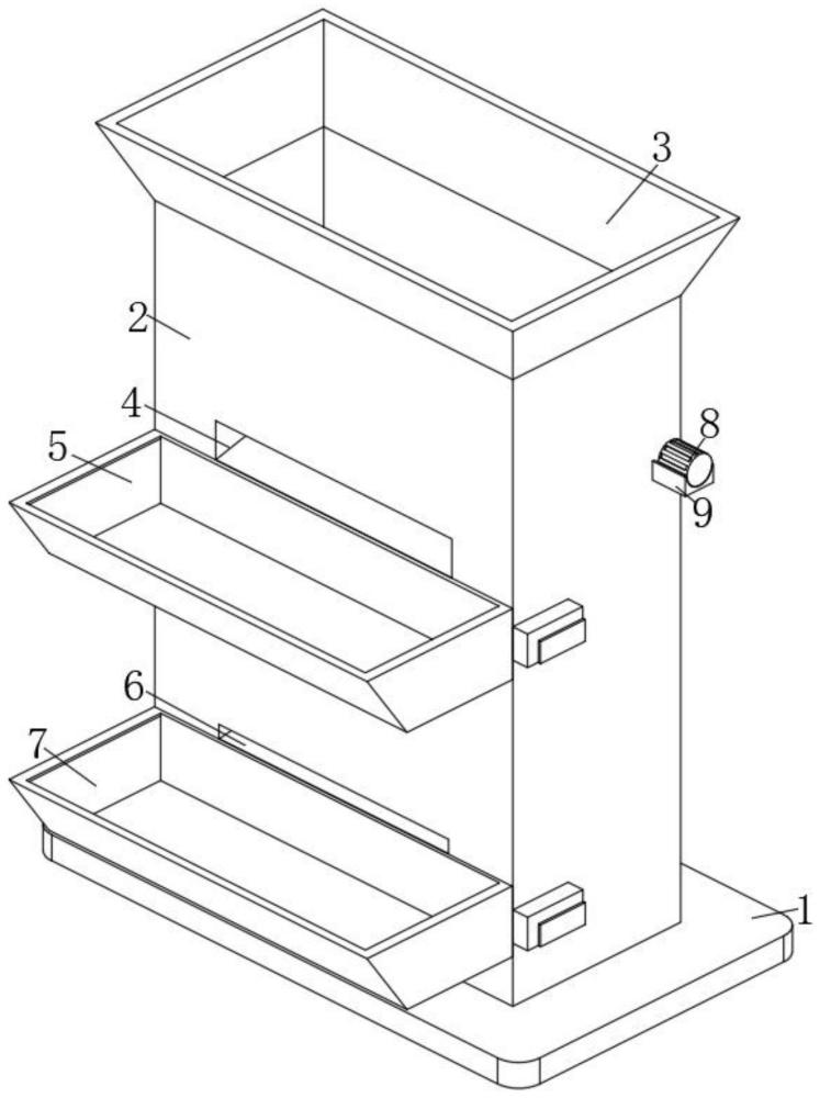
2、本实用新型采用了如下技术方案:一种清洗快捷的喂食装置,包括底板,所述底板的顶端固定安装有喂食机,所述喂食机远离底板的一端固定安装有进料口,所述喂食机的表面开设有出料口a和出料口b,所述喂食机的外表面位于出料口a和出料口b下方位置处安装有食槽a和食槽b,所述食槽a和食槽b靠近喂食机的一端均固定安装有固定块,所述固定块的内部固定安装有挡板,所述挡板与固定块之间固定安装有弹簧,所述挡板远离弹簧的一端固定安装有限位块,所述喂食机靠近固定块的一端开设有固定槽,所述喂食机的两侧均固定安装有限位盒,所述限位盒的表面贯穿设置有按板,所述底板的底端固定安装有防滑条。
3、较佳的,所述防滑条的材质为天然橡胶,所述防滑条均匀分布在底板的底端。此处,材质为天然橡胶的防滑条,防滑效果更好。
4、较佳的,所述固定块与固定槽之间滑动连接,所述挡板与固定块之间滑动连接。此处,可以将食槽与喂食机连接在一起。
5、较佳的,所述按板与限位盒之间滑动连接,所述限位块与限位盒之间滑动连接。此处,可以对食槽进行限位。
6、较佳的,所述喂食机的内部固定安装有过滤板,所述喂食机的一侧固定安装有电机,所述电机的输出端安装有螺纹杆,所述螺纹杆的表面套设有刮板。此处,在喂食时过滤板能过滤食物,使得小颗粒食物掉落到下食槽b内。
7、较佳的,所述喂食机靠近电机的一端固定安装有支撑板,所述电机与支撑板固定安装。此处,支撑板可以对电机提供支撑。
8、较佳的,所述刮板与螺纹杆之间螺纹连接。此处,刮板可以来回在过滤板表面刮动,防止大粒食物堵塞过滤板。
9、与现有技术相比,本实用新型的优点和积极效果在于:
10、1、本实用新型中,通过固定块、限位块、弹簧、挡板、固定槽、限位盒和按板的设置,当食槽a和食槽b需要清理时,只需要向内按动按板,限位块受到挤压向后按压弹簧离开限位盒,解除对固定块的限位,然后向外抽拉食槽a和食槽b即可将其拆卸,对其进行清理。
11、2、本实用新型中,通过电机、螺纹杆、刮板和过滤板的设置,在喂食时过滤板能过滤食物,使得小颗粒食物掉落到下食槽b内,从而使得小家禽吃到小颗粒食物后更容易消化,刮板可以来回在过滤板表面刮动,防止大粒食物堵塞过滤板。
技术特征:
1.一种清洗快捷的喂食装置,包括底板(1),其特征在于:所述底板(1)的顶端固定安装有喂食机(2),所述喂食机(2)远离底板(1)的一端固定安装有进料口(3),所述喂食机(2)的表面开设有出料口a(4)和出料口b(6),所述喂食机(2)的外表面位于出料口a(4)和出料口b(6)下方位置处安装有食槽a(5)和食槽b(7),所述食槽a(5)和食槽b(7)靠近喂食机(2)的一端均固定安装有固定块(11),所述固定块(11)的内部固定安装有挡板(16),所述挡板(16)与固定块(11)之间固定安装有弹簧(17),所述挡板(16)远离弹簧(17)的一端固定安装有限位块(12),所述喂食机(2)靠近固定块(11)的一端开设有固定槽(13),所述喂食机(2)的两侧均固定安装有限位盒(14),所述限位盒(14)的表面贯穿设置有按板(15),所述底板(1)的底端固定安装有防滑条(10)。
2.根据权利要求1所述的清洗快捷的喂食装置,其特征在于:所述防滑条(10)的材质为天然橡胶,所述防滑条(10)均匀分布在底板(1)的底端。
3.根据权利要求1所述的清洗快捷的喂食装置,其特征在于:所述固定块(11)与固定槽(13)之间滑动连接,所述挡板(16)与固定块(11)之间滑动连接。
4.根据权利要求1所述的清洗快捷的喂食装置,其特征在于:所述按板(15)与限位盒(14)之间滑动连接,所述限位块(12)与限位盒(14)之间滑动连接。
5.根据权利要求1所述的清洗快捷的喂食装置,其特征在于:所述喂食机(2)的内部固定安装有过滤板(20),所述喂食机(2)的一侧固定安装有电机(8),所述电机(8)的输出端安装有螺纹杆(18),所述螺纹杆(18)的表面套设有刮板(19)。
6.根据权利要求5所述的清洗快捷的喂食装置,其特征在于:所述喂食机(2)靠近电机(8)的一端固定安装有支撑板(9),所述电机(8)与支撑板(9)固定安装。
7.根据权利要求5所述的清洗快捷的喂食装置,其特征在于:所述刮板(19)与螺纹杆(18)之间螺纹连接。
技术总结
本技术提供一种清洗快捷的喂食装置,涉及喂食装置技术领域,包括底板,所述底板的顶端固定安装有喂食机,所述喂食机远离底板的一端固定安装有进料口,所述喂食机的表面开设有出料口A和出料口B,所述喂食机的外表面位于出料口A和出料口B下方位置处安装有食槽A和食槽B,所述食槽A和食槽B靠近喂食机的一端均固定安装有固定块,所述固定块的内部固定安装有挡板。本技术中,通过固定块、限位块、弹簧、挡板、固定槽、限位盒和按板的设置,当食槽A和食槽B需要清理时,只需要向内按动按板,限位块受到挤压向后按压弹簧离开限位盒,解除对固定块的限位,然后向外抽拉食槽A和食槽B即可将其拆卸,对其进行清理。
技术研发人员:周杰,华世鑫
受保护的技术使用者:杭州华杰禽业有限公司
技术研发日:20240122
技术公布日:2024/8/21
技术研发人员:周杰,华世鑫
技术所有人:杭州华杰禽业有限公司
备 注:该技术已申请专利,仅供学习研究,如用于商业用途,请联系技术所有人。
声 明 :此信息收集于网络,如果你是此专利的发明人不想本网站收录此信息请联系我们,我们会在第一时间删除
