一种新型加湿除湿一体设备的制作方法

本技术涉及新型加湿除湿一体设备领域,尤其涉及一种用于种植的新型加湿除湿一体设备。
背景技术:
1、近年来,随着室内种植的市场需求旺盛,对各室内种植的设备投入大幅增加。为了调节室内植物的空气环境,人们会选择性地对室内进行加湿或除湿。现有的加湿或除湿设备中,其功能都是单独的,只能加湿或除湿,需要购买两种设备,增加了成本,且过多占用室内空间。
技术实现思路
1、本实用新型的目的是提供一种新型加湿除湿一体设备。
2、为实现上述目的,采用以下技术方案:
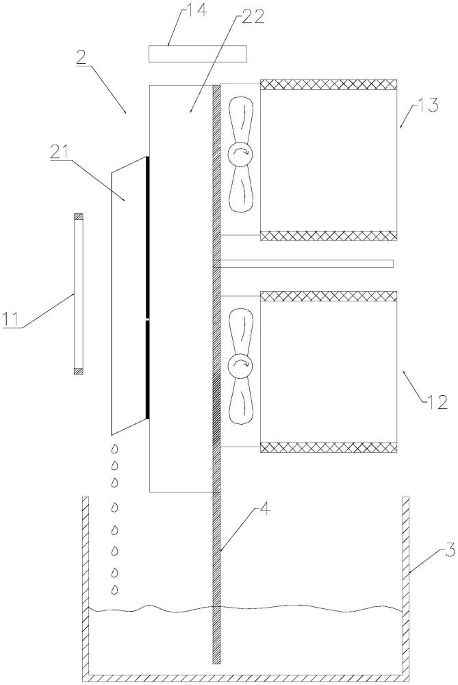
3、一种新型加湿除湿一体设备,包括外壳、一贯穿所述外壳的加湿除湿模组,所述加湿除湿模组包括用于使得空气水分冷凝的制冷组件和用于气化水加热组件,所述外壳上设置有围绕着所述制冷组件和所述加热组件的且与其连通的除湿进风口、除湿出风口、加湿进风口、加湿喷雾口,所述加湿除湿模组下方设置有用于承接所述制冷组件冷却水的水箱,所述加热组件与一引水材料接触,所述引水材料往下延伸至所述水箱中。
4、进一步的,所述外壳由第一壳体和第二壳体左右合抱组成,所述第一壳体和所述壳体将所述加湿除湿模组包围在其中。
5、进一步的,所述壳体底部设置有用于固定所述第一壳体和所述第二壳体的底壳。
6、进一步的,所述水箱上盖合有箱盖,所述箱盖上设置有承接所述制冷组件滴落的水珠的收集槽。
7、进一步的,所述制冷组件包括直接或间接接触的半导体制冷片和冷凝片,所述加热组件包括若干个加热翅片,所述加湿除湿模组还包括盒体、第一通风管、第二通风管,所述盒体设置有分别与所述除湿进风口、所述除湿出风口、所述加湿进风口、所述加湿喷雾口对应连通的第一开口、第二开口、第三开口和第四开口,所述加热翅片设置于所述盒体中,所述冷凝片设置于所述第一开口和所述除湿进风口之间,所述第一通风管分别连通于所述除湿出风口和所述第二开口,所述第二通风管分别连通于所述加湿进风口和所述第三开口。
8、进一步的,所述第一通风管和所述第二通风管与所述盒体的连接处均设置有用于引风的风扇。
9、进一步的,所述第四开口有若干个,其位于所述盒体顶部,所述加湿喷雾口位于所述外壳顶部,且所述加湿喷雾口处设置有第一过滤网,所述第一通风管和所述第二通风管与所述外壳连接的一端、所述除湿进风口处均设置有第二过滤网。
10、进一步的,所述外壳表面设置有与所述制冷组件和所述加热组件电性连接的控制模组,所述控制模组包括电路板、按键和显示屏。
11、进一步的,所述水箱中设置有随着水位改变高度位置的浮标和设置于所述浮标上的磁铁,所述外壳中设置有用于感应所述磁铁的霍尔传感器。
12、进一步的,所述外壳顶部设置有安装槽。
13、采用上述方案,本实用新型的有益效果是:
14、加湿除湿模组贯通外壳,可以在较大程度上实现高效率通风,提高了除湿时的空气通过量;将加湿和除湿集成一体,使用者可以选择性采用加湿或除湿功能,方便使用。
技术特征:
1.一种新型加湿除湿一体设备,其特征在于,包括外壳、一贯穿所述外壳的加湿除湿模组,所述加湿除湿模组包括用于使得空气水分冷凝的制冷组件和用于气化水加热组件,所述外壳上设置有围绕着所述制冷组件和所述加热组件的且与其连通的除湿进风口、除湿出风口、加湿进风口、加湿喷雾口,所述加湿除湿模组下方设置有用于承接所述制冷组件冷却水的水箱,所述加热组件与一引水材料接触,所述引水材料往下延伸至所述水箱中。
2.根据权利要求1所述的新型加湿除湿一体设备,其特征在于,所述外壳由第一壳体和第二壳体左右合抱组成,所述第一壳体和所述壳体将所述加湿除湿模组包围在其中。
3.根据权利要求2所述的新型加湿除湿一体设备,其特征在于,所述壳体底部设置有用于固定所述第一壳体和所述第二壳体的底壳。
4.根据权利要求1所述的新型加湿除湿一体设备,其特征在于,所述水箱上盖合有箱盖,所述箱盖上设置有承接所述制冷组件滴落的水珠的收集槽。
5.根据权利要求1所述的新型加湿除湿一体设备,其特征在于,所述制冷组件包括直接或间接接触的半导体制冷片和冷凝片,所述加热组件包括若干个加热翅片,所述加湿除湿模组还包括盒体、第一通风管、第二通风管,所述盒体设置有分别与所述除湿进风口、所述除湿出风口、所述加湿进风口、所述加湿喷雾口对应连通的第一开口、第二开口、第三开口和第四开口,所述加热翅片设置于所述盒体中,所述冷凝片设置于所述第一开口和所述除湿进风口之间,所述第一通风管分别连通于所述除湿出风口和所述第二开口,所述第二通风管分别连通于所述加湿进风口和所述第三开口。
6.根据权利要求5所述的新型加湿除湿一体设备,其特征在于,所述第一通风管和所述第二通风管与所述盒体的连接处均设置有用于引风的风扇。
7.根据权利要求5所述的新型加湿除湿一体设备,其特征在于,所述第四开口有若干个,其位于所述盒体顶部,所述加湿喷雾口位于所述外壳顶部,且所述加湿喷雾口处设置有第一过滤网,所述第一通风管和所述第二通风管与所述外壳连接的一端、所述除湿进风口处均设置有第二过滤网。
8.根据权利要求1所述的新型加湿除湿一体设备,其特征在于,所述外壳表面设置有与所述制冷组件和所述加热组件电性连接的控制模组,所述控制模组包括电路板、按键和显示屏。
9.根据权利要求1所述的新型加湿除湿一体设备,其特征在于,所述水箱中设置有随着水位改变高度位置的浮标和设置于所述浮标上的磁铁,所述外壳中设置有用于感应所述磁铁的霍尔传感器。
10.根据权利要求1所述的新型加湿除湿一体设备,其特征在于,所述外壳顶部设置有安装槽。
技术总结
本技术提供一种新型加湿除湿一体设备,包括外壳、一贯穿外壳的加湿除湿模组,加湿除湿模组包括用于使得空气水分冷凝的制冷组件和用于气化水加热组件,外壳上设置有围绕着制冷组件和加热组件的且与其连通的除湿进风口、除湿出风口、加湿进风口、加湿喷雾口,加湿除湿模组下方设置有用于承接制冷组件冷却水的水箱,加热组件与一引水材料接触,引水材料往下延伸至水箱中。本实用新的加湿除湿模组贯通外壳,可以在较大程度上实现高效率通风,提高了除湿时的空气通过量;将加湿和除湿集成一体,使用者可以选择性采用加湿或除湿功能,方便使用。
技术研发人员:刘日明,刘家铭
受保护的技术使用者:固强科技(深圳)有限公司
技术研发日:20231225
技术公布日:2024/9/2
技术研发人员:刘日明,刘家铭
技术所有人:固强科技(深圳)有限公司
备 注:该技术已申请专利,仅供学习研究,如用于商业用途,请联系技术所有人。
声 明 :此信息收集于网络,如果你是此专利的发明人不想本网站收录此信息请联系我们,我们会在第一时间删除
