一种农业种植用的培育设备的制作方法

本发明涉及育苗,特别涉及一种农业种植用的培育设备。
背景技术:
1、育苗穴盘,也称育苗盘,它已经成为工厂化种苗生产工艺中的一种重要器具,不论是花卉还是蔬菜,穴盘育苗是现代农业种植最根本的一项变革,为快捷和大批量生产提供了保证,制造穴盘的材料一般有聚苯泡沫、聚苯乙烯、聚氯乙烯和聚丙烯等。
2、在实现本申请过程中,发明人发现该技术中至少存在如下问题,现有育苗盘在使用过程中,由于土壤与其内壁粘在一起,也就需要使用工具将土壤与盘壁分离,从而将幼苗取出,但新生幼苗根系纤细,非常容易造成损伤,从而降低幼苗存活率,使幼苗取出困难,所以有很多人则是直接通过暴力破坏育苗盘后将其内部的培育土及幼苗取出,导致育苗盘不能回收利用而造成浪费。
技术实现思路
1、本发明的目的就是提供一种农业种植用的培育设备。
2、本发明的技术问题主要通过下述技术方案得以解决:
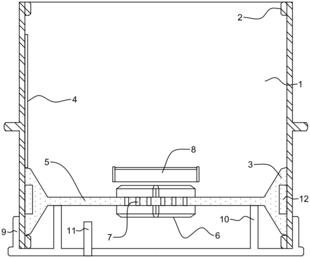
3、一种农业种植用的培育设备,包括两端敞开设置的不锈钢圆筒,其中圆筒内两端均设置有圆环,且两组圆环之间的圆筒内设置有环形座,所述环形座顶端竖直设置有与圆筒内壁相抵的刮杆,其中刮杆底端设置有与环形座端面上螺孔螺接的螺杆,所述环形座开口内还设置有支撑板,其中支撑板上下两端面的中间处均设置有十字架,且十字架夹角处的支撑板上均匀设置有漏水孔,所述支撑板顶部还扣有罩在对应十字架上的防护网罩,所述圆筒底部扣有帽状的盖体,其中盖体内底部设置有延伸至圆筒内与支撑板底端面相抵的圆管,且漏水孔位于圆管开口内的正上方处,所述盖体上设置有延伸至圆管内的溢流管。
4、优选地,所述圆筒外侧壁中间处外套有支撑环,其中支撑环与圆筒一体设置。
5、优选地,所述环形座截面呈等腰三角形,其中环形座外弧壁上环绕设置有一圈凹槽,且凹槽内设置有金属配重条。
6、优选地,所述十字架中间处设置有六边形卡槽。
7、优选地,所述圆环外侧壁设置有外螺纹,其中圆筒开口端处的内侧壁上设置有与外螺纹相适配的内螺纹,且圆环与圆筒螺纹连接。
8、优选地,所述防护网罩上扣有塑料编织网层。
9、优选地,所述环形座一端与其中一组圆环端面相抵,其中圆环端面上设置有手指槽。
10、本发明的有益效果是:本发明通过将培育土及幼苗种植在支撑板上方的圆筒内,其中当支撑板上方积累过多的水分或营养液后,水分或营养液经土壤缝隙流动到漏水孔处漏下以起到沥水作用,接着滴落在圆管内进行储存以防止其四溢而影响环境卫生,而当圆管内液位超限时通过溢流管渗出;同时可通过转动十字架、支撑板及环形座以带动刮杆在圆筒内壁上滑动的方式,进而将培育土团与支撑板之间的大部分粘结处分离,以将将培育土团与圆筒之间的粘结处分离,接着通过将圆筒扣在柱状的顶杆使其挤压支撑板带动环形座上移,进而将进过初步分离后的培育土团从圆筒内顶出,从而使得两者分离以便于取出,而在环形座进行上移的同时会对圆筒内壁粘附的培育土进行刮落清理工作。
技术特征:
1.一种农业种植用的培育设备,其特征在于:包括两端敞开设置的不锈钢圆筒,其中圆筒内两端均设置有圆环,且两组圆环之间的圆筒内设置有环形座,所述环形座顶端竖直设置有与圆筒内壁相抵的刮杆,其中刮杆底端设置有与环形座端面上螺孔螺接的螺杆,所述环形座开口内还设置有支撑板,其中支撑板上下两端面的中间处均设置有十字架,且十字架夹角处的支撑板上均匀设置有漏水孔,所述支撑板顶部还扣有罩在对应十字架上的防护网罩,所述圆筒底部扣有帽状的盖体,其中盖体内底部设置有延伸至圆筒内与支撑板底端面相抵的圆管,且漏水孔位于圆管开口内的正上方处,所述盖体上设置有延伸至圆管内的溢流管。
2.根据权利要求1所述的一种农业种植用的培育设备,其特征在于:所述圆筒外侧壁中间处外套有支撑环,其中支撑环与圆筒一体设置。
3.根据权利要求1所述的一种农业种植用的培育设备,其特征在于:所述环形座截面呈等腰三角形,其中环形座外弧壁上环绕设置有一圈凹槽,且凹槽内设置有金属配重条。
4.根据权利要求1所述的一种农业种植用的培育设备,其特征在于:所述十字架中间处设置有六边形卡槽。
5.根据权利要求1所述的一种农业种植用的培育设备,其特征在于:所述圆环外侧壁设置有外螺纹,其中圆筒开口端处的内侧壁上设置有与外螺纹相适配的内螺纹,且圆环与圆筒螺纹连接。
6.根据权利要求1所述的一种农业种植用的培育设备,其特征在于:所述防护网罩上扣有塑料编织网层。
7.根据权利要求1所述的一种农业种植用的培育设备,其特征在于:所述环形座一端与其中一组圆环端面相抵,其中圆环端面上设置有手指槽。
技术总结
本发明涉及一种农业种植用的培育设备,包括两端敞开设置的不锈钢圆筒,其中圆筒内两端均设置有圆环,且两组圆环之间的圆筒内设置有环形座,所述环形座顶端竖直设置有与圆筒内壁相抵的刮杆,其中刮杆底端设置有与环形座端面上螺孔螺接的螺杆,所述环形座开口内还设置有支撑板,其中支撑板上下两端面的中间处均设置有十字架,且十字架夹角处的支撑板上均匀设置有漏水孔,所述支撑板顶部还扣有罩在对应十字架上的防护网罩,所述圆筒底部扣有帽状的盖体,其中盖体内底部设置有延伸至圆筒内与支撑板底端面相抵的圆管,且漏水孔位于圆管开口内的正上方处,所述盖体上设置有延伸至圆管内的溢流管。本发明结构简单,使用方便。
技术研发人员:请求不公布姓名,请求不公布姓名,请求不公布姓名,请求不公布姓名,请求不公布姓名
受保护的技术使用者:刘宇眉
技术研发日:20231228
技术公布日:2024/9/2
技术研发人员:请求不公布姓名,请求不公布姓名,请求不公布姓名,请求不公布姓名,请求不公布姓名
技术所有人:刘宇眉
备 注:该技术已申请专利,仅供学习研究,如用于商业用途,请联系技术所有人。
声 明 :此信息收集于网络,如果你是此专利的发明人不想本网站收录此信息请联系我们,我们会在第一时间删除
