一种滩羊养殖用称重分流通道的制作方法

本技术涉及滩羊养殖,具体为一种滩羊养殖用称重分流通道。
背景技术:
1、滩羊是重要的经济物种,二毛皮是宁夏特有的皮裘制品,一般是指宁夏滩羊毛皮,滩羊每年可剪两次毛,是重要的经济来源之一,滩羊的产肉性能也较好,尤其生产二毛皮时期的羔羊肉更受群众欢迎。
2、滩羊在养殖的过程中需要定期对羊群进行称重,而称重后的羊群会根据重量的不同进行分流,使羊群被分到不同的养殖护栏内,让重量不同羊群可以获得不同的养殖方法,让经济效益得到有效提升,而现有的分流通道结构比较单一,在对羊群进行称重后,需要工作人员根据重量的不同,人工将滩羊进行分流分群,在羊群数量过多时,很容易出现失误的情况,而且在称重的过程中为了保证滩羊不乱跑,通常会在称重装置的前后均设置工作人员进行维护,导致整体的劳动强度过高,不利于羊群的快速称重分流工作,对此我们提出了一种滩羊养殖用称重分流通道来解决上述问题。
技术实现思路
1、(一)解决的技术问题
2、针对现有技术的不足,本实用新型提供了一种滩羊养殖用称重分流通道,具备了方便对滩羊进行称重后分流分群等优点,解决了现有称重分流通道在实际操作的过程中的劳动强度过高的问题。
3、(二)技术方案
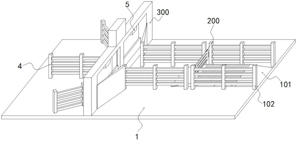
4、为实现上述方便对滩羊进行称重后分流分群的目的,本实用新型提供如下技术方案:一种滩羊养殖用称重分流通道,包括水泥地板,所述水泥地板的顶部固定安装有用于称重的称重装置主体,所述水泥地板的顶部固定安装有四个第一栅栏,所述水泥地板的顶部安装有用于防止滩羊乱跑的防羊组件,所述水泥地板的顶部安装有用于羊群分流的分流组件;
5、所述防羊组件包括固定连接在背面右侧第一栅栏左侧的固定箱,所述固定箱的内底壁固定安装有第一驱动机构,所述第一驱动机构的输出轴固定连接有主动轮,所述固定箱的内顶壁和内底壁之间转动连接有转杆,所述转杆的外侧固定连接有从动轮,所述转杆的外侧固定连接有固定块,所述固定块的正面固定连接有挡板;
6、所述分流组件包括固定连接在水泥地板顶部的分流板,所述分流板的右侧开设有两个分流孔,所述分流孔的内侧安装有电动开合门,所述分流孔的顶部固定安装有红外热感应器。
7、进一步的,左侧两个所述第一栅栏相背的一侧分别与分流板的右侧之间固定连接有填缝板,所述水泥地板的顶部固定安装有三个第二栅栏。
8、进一步的,所述分流孔的底部呈开口设置,所述电动开合门包括固定连接在水泥地板顶部的支撑块,所述分流板的顶部固定连接有安装箱,所述安装箱的底部呈开口设置,所述支撑块的顶部通过轴承转动连接有固定杆,所述固定杆的外侧固定连接有开合板,所述固定杆的外侧固定连接有从动锥齿轮,所述分流板的顶部固定安装有两个第二驱动机构,所述第二驱动机构的输出轴固定连接有主动锥齿轮。
9、进一步的,三个所述第二栅栏的右侧均与分流板的左侧固定连接,正面和背面第一个所述第二栅栏以正面第二个第二栅栏为中心呈前后对称分布。
10、进一步的,四个所述第一栅栏呈前后对称分布,所述称重装置主体位于正面和背面第一栅栏相对一侧之间,所述称重装置主体的左右两侧均固定连接有斜坡板,所述斜坡板的底部与水泥地板的顶部固定连接。
11、进一步的,所述固定箱的正面和左侧呈开口设置,所述主动轮的正面与从动轮的背面相互啮合,所述转杆的顶端和底端均通过轴承分别与固定箱的内顶壁和内底壁转动连接,所述挡板位于称重装置主体顶部的左侧。
12、进一步的,两个所述填缝板呈前后对称分布,两个所述填缝板靠近分流板的一侧分别位于两个分流孔相背的一侧。
13、进一步的,所述固定杆的顶端贯穿分流板的顶部并通过轴承与安装箱的内顶壁转动连接,所述开合板与同侧第一栅栏的位置相对应,两个所述主动锥齿轮相背的一侧分别与两个从动锥齿轮相对的一侧相互啮合。
14、(三)有益效果
15、与现有技术相比,本实用新型提供了一种滩羊养殖用称重分流通道,具备以下有益效果:
16、该滩羊养殖用称重分流通道,通过水泥地板顶部的称重装置主体、第一栅栏、防羊组件以及分流组件之间的配合使用,可以方便对滩羊进行称重后分流分群,极大地提升了羊群分流分群的便利性,从而节省了工作人员的劳动力,且可以防止称重完成的滩羊回退对后续的滩羊称重工作造成影响,还对滩羊的称重起到了一定的限位作用,不容易出现失误的情况,有利于快速进行羊群的称重分流工作,十分的实用。
技术特征:
1.一种滩羊养殖用称重分流通道,包括水泥地板(1),其特征在于:所述水泥地板(1)的顶部固定安装有用于称重的称重装置主体(101),所述水泥地板(1)的顶部固定安装有四个第一栅栏(102),所述水泥地板(1)的顶部安装有用于防止滩羊乱跑的防羊组件(200),所述水泥地板(1)的顶部安装有用于羊群分流的分流组件(300);
2.根据权利要求1所述的一种滩羊养殖用称重分流通道,其特征在于:左侧两个所述第一栅栏(102)相背的一侧分别与分流板(301)的右侧之间固定连接有填缝板(303),所述水泥地板(1)的顶部固定安装有三个第二栅栏(4)。
3.根据权利要求1所述的一种滩羊养殖用称重分流通道,其特征在于:所述分流孔(302)的底部呈开口设置,所述电动开合门(304)包括固定连接在水泥地板(1)顶部的支撑块(3041),所述分流板(301)的顶部固定连接有安装箱(3042),所述安装箱(3042)的底部呈开口设置,所述支撑块(3041)的顶部通过轴承转动连接有固定杆(3043),所述固定杆(3043)的外侧固定连接有开合板(3044),所述固定杆(3043)的外侧固定连接有从动锥齿轮(3045),所述分流板(301)的顶部固定安装有两个第二驱动机构(3046),所述第二驱动机构(3046)的输出轴固定连接有主动锥齿轮(3047)。
4.根据权利要求2所述的一种滩羊养殖用称重分流通道,其特征在于:三个所述第二栅栏(4)的右侧均与分流板(301)的左侧固定连接,正面和背面第一个所述第二栅栏(4)以正面第二个第二栅栏(4)为中心呈前后对称分布。
5.根据权利要求1所述的一种滩羊养殖用称重分流通道,其特征在于:四个所述第一栅栏(102)呈前后对称分布,所述称重装置主体(101)位于正面和背面第一栅栏(102)相对一侧之间,所述称重装置主体(101)的左右两侧均固定连接有斜坡板,所述斜坡板的底部与水泥地板(1)的顶部固定连接。
6.根据权利要求1所述的一种滩羊养殖用称重分流通道,其特征在于:所述固定箱(201)的正面和左侧呈开口设置,所述主动轮(203)的正面与从动轮(205)的背面相互啮合,所述转杆(204)的顶端和底端均通过轴承分别与固定箱(201)的内顶壁和内底壁转动连接,所述挡板(207)位于称重装置主体(101)顶部的左侧。
7.根据权利要求2所述的一种滩羊养殖用称重分流通道,其特征在于:两个所述填缝板(303)呈前后对称分布,两个所述填缝板(303)靠近分流板(301)的一侧分别位于两个分流孔(302)相背的一侧。
8.根据权利要求3所述的一种滩羊养殖用称重分流通道,其特征在于:所述固定杆(3043)的顶端贯穿分流板(301)的顶部并通过轴承与安装箱(3042)的内顶壁转动连接,所述开合板(3044)与同侧第一栅栏(102)的位置相对应,两个所述主动锥齿轮(3047)相背的一侧分别与两个从动锥齿轮(3045)相对的一侧相互啮合。
技术总结
本技术涉及滩羊养殖技术领域,且公开了一种滩羊养殖用称重分流通道,包括水泥地板,所述水泥地板的顶部固定安装有用于称重的称重装置主体,所述水泥地板的顶部固定安装有四个第一栅栏,所述水泥地板的顶部安装有用于防止滩羊乱跑的防羊组件,所述水泥地板的顶部安装有用于羊群分流的分流组件,所述防羊组件包括固定连接在背面右侧第一栅栏左侧的固定箱,所述固定箱的内底壁固定安装有第一驱动机构,所述第一驱动机构的输出轴固定连接有主动轮。该滩羊养殖用称重分流通道,可以方便对滩羊进行称重后分流分群,极大地提升了羊群分流分群的便利性,还对滩羊的称重起到了一定的限位作用,有利于快速进行羊群的称重分流工作。
技术研发人员:纪成军,杨纯玲,纪泽欣,杨凯燕,王学霞,段洪威,杨冲,杨瑞
受保护的技术使用者:宁夏宁羴源牛羊肉有限公司
技术研发日:20231225
技术公布日:2024/9/2
技术研发人员:纪成军,杨纯玲,纪泽欣,杨凯燕,王学霞,段洪威,杨冲,杨瑞
技术所有人:宁夏宁羴源牛羊肉有限公司
备 注:该技术已申请专利,仅供学习研究,如用于商业用途,请联系技术所有人。
声 明 :此信息收集于网络,如果你是此专利的发明人不想本网站收录此信息请联系我们,我们会在第一时间删除
