一种抽气饭盒的制作方法

本发明涉及一种抽气饭盒。
背景技术:
餐具是用于分发或摄取食物的器皿和用具,包括成套的金属器具、陶瓷餐具、茶具酒器、玻璃器皿、盘碟和托盘以及五花八门、用途各异的各种容器和手持用具,最常见的有筷子和勺子,用餐后,需要用到牙签、餐巾纸等用具,而现有技术中,往往将牙签、餐巾纸分开存放,使用起来十分的不便。
技术实现要素:
本发明的目的是提供一种抽气饭盒,所要解决的技术问题是:如何同时存放餐具、牙签和餐巾纸,充分保证餐具的卫生,便于携带,使用方便。
本发明解决上述技术问题的技术方案如下:一种抽气饭盒,包括有盒体,所述盒体内设置有放置饭菜的第一腔体,所述第一腔体的一侧并列设置有放置餐具的第二腔体和放置纸巾的第三腔体,所述盒体的侧壁上端设置有盒盖,所述盒体的侧壁与所述盒盖的边缘铰接,所述盒盖上对于所述第三腔体处设置有拿取纸巾的开口;所述盒盖对应所述第一腔体处的侧壁上设置有抽气筒。
进一步,所述盒体远离所述盒盖的一端侧壁上设置有可粘合所述盒盖的魔术贴。
本发明的有益效果是:通过第一腔体、第二腔体和第三腔体能同时存放饭菜、餐具和餐巾纸,提手使得饭盒便于携带,便于使用;抽气筒能将第一腔体内抽出空气,降低含氧量,保障第一腔体内的食物长时间保质。
附图说明
图1为本发明一种抽气饭盒的结构示意图。
附图中,各标号所代表的部件列表如下:
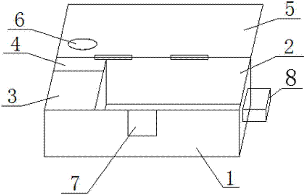
1、盒体,2、第一腔体,3、第二腔体,4、第三腔体,5、盒盖,6、开口,7、魔术贴,8、半导体制冷器。
具体实施方式
以下结合附图对本发明的原理和特征进行描述,所举实例只用于解释本发明,并非用于限定本发明的范围。
如图1所示,一种抽气饭盒,包括有盒体1,所述盒体1内设置有放置饭菜的第一腔体2,所述第一腔体2的一侧并列设置有放置餐具的第二腔体3和放置纸巾的第三腔体4,所述盒体1的侧壁上端设置有盒盖5,所述盒体1的侧壁与所述盒盖5的边缘铰接,所述盒盖5上对于所述第三腔体4处设置有拿取纸巾的开口6;所述盒盖5对应所述第一腔体2处的侧壁上设置有抽气筒8。
上述实施例中,所述盒体1远离所述盒盖5的一端侧壁上设置有可粘合所述盒盖5的魔术贴7。
通过第一腔体2、第二腔体3和第三腔体4能同时存放餐具、牙签和餐巾纸,提手使得盒体1便于携带,便于使用;抽气筒8能将第一腔体2内抽出空气,降低含氧量,保障第一腔体2内的食物长时间保质。
以上所述仅为本发明的较佳实施例,并不用以限制本发明,凡在本发明的精神和原则之内,所作的任何修改、等同替换、改进等,均应包含在本发明的保护范围之内。
技术特征:
技术总结
本发明涉及一种抽气饭盒,包括有盒体,所述盒体内设置有放置饭菜的第一腔体,所述第一腔体的一侧并列设置有放置餐具的第二腔体和放置纸巾的第三腔体,所述盒体的侧壁上端设置有盒盖,所述盒体的侧壁与所述盒盖的边缘铰接,所述盒盖上对于所述第三腔体处设置有拿取纸巾的开口;所述盒盖对应所述第一腔体处的侧壁上设置有抽气筒。相对现有技术,本发明能同时存放餐具、牙签和餐巾纸,便于携带,使用方便;抽气筒能将第一腔体内抽出空气,降低含氧量,保障第一腔体内的食物长时间保质。
技术研发人员:汪衡东
受保护的技术使用者:柳州市聚湖饮品有限责任公司
技术研发日:2017.06.05
技术公布日:2017.09.29
技术研发人员:汪衡东
技术所有人:柳州市聚湖饮品有限责任公司
备 注:该技术已申请专利,仅供学习研究,如用于商业用途,请联系技术所有人。
声 明 :此信息收集于网络,如果你是此专利的发明人不想本网站收录此信息请联系我们,我们会在第一时间删除
