首页  专利技术  服装,鞋;帽,珠宝,饰品制造的工具及其制品制作技术

一种改良结构的箱包拉杆的制作方法

2025-11-29 12:00:07 239次浏览
一种改良结构的箱包拉杆的制造方法与工艺

本实用新型属于箱包配件技术领域,涉及一种箱包拉杆件,特别是一种改良结构的箱包拉杆。



背景技术:

为了箱包拖行更加方便省力,人们发明了拉杆,安装在行李箱上,在外出时人们可以拖着或者提着行李箱。现有的拉杆的锁紧结构大多通过内置于伸缩杆内的联动件进行,但是当拉杆在频繁抽拉后,联动件极易损坏,而影响拉杆的抽拉及定位效果。



技术实现要素:

本实用新型的目的是针对现有的技术存在上述问题,提出了一种改良结构的箱包拉杆,它所要解决的技术问题是如何使得拉杆的定位结构更加耐用,不易损坏。

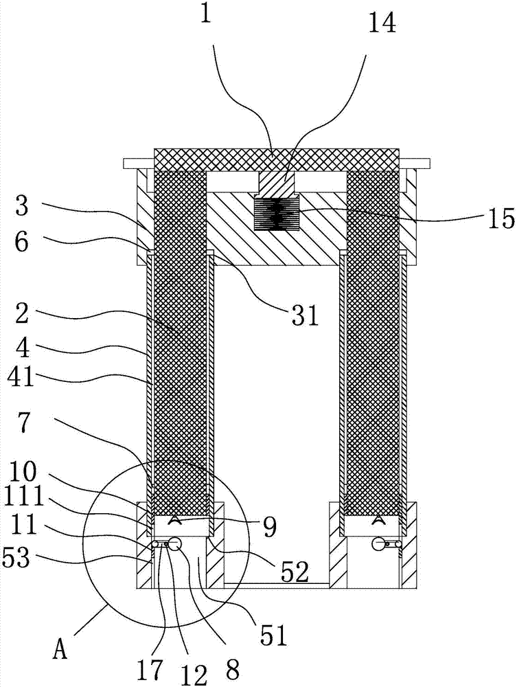
本实用新型的目的可通过下列技术方案来实现:一种改良结构的箱包拉杆,包括把手、伸缩杆、把手座、支撑管和尾座,所述伸缩杆与把手相固连,其特征在于,所述把手座的底面具有竖直贯穿把手座的通孔,所述通孔包括供伸缩杆上下升降的上孔部和用于固连支撑管顶端的下孔部,所述下孔部的尺寸大于上孔部的尺寸,且下孔部和上孔部之间的连接处设置有制为圆环状的第一磁块,所述伸缩杆滑动连接在把手座及支撑管内,且伸缩杆上设置有能吸附在第一磁块上的第二磁块,所述支撑管的底端固连在尾座内,所述尾座内具有第三磁块,所述伸缩杆的底端具有能够吸附在第三磁块上的第四磁块。

本箱包拉杆在抽出状态时,通过第二磁块和第一磁块进行吸附,以避免晃动;在收纳状态时,通过第四磁块和第三磁块进行吸附,从而避免脱出;本箱包拉杆采用的第一磁块、第二磁块、第三磁块和第四磁块均为永久磁铁,不易损坏,使用寿命长。

在上述的改良结构的箱包拉杆中,所述第二磁块制为圆环状,且第二磁块套设在伸缩杆上。

在上述的改良结构的箱包拉杆中,所述支撑管的内壁面上具有沿着支撑管长度方向设置的滑槽,所述伸缩杆通过滑块滑动连接在滑槽内,所述第二磁块设置在滑块的顶面上。

在上述的改良结构的箱包拉杆中,所述滑块具有向下延伸并超出伸缩杆底端端面的定位片,所述定位片上具有沿着伸缩杆的长度方向设置的定位槽,所述尾座的定位腔内通过转轴和扭簧转动连接有定位杆,所述转轴穿插在定位杆的中部,所述第三磁块固连在定位杆的一端,所述定位杆的另一端与定位槽相匹配。

在上述的改良结构的箱包拉杆中,所述把手座制为中空结构,且把手座的顶面开设有按键孔,所述按键孔内滑动连接有一按钮,所述按钮底面与把手座的内腔底面之间设置有复位弹簧,当把手的底面抵靠在按钮的顶面上,且复位弹簧未压缩时,第四磁块和第三磁块之间具有间距。

在上述的改良结构的箱包拉杆中,所述第三磁块为嵌装在定位杆端部的圆形磁块,所述第四磁块为半圆环磁块,所述第四磁块和第三磁块的半径尺寸相一致。第三磁块在定位杆转动过程中,会在第四磁块的圆环内转动,在第三磁块的位移过程中,第四磁块与第三磁体的接触面的磁性发生变化,从而使得第四磁块由第三磁块上脱离。

在上述的改良结构的箱包拉杆中,所述第四磁块通过铰接座铰接在伸缩杆的底端。第四磁块能够随着定位杆的转动而带动铰接座转动,使得第四磁块能够更好地适应第三磁块的位置变化,

在上述的改良结构的箱包拉杆中,所述支撑管的底端插接在尾座上,所述定位腔位于支撑管的下方,定位腔的内壁面具有避免伸缩杆过度下移的凸沿,且凸沿上开设有供定位片上下移动的凹槽。凹槽能够对定位片进行限位,能够进一步保证伸缩杆在收纳状态下的稳定性。

与现有技术相比,本拉杆通过磁铁进行伸缩杆的锁紧和解锁,结构简单,操作方便,而且磁铁不易损坏,使用寿命长。

附图说明

图1是本拉杆的收纳状态结构示意图。

图2是图1中的A处放大图。

图3是本拉杆的把手座的截面结构示意图。

图4是本拉杆的伸缩杆拉出后的结构示意图。

图5是图4中B处放大图。

图中,1、把手;2、伸缩杆;3、把手座;31、通孔;311、上孔部;312、下孔部;32、按键孔;4、支撑管;41、滑槽;5、尾座;51、定位腔;52、凸沿;53、凹槽;6、第一磁块;7、第二磁块;8、第三磁块;9、第四磁块;10、滑块;11、定位片;111、定位槽;12、扭簧;13、转轴;14、按钮;15、复位弹簧;16、铰接座;17、定位杆。

具体实施方式

以下是本实用新型的具体实施例并结合附图,对本实用新型的技术方案作进一步的描述,但本实用新型并不限于这些实施例。

参照图1、图3和图4,本实施例为一种改良结构的箱包拉杆,包括把手1、伸缩杆2、把手座3、支撑管4和尾座5,伸缩杆2与把手1相固连,把手座3的底面具有竖直贯穿把手座3的通孔31,通孔31包括供伸缩杆2上下升降的上孔部311和用于固连支撑管4顶端的下孔部312,下孔部312的尺寸大于上孔部311的尺寸,且下孔部312和上孔部311之间的连接处设置有制为圆环状的第一磁块6,伸缩杆2滑动连接在把手座3及支撑管4内,且伸缩杆2上设置有能吸附在第一磁块6上的第二磁块7,支撑管4的底端固连在尾座5内,尾座5内具有第三磁块8,伸缩杆2的底端具有能够吸附在第三磁块8上的第四磁块9。支撑管4的内壁面上具有沿着支撑管4长度方向设置的滑槽41,伸缩杆2通过滑块10滑动连接在滑槽41内。本实施例中的第二磁块7制为圆环状,第二磁块7套设在伸缩杆2上,且第二磁块7固连在滑块10的顶面上。

把手座3位于两个通孔31中间的部位制为中空结构,把手座3的顶面开设有按键孔32,按键孔32内滑动连接有一按钮14,按钮14底面与把手座3的内腔底面之间设置有复位弹簧15,当把手1的底面抵靠在按钮14的顶面上。

结合图1、图2、图4和图5,支撑管4的底端插接在尾座5上,尾座5具有位于支撑管4下方的定位腔51,定位腔51的内壁面具有避免伸缩杆2过度下移的凸沿52,滑块10具有向下延伸并超出伸缩杆2底端端面的定位片11,定位片11上具有沿着伸缩杆2的长度方向设置的定位槽111,凸沿52上开设有供定位片11上下移动的凹槽53。尾座5的定位腔51内通过转轴13和扭簧12转动连接有定位杆17,转轴13穿插在定位杆17的中部,第三磁块8固连在定位杆17的一端,定位杆17的另一端与定位槽111相匹配。第三磁块8为嵌装在定位杆17端部的圆形磁块,第四磁块9为半圆环磁块,第四磁块9和第三磁块8的半径尺寸相一致。本实施例中,当复位弹簧15未压缩时,第四磁块9和第三磁块8之间具有间距。

本实施例的使用方法如下:

1、按压把手1并迫使按钮14缩回至把手座3内,同时伸缩杆2下降并使得第四磁块9吸附到第三磁块8上,此时,复位弹簧15压缩到底,且定位槽111的顶壁抵靠在定位杆17的定位端顶面上;

2、向上拉出把手1和伸缩杆2,由于定位槽111为长条状槽,定位杆17在第四磁块9和第三磁块8的磁力吸附作用绕着转轴13转动并使得定位端脱出定位槽111;

3、继续向上拉出把手1和伸缩杆2,当伸缩杆2拉出到位后,第二磁块7吸附在第一磁块6上,实现定位;

4、使用完毕后,用力向下按压把手1和伸缩杆2,即可使得第二磁块7脱离第一磁块6,并对伸缩杆2进行收纳;

5、伸缩杆2收缩时,定位片11向下挤压定位杆17,定位杆17转动之后在扭簧12的作用下转动到定位槽111内,松开把手后1后,定位杆17在扭簧12及复位弹簧15的作用下复位,同时第四磁块9和第三磁块8相脱离。

本文中所描述的具体实施例仅仅是对本实用新型精神作举例说明。本实用新型所属技术领域的技术人员可以对所描述的具体实施例做各种各样的修改或补充或采用类似的方式替代,但并不会偏离本实用新型的精神或者超越所附权利要求书所定义的范围。

文档序号 : 【 11164724 】

技术研发人员:陈崇雷
技术所有人:浙江辰珂西传动机械有限公司

备 注:该技术已申请专利,仅供学习研究,如用于商业用途,请联系技术所有人。
声 明此信息收集于网络,如果你是此专利的发明人不想本网站收录此信息请联系我们,我们会在第一时间删除
陈崇雷浙江辰珂西传动机械有限公司
一种生物磁性保健长袜的制作方法 返回列表
相关内容