一种多功能舒适性运动鞋底的制作方法

本发明属于功能型运动鞋底领域,尤其涉及一种多功能舒适性运动鞋底。
背景技术:
运动鞋时根据人们参加运动的特点设计制造的,高烈度的体能运动必然导致脚底出汗严重,从而整个鞋腔都闷热潮湿,造成脚感不适,且运动持久容易得脚类疾病。另外,剧烈运动时运动鞋减震性能不够好,容易引起足部疲劳甚至扭伤脚踝。因此,运动鞋更注重的性能主要集中在透气性和减震性,市场上的现有鞋子一般通过网格鞋帮面实现增强鞋子的透气性,虽然能起到一定的透气性,但是脚部是从脚底开始出汗,所以鞋底透气性显得尤为重要,然而现有运动鞋鞋底只在减震回弹性上进行较大改造,透气性普遍不佳,另外有鉴于此,本申请人针对现有鞋底的结构缺陷深入研究,遂有本案产生。
针对上述问题,本申请人针对现有技术中的上述缺陷深入研究,遂有本案产生。
技术实现要素:
本发明的目的在于提供一种多功能舒适性运动鞋底,具具有优异的透气性能,通过该鞋底快速干燥鞋内腔,并能在受力点较大的部位起减震效果。
本发明是这样实现的:
提供一种多功能舒适性运动鞋底,其中,具有鞋底本体、设在鞋底本体大脚趾关节部位的减震柱、盖设在鞋底本体脚趾部位的第一透气垫以及密封盖设在鞋底本体脚后跟部位的第二透气垫,所述鞋底本体分别在脚趾部位和脚后跟部位设有第一容腔和第二容腔,第一容腔的左右两侧设有透气口,该第一容腔和第二容腔分别设有若干个第一透气立柱和若干个透气外管,该第一透气立柱上端设有梯形状凹槽,该透气外管内部的下端固定连接弹性气囊,该弹性气囊的开口朝上设置;
所述第一透气垫下表面匹配梯形状凹槽凸设梯形状凸起,该梯形状凸起的中部设有上下贯通的透气孔,该第二透气垫下表面设有第二透气立柱,该第二透气立柱的中部对应透气外管设有上下贯通的透气内管,透气内管插设于透气外管内,自然状态时弹性气囊不受挤压,受力时透气内管下端挤压弹性气囊;
所述减震柱包括沿鞋底本体上下方向延伸的竖向柱和沿鞋底本体前后方向延伸的横向柱,该竖向柱的上端和下端分别抵接鞋底本体的上表面和防滑球的上表面,该横向柱沿竖向柱上下方向等间隔排列,所述竖向柱和横向柱与减震柱槽留有间隙。
进一步地,所述若干个第一透气立柱设置至少两列且沿鞋底本体的前后方向排列;所述若干个透气外管设置至少四列且沿鞋底本体的前后方向排列。
进一步地,所述减震柱总共有六个,其中五个减震柱围绕剩下一个减震柱的周边设置。
进一步地,所述鞋底本体采用橡胶材料注塑成型,所述第一透气立柱和透气外管采用硬质tpu材料注塑成型,所述减震柱、第一透气垫和第二透气垫采用软质tpu材料注塑成型。
进一步地,所述鞋底本体的下表面还凸设有若干个五角防滑件,该五角防滑件以其中一条对角线为平分线将五角防滑件的下表面均分为第一触面和第二触面,该第一触面的水平高度低于第二触面的水平高度。
进一步地,所述若干个五角防滑件分别沿鞋底本体左右方向和前后方向依次排列形成直线状的多行多列,各五角防滑件的平分线指向鞋底本体的左右方向,并且各五角防滑件的第一触面设在所述平分线的上侧或者下侧。
进一步地,所述鞋底本体分作内踝区和外踝区,分布在外踝区的多列五角防滑件的列间距大于分布在内踝区的多列五角防滑件的列间距,并且内踝区的足弓部不排列五角防滑件。
进一步地,所述五角防滑件采用橡胶材料制作,第二触面的硬度大于鞋底本体的硬度,鞋底本体的硬度大于第一触面的硬度。
采用上述技术方案后,本发明涉及一种多功能舒适性运动鞋底,与现有技术相比,有益效果在于:本发明脚趾部位和脚后跟部位设置第一容腔和第二容腔,该第一容腔左右两侧设有透气口,通过透气口能与外界通气,在第一容腔设有第一透气立柱,抬脚时梯形状凸起与梯形状凹槽之间存有间隙,利用该间隙、梯形状凸起的透气孔以及透气口形成一个空气流通通道,使得鞋底内部可直接与外界通气,达到快速风干脚趾部位汗液的效果,踩踏时第一鞋垫受力向下沉,使得梯形状凸起堵住梯形状凹槽,此时,空气通道就被阻断,进而起到防水作用。
此外,在第二容腔内设有透气外管,踩踏时弹性气囊收到透气内管挤压出气,即使第一容腔无法透气,通过弹性气囊对鞋底内部的补气,可加快鞋底内部的空气流通,抬脚时弹性气囊吸气收缩,此时,吸入从第一容腔内进入的空气,吸气过程既能让第一容腔传来的气体传到第二容腔,使得整个鞋底都充满流通空气,并且吸气过程带动空气流速,有利于加快空气流通。综上,本发明通过第一容腔和第二容腔的有机配合,将鞋底运用在运动鞋上,让运动鞋内腔时刻保持有流通空气,从而鞋腔内不易闷热,可保持干爽的脚感。最后,在受力最大的大脚趾关节部位的设置减震柱实现减震效果。
附图说明
图1为本发明的鞋底本体的结构示意图;
图2为本发明的第一透气垫与第一透气立柱连接示意图;
图3为本发明的第二透气垫的结构示意图;
图4为第二透气立柱和透气外管连接示意图;
图5为本发明的底面的结构示意图;
图6为减震柱的结构示意图;
图7为图5中a部分的局部放大示意图。
附图标记说明:
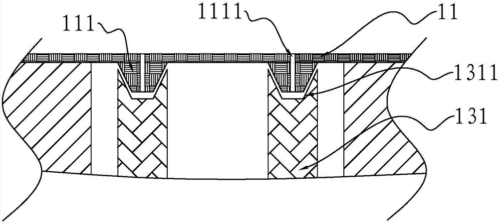
11、第一透气垫,111、梯形状凸起,1111、透气孔;
12、第二透气垫,121、第二透气立柱,1211、透气内管;
13、第一容腔,131、第一透气立柱,1311、梯形状凹槽,132、透气口;
14、第二容腔,141、透气外管、1411、弹性气囊;
24、减震柱,241、竖向柱,242、横向柱;
25、减震柱槽;
31、五角防滑件,311、第一触面,312、第二触面。
具体实施方式
为详细说明本发明的技术内容、构造特征、所实现目的及效果,以下结合实施方式并配合附图详予说明。图中坐标x、y、z分别表示鞋底本体的前后方向、左右方向以及上下方向。
参照图1所示,本发明提供一种多功能舒适性运动鞋底,其中,具有鞋底本体、密封盖设在鞋底本体脚趾部位的第一透气垫11以及密封盖设在鞋底本体脚后跟部位的第二透气垫12,密封盖设具体可采用强力黏合剂黏合等等,透气垫表面有一层透气的无纺布层,鞋腔通过无纺布层与鞋底通气。所述鞋底本体分别在脚趾部位和脚后跟部位设有第一容腔13和第二容腔14,第一容腔13的左右两侧设有透气口132,鞋底本体通过该透气口132与外界通气。
该第一容腔13和第二容腔14分别设有若干个第一透气立柱131和若干个透气外管141,优选地,所述若干个第一透气立柱131设置至少两列且沿鞋底本体的前后方向排列,所述若干个透气外管141设置至少四列且沿鞋底本体的前后方向排列,每一列第一透气立柱131和透气外管141均等间隔排列。
如图2所示,该第一透气立柱131上端设有梯形状凹槽1311,所述第一透气垫11下表面匹配梯形状凹槽1311凸设梯形状凸起111,梯形状凹槽1311与梯形凸起能完全嵌合,该梯形状凸起111的中部设有上下贯通的透气孔1111,抬脚时梯形状凸起111与梯形状凹槽1311之间存有间隙,利用该间隙、梯形状凸起111的透气孔1111以及第一容腔13左右两侧透气口132即可形成一个空气流通通道,使得鞋底上部可直接与外界通气,达到快速风干脚趾部位汗液的效果,踩踏时第一鞋垫受力向下沉,使得梯形状凸起111堵住梯形状凹槽1311,此时,空气通道就被阻断,进而起到防水作用。
如图3、4所示,该透气外管141内部的下端固定连接弹性气囊1411,该弹性气囊1411的开口朝上设置,该第二透气垫12下表面设有第二透气立柱121,该第二透气立柱121的中部对应透气外管141设有上下贯通的透气内管1211,透气内管1211插设于透气外管141内,透气内管1211的长度要与弹性气囊1411的直径,第一透气垫11不受力时透气内管1211的下端只能刚好抵触弹性气囊1411的上表面,即自然状态时弹性气囊1411不受挤压,受力时透气内管1211下端挤压弹性气囊1411。
踩踏时脚后跟受力后弹性气囊1411受到透气内管1211的挤压后出气,即使第一容腔13无法透气,通过弹性气囊1411对鞋底内部的补气,可加快鞋底内部的空气流通,抬脚时脚后跟不受力弹性气囊1411不受挤压后会吸气收缩,此时,吸入从第一容腔13内进入的空气,吸气过程既能让第一容腔13传来的气体传到第二容腔14,使得整个鞋底都充满流通空气,并且吸气过程加快了空气流速,有利于加快空气流通。综上,本发明通过第一容腔13和第二容腔14的有机配合,将鞋底运用在运动鞋上,让运动鞋内腔时刻保持有流通的空气,从而鞋腔内不易闷热,可保持干爽的脚感。
在大拇指关节部位受力比较大且容易扭伤,如图6所示,所述鞋垫本体还包括设在鞋底本体大脚趾关节部位的减震柱24,所述减震柱24包括沿鞋底本体上下方向延伸的竖向柱241和沿鞋底本体前后方向延伸的横向柱242,该竖向柱241的上端和下端分别抵接鞋底本体的上表面和下表面,竖向柱241的上端呈倒三角形结构,利于将足部压力最大限度传导给竖向柱241,同时防滑球3的球形结构也具有受力分散均匀的特点,一方面能将足部压力扩散,另一方面能将地面的反冲力集中向竖向柱241传导。
该横向柱242沿竖向柱241上下方向等间隔排列,类似丰字结构,即相邻两个横向柱242之间有鞋底本体支撑,所述竖向柱241和横向柱242与减震柱槽25留有间隙以提供减震柱弹簧变空间,如此,鞋底本体受到踩踏力时,横向柱242在受力后会向向下收缩形变,由于每一横向柱242的下表面都有鞋底本体支撑,因此不仅不会持续向下变形,反而有一个鞋底本体对横向柱242产生一个向上的支撑力,该向上支撑力和从防滑球3传来的地面反作用力共同形成推动人体前进的动力,综上,本发明兼具减震性能和支撑性能,不易变形,耐用。
作为本发明的另一优选方案,如图5、7所示,所述鞋底本体的下表面还凸设有若干个五角防滑件31,具体呈正五角星的形状,该五角防滑件31以其中一条对角线为平分线将五角防滑件31的下表面均分为第一触面311和第二触面312,该第一触面311的水平高度低于第二触面312的水平高度,如此踩踏到水面时,第一触面311先着地,此时,水从第一触面311和第二触面312存在的高度差间隙流过,即整个水面被五角防滑件31隔开,从而破坏了水的成型流体膜,达到防滑作用。
更优选地,所述若干个五角防滑件31分别沿鞋底本体左右方向和前后方向依次排列形成直线状的多行多列,即五角防滑件31沿鞋底本体左右方向和前后方向一一对齐排列,各五角防滑件31的平分线指向鞋底本体的左右方向,并且各五角防滑件31的第一触面311设在所述平分线的上侧或者下侧,即保证所有的五角防滑件31全部在平分线的同一侧,如此,多个高度比较高的第二触面312在鞋底本体的左右方向形成多条流水通道,使得流向第二触面312的水能顺势通过流水通道从鞋底本体的左右两侧排出。另外,第二触面312的高度比较高也就是厚度比较小,且第二触面312比第一触面311比较高,第一触面311的侧壁有部分没有与第一触面311的侧壁相互支撑,从而更易变形,因此由第二触面312形成的流水通道实际上更加容易弯折,从而让鞋底保持柔软性和延展性,提高鞋底穿着舒适度。
由于脚部运动时内踝受力大于外踝受力,更优选地,如图5所示,所述鞋底本体分作内踝区和外踝区,分布在外踝区的多列五角防滑件31的列间距大于分布在内踝区的多列五角防滑件31的列间距,并且内踝区的足弓部不排列五角防滑件31,如此,五角防滑件31在内踝区排列更加密集,在外踝区排列更松疏,使得内踝区比外踝区的摩擦力更强,以适应鞋底本体内外踝的受力特点。
制作本发明可有md、tpu、橡胶、eva等多种材料可供选择,为了更好地实现上述效果,tpu材料耐磨、承载能力强,硬度范围广,所述鞋底本体采用橡胶材料注塑成型,所述第一透气立柱131和透气外管141采用硬质tpu材料注塑成型,所述减震柱24、第一透气垫11和第二透气垫12采用软质tpu材料注塑成型,硬质tpu材料的硬度大于橡胶材料的硬度,橡胶材料的硬度大于软质tpu材料的硬度。
具体地,减震柱的硬度小于鞋底本体的硬度,如此鞋底本体硬度大可增强承载能力和保形能力,配合减震柱,可兼顾减震性能,尤其是减震柱在弹变过程中有鞋底本体的支撑下保形更持久。
此外,第一透气立柱131和透气外管141硬度大于鞋底本体有利于保形,第一透气垫11和第二透气垫12的硬度也比鞋底本体的硬度小既能保持鞋底本体的稳固性,同时在脚趾部位和脚后跟部位保持柔软舒适感。
最后,所述五角防滑件采用橡胶材料制作,橡胶材料耐磨防滑,所述五角防滑件采用橡胶材料制作,第二触面的硬度大于鞋底本体的硬度,鞋底本体的硬度大于第一触面的硬度,如此,弯折时第一触面更易变形,第二触面为整个鞋底提供支撑性,从而鞋底有效兼顾弯折性和支撑性能。
以上所述仅为本发明的实施例,并非因此限制本发明的专利保护范围,凡是利用本发明说明书及附图内容所作的等效结构或等效流程变换,或直接或间接运用在其他相关的技术领域,均同理包括在本发明的专利保护范围内。
技术研发人员:刘昭霞,彭飘林
技术所有人:黎明职业大学
备 注:该技术已申请专利,仅供学习研究,如用于商业用途,请联系技术所有人。
声 明 :此信息收集于网络,如果你是此专利的发明人不想本网站收录此信息请联系我们,我们会在第一时间删除
