一种发热文胸的制作方法

本发明涉及文胸技术领域,尤其涉及一种发热文胸。
背景技术:
很多刚成为母亲的女性在结束哺乳期的一个星期内会出现奶水涨到的现象;所以成为母亲女性会选择到中药店购买一些减少奶水的药方进行服用。虽然服用药方后涨奶现在就很快消失,但是绝大多数人服用过后发现在下一胎婴儿来临后,哺乳期的奶水会出现不足的情况。但是如果不服用药物进行治疗,让涨奶现象自然消失,在自然消失的这段时间会疼到你晚上没法入睡。
技术实现要素:
本发明的目的在于克服以上的不足和缺陷,本申请提供可缓解女性在结束哺乳期的这段时间内的疼动感的一种发热文胸。
为达此目的,本发明采用以下技术方案:
一种发热文胸,包括两胸杯、两肩带、两胸围带和连接带;所述胸杯的底部与所述胸围带的内侧连接;两所述胸围带的内侧通过所述连接带连接;所述肩带的一端与所述胸杯的上端部连接,另一端与所述胸围带的上端部连接;
所述胸杯从外向内包括发热层和面料层;所述发热层由料袋和发热剂构成;所述发热剂被所述料袋包裹;所述料袋由隔水布料和透气布料构成;与所述面料层接触的一面为隔水布料;与所述隔水布料相对的一面为透气布料;所述料袋的其余面为隔水布料;所述透气布料上覆盖不透气的薄膜;所述面料层包括a面料层和b面料层;所述b面料层包括第一隔水薄膜层、吸水布料层和第二隔水薄膜层;所述第二隔水薄膜层上设有容纳乳头的开孔;所述料袋可拆卸安装于所述a面料层。
优选的,所述发热剂的制备原料按重量分数由以下组分:铁粉60-70份、活性炭9-12份、盐7-10份、蛭石10-15份、吸水性树脂4-8份、水15-20份和硅藻土6-10份。
优选的,所述a面料层上设在有卡扣,所述料袋上设置有与所述卡扣相配合的扣钮。
优选的,所述料袋上设置有可打开的开口,所述开口通过拉链控制打开或关闭。
优选的,所述a面料层由无纺布或棉料制作而成。
优选的,所述b面料层可拆卸连接于所述a面料层。
优选的,所述开孔的边沿由塑料圈支撑。
本发明通过使用具有发热层的文胸,文胸穿于身上,胸杯刚好罩住乳房,涨奶的乳房在发热层的作用下会使奶水融化,从而快速有效地缓解了因涨奶而引起的疼痛,而且使用方便。
附图说明
图1是本发明一个没有发热层的具体实施例的结构示意图;
图2是本发明的胸杯的剖视示意图。
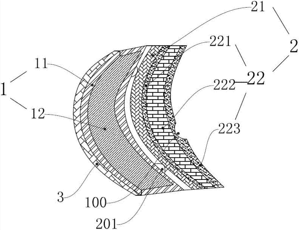
其中:1为发热层,2为面料层,3为不透气薄膜,11为料袋,12为发热剂,20为肩带,30为胸围带,40为连接带,100为开孔,200为卡扣,201为扣钮,221为第一隔水薄膜层,222为吸水布料层,223为第二隔水薄膜层。
具体实施方式
实施例1
如图1和图2所示,一种发热文胸,包括两胸杯、两肩带20、两胸围带30和连接带40;所述胸杯的底部与所述胸围带30的内侧连接;两所述胸围带30的内侧通过所述连接带40连接;所述肩带20的一端与所述胸杯的上端部连接,另一端与所述胸围带30的上端部连接;
所述胸杯从外向内包括发热层1和面料层2;所述发热层1由料袋11和发热剂12构成;所述发热剂12被所述料袋11包裹;所述料袋11由隔水布料和透气布料构成;与所述面料层2接触的一面为隔水布料;与所述隔水布料相对的一面为透气布料;所述料袋11的其余面为隔水布料;所述透气布料上覆盖不透气的薄膜3;所述面料层2包括a面料层21和b面料层22;所述b面料层22包括第一隔水薄膜层221、吸水布料层222和第二隔水薄膜层223;所述第二隔水薄膜层223上设有容纳乳头的开孔100;所述料袋11可拆卸安装于所述a面料层21。
所述a面料层21上设在有卡扣200,所述料袋上设置有与所述卡扣相配合的扣钮201。
所述料袋11上设置有可打开的开口,所述开口通过拉链控制打开或关闭。
所述b面料层22可拆卸连接于所述a面料层21。
所述a面料层21由无纺布或棉料制作而成;所述开孔100的边沿由塑料圈支撑。
所述发热层的制备原料按重量份数包括以下组分:铁粉60份、活性炭9份、盐7份、蛭石10份、吸水性树脂4份、水15份和硅藻土6份。
在使用过程中,将不透气的薄膜3撕下,发热层中的铁粉在接触氧气后,会产生热量;所以可以起到发热的作用,而涨奶的乳房在发热层1的作用下会使奶水融化,从而快速有效地缓解了因涨奶而引起的疼痛。铁粉为还原铁粉或电解铁粉的一种。
原料中的活性炭的主要功效为更加均匀的散发热量,让表面温度平均,避免局部温度过高或过低。活性炭不仅良好地吸水,而且也吸收因发热组合物产生的热而蒸发的水蒸汽,有助于防止水的逃逸。因此,活性炭还能够作为保水物质发挥作用。活性炭还能够吸收由铁粉氧化而产生的臭气。
原料中的盐可以使铁粉与空气的氧化反应容易进行,将铁粉的表面活性化,从而能够促进铁的氧化反应;例如氯化钾、氯化钠、氯化钙、氯化锰、氯化镁、氯化亚铜等氯化物。
原料中的吸水性树脂在密封缺氧的情况下均匀储存发热层的内部水分,待打开密封袋后,空气中的氧气和发热层中树脂释放的水分促进氧化化学效应。吸水树脂为聚丙烯酸系吸水树脂或者pva树脂。
原料中的蛭石主要起到保温、隔热的功效,使温度更持久。
由于所述a面料层上设在有卡扣,所述料袋上设置有与所述卡扣相配合的扣钮。通过卡扣与扣钮的相配合方便将发热层拆卸下来,结构简单,操作方便而且可以当发热层的热量消失后,更换上新的发热层,直至涨奶现象消失。而料袋11上设置有拉链控制的开口,说明当发热剂的发热作用消失后,可以更换发热剂。
由于b面料层22可拆卸连接于所述a面料层21,说明a面料层21和b面料层22是可以拆开的关系,方便更换b面料层4。当涨奶乳房在发热层的作用,奶水会慢慢融化,融化的奶水从乳头涌出,涌出的奶水被吸水布料层222吸收,由于第一隔水薄膜层221的作用,吸水布料层222的奶水无法进入棉料层2;而由于第二隔水薄膜层223的作用,奶水也不会从乳房下部流出把衣服弄湿,奶水只能存于b面料层22中;当b面料层22的奶水足够多时,将b面料层4拆卸下来,将b面料层22取下,更好新的b面料层22;同时,当发热层2的热量消失后,可以松开发热层1的扣钮,将发热层2取下,更换新的发热层2。当胸杯的使用至涨奶现象完全消失后,可以将发热层1和b面料层22都去掉,只用a面料层21作为平常文胸使用。可见,本发明的文胸可以实现循环使用,避免造成资源的浪费,节省成本。
而所述开口的边沿由塑料圈支撑,起到保护乳头的作用;如果使用金属圈支撑,那么金属圈容易生锈,所以延长b面料层22的使用寿命。
本发明的文胸结构简单,不受环境资源限制,无需外界能源提供能量,安全、稳定、均匀发热,能够有效地延长发热时间。发热层维持的温和热量使乳房处于舒适状态。
将实施例1的文胸穿在身上,胸杯刚好罩住乳房,乳房在发热层的作用下促使奶水融化,奶水融化8分钟后,涨奶现象短暂消失,因涨奶而引起的疼痛感也短暂消失;使用多次后涨奶现象会自然消失。
实施例2
与实施例1不同的是,所述发热层2的发热化合物不同。
所述发热层的制备原料按重量份数包括以下组分:铁粉70份、活性炭12份、盐10份、蛭石15份、吸水性树脂8份、水20份和硅藻土10份。
将实施例2的文胸穿在身上,胸杯刚好罩住乳房,乳房在发热层的作用下促使奶水融化,奶水融化5分钟后,涨奶现象短暂消失,因涨奶而引起的疼痛感也短暂消失;使用多次后涨奶现象会自然消失。
实施例3
与实施例1不同的是,所述发热层2的发热化合物不同。
所述发热层的制备原料按重量份数包括以下组分:铁粉65份、活性炭10份、盐8份、蛭石12份、吸水性树脂6份、水18份和硅藻土8份。
将实施例3的文胸穿在身上,胸杯刚好罩住乳房,乳房在发热层的作用下促使奶水融化,奶水融化6分钟后,涨奶现象短暂消失,因涨奶而引起的疼痛感也短暂消失;使用多次后涨奶现象会自然消失。
实施例4
与实施例1不同的是,所述发热层2的发热化合物不同。
所述发热层的制备原料按重量份数包括以下组分:铁粉62份、活性炭11份、盐9份、蛭石13份、吸水性树脂5份、水16份和硅藻土9份。
将实施例4的文胸穿在身上,胸杯刚好罩住乳房,乳房在发热层的作用下促使奶水融化,奶水融化6分钟后,涨奶现象短暂消失,因涨奶而引起的疼痛感也短暂消失;使用多次后涨奶现象会自然消失。
实施例5
与实施例1不同的是,所述发热层2的发热化合物不同。
所述发热层的制备原料按重量份数包括以下组分:铁粉68份、活性炭10份、盐8份、蛭石14份、吸水性树脂7份、水17份和硅藻土7份。
将实施例5的文胸穿在身上,胸杯刚好罩住乳房,乳房在发热层的作用下促使奶水融化,奶水融化5分钟后,涨奶现象短暂消失,因涨奶而引起的疼痛感也短暂消失;使用多次后涨奶现象会自然消失。
实施例6
与实施例1不同的是,所述发热层2的发热化合物不同。
所述发热层的制备原料按重量份数包括以下组分:铁粉64份、活性炭11份、盐9份、蛭石12份、吸水性树脂5份、水19份和硅藻土9份。
将实施例6的文胸穿在身上,胸杯刚好罩住乳房,乳房在发热层的作用下促使奶水融化,奶水融化8分钟后,涨奶现象短暂消失,因涨奶而引起的疼痛感也短暂消失;使用多次后涨奶现象会自然消失。
以上结合具体实施例描述了本发明的技术原理。这些描述只是为了解释本发明的原理,而不能以任何方式解释为对本发明保护范围的限制。基于此处的解释,本领域的技术人员不需要付出创造性的劳动即可联想到本发明的其它具体实施方式,这些方式都将落入本发明的保护范围之内。
技术研发人员:李飞洪
技术所有人:李飞洪
备 注:该技术已申请专利,仅供学习研究,如用于商业用途,请联系技术所有人。
声 明 :此信息收集于网络,如果你是此专利的发明人不想本网站收录此信息请联系我们,我们会在第一时间删除
