一种女性健康内衣的制作方法

本发明涉及贴身衣物技术领域,具体涉及一种女性健康内衣。
背景技术:
内衣,是指贴身穿的衣物,包括背心、汗衫、短裤、胸罩等,通常是直接接触皮肤的,是现代人不可少的服饰之一。内衣,本质上是要有包容性,这样才能有效地给乳房和臀部以承托力。内衣是否具备这种特性,涉及到组成内衣的材料及材料的结构方式:用针织的方式来组织材料,不管用的材料是真丝的、全棉的、化纤的、混纺的,都会使它们产生很强的伸缩力,即我们习惯上所说的弹性;而双层结构的针织面料,其弹性又强于单层的。有些内衣价格不菲,有些内衣出自名家之手,有些内衣曾经功效卓著,但不管是什么样的内衣,在穿、洗、晾、收的过程中都会或快或慢地失去原来所具有的功能,此时的内衣甚至会起反作用——不仅无益于修正体形,反而会扭曲身段。
传统的内衣的材料大多为海绵。这些传统的内衣面料采用布质或涤纶,并采用海绵做填充物,填充至面料内;或者采用多层海绵结构,通过贴布、胶水粘和压成型等步骤形成海绵层,并作为填充物,填充至面料内。由于海绵具有透气性不佳,容易受潮,且容易滋生细菌,导致这些内衣的大多甲醛含量高、不环保,长期使用容易发黄,不透气、容易闷热,同时容易滋生细菌,增加了让使用者患上乳腺癌以及其它疾病的概率。
在现有的女性内衣中健康内衣的品种较少,一般具有按摩效果的内衣具有凸起,凸起的材质和罩杯填充物材质相同,具有较好的弹性形变性能,按摩效果不明显,穿戴舒适度较低;内衣的穿戴较为繁琐,需将使用内衣挂扣,一般的调整型内衣或健康内衣均为四排扣,虽然穿戴的过程中不易形变或脱落,但是穿戴的舒适度低,具有一定的压迫感,内衣挂扣的材质硬,一般采用较厚的布料置于下层以增加穿戴的舒适感,但会造成局部透气性差。
技术实现要素:
本发明的目的在于克服现有技术的不足,提供一种女性健康内衣,解决了透气性差、按压效果不佳以及易滋生细菌的问题。
本发明的目的是通过以下技术方案来实现的:
一种女性健康内衣,包括界定出一个穿戴空间的内衣本体,内衣本体包括:
形变机构;和
凹凸部:凹凸部和形变机构为一体环状结构,不可拆卸分离;凹凸部2边缘为弧状,贴合人体工学。
其中形变机构和凹凸部一体环状结构,两者不可拆卸分离,在穿戴的过程中不会出现内衣掉落等情况,凹凸部2边缘为弧状,贴合人体工学设计,舒适度高,适应于大幅度运动。
进一步地,所述形变机构为双层布料结构,贴近肌肤的布料层为由纤维i组成的布料层i,贴近衣服的布料层为由纤维ii组成的布料层
进一步地,所述纤维
粘胶纤维20-24重量份;
氨纶纤维72-75重量份;
聚酯纤维6-8重量份。
氨纶纤维使得布料具有良好的弹性,聚酯纤维使得面料光滑平整,手感舒适,纤维
进一步地,所述纤维
氨纶纤维75-79重量份;
竹纤维12-14重量份;
聚酯纤维8-10重量份。
氨纶纤维使得布料具有良好的弹性,聚酯纤维使得面料光滑平整,手感舒适,纤维
进一步地,所述凹凸部由两个凹凸本体四周粘覆一层粘胶层,聚酯纤维面料粘覆在粘胶层上,将两个凹凸本体结合成一体制作而成;所述凹凸本体材质为硅胶,粘胶层厚度为0.1-0.2mm,聚酯纤维面料为0.5-1.0mm。硅胶是一种高活性吸附材料,属非晶态物质,其化学分子式为msio2·nh2o,经硅酸凝胶干燥脱水得到,不溶于水和任何溶剂,无毒无味,化学性质稳定,除强碱、氢氟酸外不与任何物质发生反应。聚酯纤维由有机二元酸和二元醇缩聚而成的聚酯经纺丝所得的合成纤维,聚酯纤维具有遮阳、透光、通风、隔热、防紫外线和防潮的效果,聚酯纤维阳光面料具有其它面料所不具备的良好隔热性能,细菌无法繁殖,面料不会霉变,抗撕拉,不需加固,自然抗撕,有显著的抗风和经受频繁使用。
凹凸部选用柔软易变性且可复原的硅胶材质,触感柔软,具有良好的塑性和形变复原性能,凹凸部的布料选用聚酯纤维,聚酯纤维具有良好的亲肤性能,触感光滑冰凉,具有良好的隔热性能和抑菌效果,穿戴时肌肤舒适度高。
进一步地,所述凹凸部上部边缘弧线平缓,凹凸部上部边缘安装有内衣扣ii,内衣扣
进一步地,所述所述凹凸本体的中心厚边缘薄,凹凸本体均匀设置有透气孔,透气孔直径为0.5-1.0mm,凹凸本体上设置有按压带,按压带首尾闭合形成的按压区域212,按压区域中安装有圆珠,圆珠粒径为1.5-2mm。凹凸部的凹凸本体具有均匀的透气孔,透气孔的孔径较小,在具有良好的形变性能时还兼具透气的作用,凹凸本体上设有有按压区域,按压区域中安装有圆珠,圆珠形变性能差,因此在凹凸本体与肌肤产生形变的过程中,圆珠会形成局部凸起,对乳房有一定的按摩作用,按摩乳房会使脑下垂体和卵巢分泌激素的功能得到加强,增进局部血液循环,且圆珠213的粒径较小,产生的按摩压力并不会产生疼痛感造成不适。
进一步地,所述内衣扣
进一步地,包括如下步骤:
s1凹凸本体的制备:将硅胶制作成图纸设计的形状大小及厚度,将硅胶放入自动扎孔机的模具中,制备得到均匀的透气孔,在图纸设计的按压区域212安装有圆珠213,制备得到凹凸本体;
s2凹凸部的制备:将s1步骤制备得到的凹凸本体四周涂覆0.1-0.2mm的粘胶层,将0.1-1.0mm厚的聚酯纤维面料粘覆在粘胶层上,将两个凹凸本体结合成一体,剪裁缝合得到凹凸部,凹凸部上部边缘左右对称安装有内衣扣
s3形变机构的制备:按照图纸对布料的要求,裁剪纤维
s4女性健康内衣的制备:将s3步骤中制备得到的形变机构的左右两个边缘和s2步骤中制备得到的凹凸部的左右两边缘结合,结合肩带裁剪定型得到女性健康内衣。
本发明的有益效果是:
1.形变机构和凹凸部一体环状结构,两者不可拆卸分离,在穿戴的过程中不会出现内衣掉落等情况,且易穿戴,凹凸部边缘为弧状,贴合人体工学设计,舒适度高,适应于大幅度运动。
2.形变机构采用双层面料,布料均采用纤维制备,透气性优良,纤维i和纤维ii的组成均采用氨纶纤维和聚酯纤维,氨纶纤维使得布料具有良好的弹性,聚酯纤维使得面料光滑平整,手感舒适,且两种布料的氨纶纤维和聚酯纤维的重量重量份接近,由此两种纤维的弹性相近,光滑平整,透气性良好;其中纤维i加入部分粘胶纤维使其穿着舒适度高,更贴肌肤,纤维ii中添加竹纤维使其具有良好的抑菌作用,不易变色;将纤维i和纤维ii的厚度均选择为0.5-0.8mm,此时的变性机构的透气性良好,且面料具有良好的定型效果,不易产生褶皱移位等现象。
3.凹凸部选用柔软易变性且可复原的硅胶材质,触感柔软,具有良好的塑性和形变复原性能,凹凸部的布料选用聚酯纤维,聚酯纤维具有良好的亲肤性能,触感光滑冰凉,具有良好的隔热性能和抑菌效果,穿戴时肌肤舒适度高。
4.凹凸部上部边缘弧线平缓,当整体内衣不使用肩带时,内衣的整体结构重心较高,内衣穿戴时与肌肤的贴合度高,并不会使得内衣易滑落或移位,适用于女性夏装不同款式;内衣扣
5.凹凸部的凹凸本体具有均匀的透气孔,透气孔的孔径较小,在具有良好的形变性能时还兼具透气的作用,凹凸本体上设有有按压区域,按压区域中安装有圆珠,圆珠的形变性能差,因此在凹凸本体与肌肤产生形变的过程中,圆珠会形成局部凸起,对乳房有一定的按摩作用,按摩乳房会使脑下垂体和卵巢分泌激素的功能得到加强,增进局部血液循环,且圆珠的粒径较小,产生的按摩压力并不会产生疼痛感造成不适。
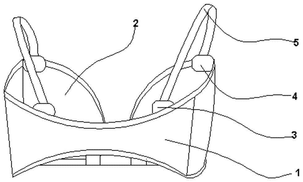
附图说明
图1为实施例1中女性健康内衣有肩带正面结构示意图;
图2为实施例1中女性健康内衣有肩带背面结构示意图;
图3为实施例2~8女性健康内衣无肩带正面结构示意图;
图4为实施例2~8女性健康内衣无肩带背面结构示意图;
图5为实施例1~7中凹凸本体结构示意图;
图中:
1-形变机构;
2-凹凸部,21-凹凸本体,211-透气孔,212-按压区域,213-圆珠;
3-内衣扣
4-内衣扣
5-肩带。
具体实施方式
下面结合具体实施例进一步详细描述本发明的技术方案,但本发明的保护范围不局限于以下所述。
一种女性健康内衣的制备方法,包括如下步骤:
s1凹凸本体21的制备:将硅胶制作成图纸设计的形状大小及厚度,将硅胶放入自动扎孔机的模具中,制备得到均匀的透气孔211,在图纸设计的按压区域212安装有圆珠213,制备得到凹凸本体21;
s2凹凸部2的制备:将s1步骤制备得到的凹凸本体2四周涂覆0.1-0.2mm的粘胶层,将0.1-1.0mm厚的聚酯纤维面料粘覆在粘胶层上,将两个凹凸本体21结合成一体,剪裁缝合得到凹凸部2,凹凸部2上部边缘左右对称安装有内衣扣
s3形变机构1的制备:按照图纸对布料的要求,裁剪纤维
s4女性健康内衣的制备:将s3步骤中制备得到的形变机构1的左右两个边缘和s2步骤中制备得到的凹凸部2的左右两边缘结合,裁剪定型得到女性健康内衣。
实施例1
一种女性健康内衣,包括界定出一个穿戴空间的内衣本体,内衣本体包括:
形变机构1;和
凹凸部2:凹凸部2和形变机构1为一体环状结构,不可拆卸分离;凹凸部2边缘为弧状,贴合人体工学。
具体地,所述形变机构1为双层布料结构,贴近肌肤的布料层为由纤维i组成的布料层i,贴近衣服的布料层为由纤维ii组成的布料层
具体地,所述纤维
粘胶纤维24重量份;
氨纶纤维75重量份;
聚酯纤维8重量份。
具体地,所述纤维
氨纶纤维79重量份;
竹纤维14重量份;
聚酯纤维10重量份。
具体地,所述凹凸部2由两个凹凸本体21四周粘覆一层粘胶层,聚酯纤维面料粘覆在粘胶层上,将两个凹凸本体21结合成一体制作而成;所述凹凸本体21材质为硅胶,粘胶层厚度为0.2mm,聚酯纤维面料为1.0mm。
具体地,所述凹凸部2上部边缘弧线平缓,凹凸部2上部边缘安装有内衣扣ii4,内衣扣
具体地,所述所述凹凸本体21的中心厚边缘薄,凹凸本体21均匀设置有透气孔211,透气孔211直径为1.0mm,凹凸本体21上设置有按压带,按压带首尾闭合形成的按压区域212,按压区域212中安装有圆珠213,圆珠213粒径为2mm。
具体地,所述内衣扣
实施例2
一种女性健康内衣,包括界定出一个穿戴空间的内衣本体,内衣本体包括:
形变机构1;和
凹凸部2:凹凸部2和形变机构1为一体环状结构,不可拆卸分离;凹凸部2边缘为弧状,贴合人体工学。
具体地,所述形变机构1为双层布料结构,贴近肌肤的布料层为由纤维i组成的布料层i,贴近衣服的布料层为由纤维ii组成的布料层
具体地,所述纤维
粘胶纤维23重量份;
氨纶纤维74重量份;
聚酯纤维7重量份。
具体地,所述纤维
氨纶纤维77重量份;
竹纤维13重量份;
聚酯纤维9重量份。
具体地,所述凹凸部2由两个凹凸本体21四周粘覆一层粘胶层,聚酯纤维面料粘覆在粘胶层上,将两个凹凸本体21结合成一体制作而成;所述凹凸本体21材质为硅胶,粘胶层厚度为0.16mm,聚酯纤维面料为0.8mm。
具体地,所述凹凸部2上部边缘弧线平缓,凹凸部2上部边缘安装有内衣扣ii4,内衣扣
具体地,所述所述凹凸本体21的中心厚边缘薄,凹凸本体21均匀设置有透气孔211,透气孔211直径为0.8mm,凹凸本体21上设置有按压带,按压带首尾闭合形成的按压区域212,按压区域212中安装有圆珠213,圆珠213粒径为1.8mm。
实施例3
一种女性健康内衣,包括界定出一个穿戴空间的内衣本体,内衣本体包括:
形变机构1;和
凹凸部2:凹凸部2和形变机构1为一体环状结构,不可拆卸分离;凹凸部2边缘为弧状,贴合人体工学。
具体地,所述形变机构1为双层布料结构,贴近肌肤的布料层为由纤维i组成的布料层i,贴近衣服的布料层为由纤维ii组成的布料层
具体地,所述纤维
粘胶纤维21重量份;
氨纶纤维73重量份;
聚酯纤维7重量份。
具体地,所述纤维
氨纶纤维76重量份;
竹纤维13重量份;
聚酯纤维9重量份。
具体地,所述凹凸部2由两个凹凸本体21四周粘覆一层粘胶层,聚酯纤维面料粘覆在粘胶层上,将两个凹凸本体21结合成一体制作而成;所述凹凸本体21材质为硅胶,粘胶层厚度为0.14mm,聚酯纤维面料为0.7mm。
具体地,所述凹凸部2上部边缘弧线平缓,凹凸部2上部边缘安装有内衣扣ii4,内衣扣
具体地,所述所述凹凸本体21的中心厚边缘薄,凹凸本体21均匀设置有透气孔211,透气孔211直径为0.7mm,凹凸本体21上设置有按压带,按压带首尾闭合形成的按压区域212,按压区域212中安装有圆珠213,圆珠213粒径为1.6mm。
实施例4
一种女性健康内衣,包括界定出一个穿戴空间的内衣本体,内衣本体包括:
形变机构1;和
凹凸部2:凹凸部2和形变机构1为一体环状结构,不可拆卸分离;凹凸部2边缘为弧状,贴合人体工学。
具体地,所述形变机构1为双层布料结构,贴近肌肤的布料层为由纤维i组成的布料层i,贴近衣服的布料层为由纤维ii组成的布料层
具体地,所述纤维
粘胶纤维20重量份;
氨纶纤维72重量份;
聚酯纤维6重量份。
具体地,所述纤维
氨纶纤维75重量份;
竹纤维12重量份;
聚酯纤维8重量份。
具体地,所述凹凸部2由两个凹凸本体21四周粘覆一层粘胶层,聚酯纤维面料粘覆在粘胶层上,将两个凹凸本体21结合成一体制作而成;所述凹凸本体21材质为硅胶,粘胶层厚度为0.1mm,聚酯纤维面料为0.5mm。
具体地,所述凹凸部2上部边缘弧线平缓,凹凸部2上部边缘安装有内衣扣ii4,内衣扣
具体地,所述所述凹凸本体21的中心厚边缘薄,凹凸本体21均匀设置有透气孔211,透气孔211直径为0.5mm,凹凸本体21上设置有按压带,按压带首尾闭合形成的按压区域212,按压区域212中安装有圆珠213,圆珠213粒径为1.5mm。
实施例5
一种女性健康内衣,包括界定出一个穿戴空间的内衣本体,内衣本体包括:
形变机构1;和
凹凸部2:凹凸部2和形变机构1为一体环状结构,不可拆卸分离;凹凸部2边缘为弧状,贴合人体工学。
具体地,所述形变机构1为双层布料结构,贴近肌肤的布料层为由纤维i组成的布料层i,贴近衣服的布料层为由纤维ii组成的布料层
具体地,所述纤维
粘胶纤维21重量份;
氨纶纤维73重量份;
聚酯纤维7重量份。
具体地,所述纤维
氨纶纤维76重量份;
聚酯纤维9重量份。
具体地,所述凹凸部2由两个凹凸本体21四周粘覆一层粘胶层,聚酯纤维面料粘覆在粘胶层上,将两个凹凸本体21结合成一体制作而成;所述凹凸本体21材质为硅胶,粘胶层厚度为0.14mm,聚酯纤维面料为0.7mm。
具体地,所述凹凸部2上部边缘弧线平缓,凹凸部2上部边缘安装有内衣扣ii4,内衣扣
具体地,所述所述凹凸本体21的中心厚边缘薄,凹凸本体21均匀设置有透气孔211,透气孔211直径为0.7mm,凹凸本体21上设置有按压带,按压带首尾闭合形成的按压区域212,按压区域212中安装有圆珠213,圆珠213粒径为1.6mm。
实施例6
一种女性健康内衣,包括界定出一个穿戴空间的内衣本体,内衣本体包括:
形变机构1;和
凹凸部2:凹凸部2和形变机构1为一体环状结构,不可拆卸分离;凹凸部2边缘为弧状,贴合人体工学。
具体地,所述形变机构1为双层布料结构,贴近肌肤的布料层为由纤维i组成的布料层i,贴近衣服的布料层为由纤维ii组成的布料层
具体地,所述纤维
氨纶纤维73重量份;
聚酯纤维7重量份。
具体地,所述纤维
氨纶纤维76重量份;
竹纤维13重量份;
聚酯纤维9重量份。
具体地,所述凹凸部2由两个凹凸本体21四周粘覆一层粘胶层,聚酯纤维面料粘覆在粘胶层上,将两个凹凸本体21结合成一体制作而成;所述凹凸本体21材质为硅胶,粘胶层厚度为0.14mm,聚酯纤维面料为0.7mm。
具体地,所述凹凸部2上部边缘弧线平缓,凹凸部2上部边缘安装有内衣扣ii4,内衣扣
具体地,所述所述凹凸本体21的中心厚边缘薄,凹凸本体21均匀设置有透气孔211,透气孔211直径为0.7mm,凹凸本体21上设置有按压带,按压带首尾闭合形成的按压区域212,按压区域212中安装有圆珠213,圆珠213粒径为1.6mm。
实施例7
一种女性健康内衣,包括界定出一个穿戴空间的内衣本体,内衣本体包括:
形变机构1;和
凹凸部2:凹凸部2和形变机构1为一体环状结构,不可拆卸分离;凹凸部2边缘为弧状,贴合人体工学。
具体地,所述形变机构1为双层布料结构,贴近肌肤的布料层为由纤维i组成的布料层i,贴近衣服的布料层为由纤维ii组成的布料层
具体地,所述纤维
粘胶纤维21重量份;
氨纶纤维73重量份;
聚酯纤维7重量份。
具体地,所述纤维
氨纶纤维76重量份;
竹纤维13重量份;
聚酯纤维9重量份。
具体地,所述凹凸部2由两个凹凸本体21四周粘覆一层粘胶层,聚酯纤维面料粘覆在粘胶层上,将两个凹凸本体21结合成一体制作而成;所述凹凸本体21材质为硅胶,粘胶层厚度为0.14mm,聚酯纤维面料为1.5mm。
具体地,所述凹凸部2上部边缘弧线平缓,凹凸部2上部边缘安装有内衣扣ii4,内衣扣
具体地,所述所述凹凸本体的中心厚边缘薄,凹凸本体上设置有按压带,按压带首尾闭合形成的按压区域212,按压区域212中安装有圆珠213,圆珠213粒径为1.6mm。
实施例8
一种女性健康内衣,包括界定出一个穿戴空间的内衣本体,内衣本体包括:
形变机构1;和
凹凸部2:凹凸部2和形变机构1为一体环状结构,不可拆卸分离;凹凸部2边缘为弧状,贴合人体工学。
具体地,所述形变机构1为双层布料结构,贴近肌肤的布料层为由纤维i组成的布料层i,贴近衣服的布料层为由纤维ii组成的布料层
具体地,所述纤维
粘胶纤维21重量份;
氨纶纤维73重量份;
聚酯纤维7重量份。
具体地,所述纤维
氨纶纤维76重量份;
竹纤维13重量份;
聚酯纤维9重量份。
具体地,所述凹凸部2由两个凹凸本体21四周粘覆一层粘胶层,聚酯纤维面料粘覆在粘胶层上,将两个凹凸本体21结合成一体制作而成;所述凹凸本体21材质为硅胶,粘胶层厚度为0.14mm,聚酯纤维面料为0.7mm。
具体地,所述凹凸部2上部边缘弧线平缓,凹凸部2上部边缘安装有内衣扣ii4,内衣扣
具体地,所述所述凹凸本体21的中心厚边缘薄,凹凸本体21均匀设置有透气孔211,透气孔211直径为0.7mm。
其中实施例1~实施例4为本发明中各种参数组合制备得到的女性健康内衣,实施例5~实施例8为对比试验,其中实施例5中纤维
实施例1~实施例8中制备得到的女性健康内衣的实验数据如表1所示:
表
从表1的数据中分析可以得出,实施例1~实施例4中制备得到的女性健康内衣具有良好的透气性、亲肤性能以及触感,按摩效果好,变色程度低;实施例6的衣料触感若雨其余实施例,实施例7中透气性能远差于其余实施例,实施例8无按摩效果。
将实施例1~实施例8进行微生物实验,需氧菌总数是指胰酪大豆胨琼脂培养基上生长的总菌落数;霉菌和酵母菌总数是指沙氏葡萄糖琼脂培养基上生长的总菌落数,大肠埃希菌数是指麦康凯液体培养基上生长的总菌落数。测定数据结果如表2所示:
表
从表2的数据可知,实施例5的抑菌效果明显若于其余实施例,添加了竹纤维的纤维棉面料的抑菌效果十分明显。
以上所述仅是本发明的优选实施方式,应当理解本发明并非局限于本文所披露的形式,不应看作是对其他实施例的排除,而可用于各种其他组合、修改和环境,并能够在本文所述构想范围内,通过上述教导或相关领域的技术或知识进行改动。而本领域人员所进行的改动和变化不脱离本发明的精神和范围,则都应在本发明所附权利要求的保护范围内。
技术研发人员:陈雅明
技术所有人:陈雅明
备 注:该技术已申请专利,仅供学习研究,如用于商业用途,请联系技术所有人。
声 明 :此信息收集于网络,如果你是此专利的发明人不想本网站收录此信息请联系我们,我们会在第一时间删除
