拉头和止部组件、拉链及箱包的制作方法

本实用新型实施方式涉及箱包拉链技术领域,特别是涉及一种拉头和止部组件、拉链及箱包。
背景技术:
如图1所示,用于箱包的拉链10通常包括:链牙11、一个拉头12、两片链带13以及止部等,止部可以是上止14或下止15,每片链带13上各自有一列链牙11,两列链11相互交错排列。拉头12夹持两列链牙11,通过拉动拉头12滑行,即可使两列链牙11相互啮合或脱开。
现有技术中,为了在一定程度上起到防止扒手偷窃的作用,要么是在拉头和止部上开设挂孔,用外露的防盗锁将拉头和止部锁定,要么是用复杂的防盗机构将拉头和止部锁定,防盗机构却外露出来,一方面容易引起扒手的注意,进而使用相应的开锁方式将拉头和止部打开,另一方面造成使用不方便。
技术实现要素:
本实用新型实施方式主要解决的技术问题是提供一种使用方便、隐藏式防盗机构的拉头和止部组件、拉链及箱包。
为解决上述技术问题,本实用新型实施例提供了一种拉头和止部组件,包括:拉头及与所述拉头插接的止部;
所述拉头包括:第一本体部、设于第一本体部上表面的第一连接部以及设于第一本体部下表面的插接公头,所述插接公头自第一本体部下表面延伸出;
所述止部包括:第二本体部以及设于第二本体部下表面且供所述插接公头插设的插接母头。
其中,所述插接母头的至少一个侧边设有弹性片,所述弹性片上向内凸设有第一卡凸部;所述插接公头的至少一侧边设有防脱部。
其中,所述插接母头的至少一个侧边设有弹性片,所述弹性片上向内凸设有第一卡凸部;所述插接公头的至少一侧边开设有供所述第一卡凸部容纳的卡槽。
其中,所述插接公头上嵌设有弹性环,所述弹性环自所述插接公头的至少一侧边延伸出;所述所述插接母头的至少一个侧边向内凸设有第二卡凸部。
其中,所述插接公头上嵌设有弹性环,所述弹性环自所述插接公头的至少一侧边延伸出;所述所述插接母头的至少一个侧边开设有供所述弹性环的部分容纳的凹槽。
其中,所述插接公头的至少一侧边凸设有拱形弹片,所述所述插接母头的至少一个侧边向内凸设有第二卡凸部。
其中,所述插接公头的至少一侧边凸设有拱形弹片,所述所述插接母头的至少一个侧边开设有供所述拱形弹片的部分容纳的凹槽。
本实用新型又一实施例提供了一种拉链,包括:两片链带、固设于所述链带的链牙以及上述任意一种所述的拉头和止部组件,所述拉头和止部组件中的拉头和止部均分别夹持两片所述链带上的两列链牙。
其中,所述拉链还包括上止和下止,所述上止和下止固设于所述链带的端部。
本实用新型又一实施例提供了一种箱包,包括上述拉链。
本实用新型实施例提供的一种拉头和止部组件,通过位于拉头下表面的插接公头与位于止部的下表面的插接母头的配合插设,当具有拉头和止部组件的拉链应用在箱包上时,能够起到隐藏式防盗的作用,使用方便。
附图说明
图1是现有技术中拉链的结构示意图;
图2是本实用新型实施例拉头和止部组件的结构示意图;
图3是图2中所示拉头和止部组件的侧视图;
图4是沿图3中A-A线的剖视图;
图5是本实用新型一可选实施例拉头和止部组件的剖视图;
图6是本实用新型一可选实施例拉头和止部组件的剖视图;
图7是本实用新型一可选实施例拉头和止部组件的剖视图;
图8是本实用新型一可选实施例拉头和止部组件的剖视图;
图9是本实用新型一可选实施例拉头和止部组件的剖视图。
具体实施方式
为了便于理解本实用新型,下面结合附图和具体实施方式,对本实用新型进行更详细的说明。需要说明的是,当元件被表述“固定于”另一个元件,它可以直接在另一个元件上、或者其间可以存在一个或多个居中的元件。当一个元件被表述“连接”另一个元件,它可以是直接连接到另一个元件、或者其间可以存在一个或多个居中的元件。本说明书所使用的术语“垂直的”、“水平的”、“左”、“右”以及类似的表述只是为了说明的目的。
除非另有定义,本说明书所使用的所有的技术和科学术语与属于本实用新型的技术领域的技术人员通常理解的含义相同。本说明书中在本实用新型的说明书中所使用的术语只是为了描述具体的实施方式的目的,不是用于限制本实用新型。本说明书所使用的术语“和/或”包括一个或多个相关的所列项目的任意的和所有的组合。
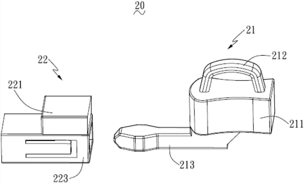
如图2所示,本实用新型实施例提供了一种拉头和止部组件20,包括:拉头21及与拉头21插接的止部22。
拉头21包括:第一本体部211、设于第一本体部211上表面的第一连接部212以及设于第一本体部211下表面的插接公头213,插接公头213自第一本体部下表面延伸出。
止部包括22:第二本体部221以及设于第二本体部221下表面且供插接公头213插设的插接母头223。
本实用新型实施例提供的一种拉头和止部组件20,通过位于拉头21下表面的插接公头213与位于止部22的下表面的插接母头223的配合插设,当具有拉头和止部组件20的拉链应用在箱包上时,能够起到隐藏式防盗的作用,使用方便。
在本实用新型实施例中,如图3和图4所示,插接母头223的两个侧边均设有弹性片224,每一弹性片224上向内凸设有第一卡凸部225,插接公头213的两个侧边均设有防脱部214。需要说明的是,插接母头223的两个侧边不限于均设有弹性片224,例如,插接母头的一个侧边设有弹性片,该弹性片上向内凸设有第一卡凸部,插接公头的一个侧边设有与第一卡凸部位于同一侧的防脱部。弹性片224可以是以镂空的形式成型于插接母头223的侧边。
如图5所示,在本实用新型的一可选实施例提供了一种拉头和止部组件30,拉头和止部组件30包括:拉头31及与拉头31插接的止部32。拉头31相对于拉头21的区别是拉头31的插接公头313,其中,插接母头323的两个侧边均设有弹性片324,弹性片324上向内凸设有第一卡凸部325,插接公头313的两个侧边开设有供第一卡凸部325容纳的卡槽314。需要说明的是,插接母头323的两个侧边不限于均设有弹性片324,例如,插接母头的一个侧边设有弹性片,该弹性片上向内凸设有第一卡凸部,插接公头的一个侧边设有与第一卡凸部位于同一侧的防脱部。
如图6所示,在本实用新型的一可选实施例提供了一种拉头和止部组件40,拉头和止部组件40包括:拉头41及与拉头41插接的止部42。拉头41相对于拉头21的区别是拉头41的插接公头413,止部42相对于止部22的区别是止部42的插接母头423。其中,插接公头413上嵌设有弹性环414,弹性环414自插接公头413的两个侧边延伸出;插接母头423的两个侧边向内凸设有第二卡凸部425。需要说明的是,弹性环414不限于自插接公头413的两个侧边延伸出,例如,弹性环自插接公头的一个侧边延伸出,插接母头的一个侧边设有与延伸出的弹性环位于同一侧的第二卡凸部。
如图7所示,在本实用新型的一可选实施例提供了一种拉头和止部组件50,拉头和止部组件50包括:拉头51及与拉头51插接的止部52。拉头51相对于拉头21的区别是拉头51的插接公头513,止部52相对于止部22的区别是止部52的插接母头523。其中,插接公头513上嵌设有弹性环514,弹性环514自插接公头513的两个侧边延伸出,插接母头523的两个侧边均开设有供弹性环514的部分容纳的凹槽525。需要说明的是,弹性环514不限于自插接公头513的两个侧边延伸出,例如,弹性环自插接公头的一个侧边延伸出,插接母头的一个侧边开设有与延伸出的弹性环位于同一侧的凹槽。
如图8所示,在本实用新型的一可选实施例提供了一种拉头和止部组件60,拉头和止部组件60包括:拉头61及与拉头61插接的止部62。拉头61相对于拉头21的区别是拉头61的插接公头613,止部62相对于止部22的区别是止部62的插接母头623。其中,插接公头613的两个侧边均凸设有拱形弹片614,插接母头623的两个侧边向内凸设有第二卡凸部625。需要说明的是,插接公头613不限于两个侧边均凸设有拱形弹片614,例如,插接公头的一个侧边凸设有拱形弹片,插接母头的一个侧边向内凸设有与拱形弹片位于同一侧的第二卡凸部。
如图9所示,在本实用新型的一可选实施例提供了一种拉头和止部组件70,拉头和止部组件70包括:拉头71及与拉头71插接的止部72。拉头71相对于拉头21的区别是拉头71的插接公头713,止部72相对于止部22的区别是止部72的插接母头723。其中,插接公头713的两个侧边均凸设有拱形弹片714,插接母头723的两个侧边开设有供拱形弹片714的部分容纳的凹槽725。需要说明的是,插接公头713不限于两个侧边均凸设有拱形弹片714,例如,插接公头的一个侧边凸设有拱形弹片,插接母头的一个侧边开设有与拱形弹片位于同一侧的凹槽。
本实用新型又一实施例提供了一种拉链,该拉链包括:第一片链带、第二片链带、固设于第一片链带边缘的第一列链牙、固设于第二片链带边缘的第二列链牙以及上述拉头和止部组件20、30、40、50、60、70中的任意一种。拉头和止部组件中的拉头分别夹持两片所述链带上的两列链牙,拉头和止部组件中的止部固设于两片所述链带的任意一端。拉头上的插接公头与止部上的插接母头相对设置,在实际应用中,拉动拉头使得插接公头插设于插接母头内,实现拉头与止部的插接配合。
本实用新型又一实施例提供了一种箱包,该箱包设有上述拉链。通过将上述拉链应用在箱包上,能够起到隐藏防盗的作用,使用方便。
需要说明的是,本实用新型的说明书及其附图中给出了本实用新型的较佳的实施方式,但是,本实用新型可以通过许多不同的形式来实现,并不限于本说明书所描述的实施方式,这些实施方式不作为对本实用新型内容的额外限制,提供这些实施方式的目的是使对本实用新型的公开内容的理解更加透彻全面。并且,上述各技术特征继续相互组合,形成未在上面列举的各种实施方式,均视为本实用新型说明书记载的范围;进一步地,对本领域普通技术人员来说,可以根据上述说明加以改进或变换,而所有这些改进和变换都应属于本实用新型所附权利要求的保护范围。
技术研发人员:刘传兵,石达
技术所有人:深圳市泽物科技股份有限公司
备 注:该技术已申请专利,仅供学习研究,如用于商业用途,请联系技术所有人。
声 明 :此信息收集于网络,如果你是此专利的发明人不想本网站收录此信息请联系我们,我们会在第一时间删除
