两用吊床的制作方法

本实用新型涉及户外装备,尤其是一种可方便调整成吊椅或吊床的多功能吊床。
背景技术:
现今的生活越来越讲究多功能性,特别是在生活中所经常能够使用到的物品,其中可供人在户外使用的吊床由于其自身体积较大的特性,往往需要被赋予更多的功能性以满足人们的使用需要。
目前广泛使用的吊床,如申请号为200520013909.7的中国专利公开的一种折叠吊床,主要由床面、床面挂环、挂钩、脚管、支撑杆滑块、定位销、支撑杆、定位支撑横杆、横档管、横档管连接件组成,采用了由脚管、支撑管、和横档管组成的三角形连接结构,并借助于在脚管中的支撑杆滑块在脚管中可滑动以及定位销对滑块的定位功能,使吊床打开和收拢方便;又如申请号为201420673691.7的中国专利公开的一种吊床,包括两底杆,两底杆上分别设有连接柱,两底杆通过连接柱的内端与两底杆之间的连接杆固定连接,连接柱的外端与两吊杆连接,吊杆的侧壁上分别设有横梁,两横梁之间连接有扶手杆。
上述这些无论是设置在公园空旷区的大型结构或是适用于家庭庭院中的小型结构,在吊床打开的使用状态时,形状是单一的,不够舒适、功能不够多样化。
技术实现要素:
本实用新型所要解决的技术问题是针对上述现有技术存在的问题,提供一种功能多样化的两用吊床。
本实用新型解决上述技术问题所采用的技术方案为:一种两用吊床,包括布套和与布套连接的支撑结构,所述支撑结构包括两个并列间隔布置的支脚杆、分别铰接在每个支脚杆两端的支撑杆,两个支脚杆同一端上的两个支撑杆顶端互相连接,所述布套的两端分别挂在支脚杆两端的支撑杆的顶部,其特征在于:所述两用吊床还包括与支撑杆相应的支撑连接杆,每个支撑连接杆的第一端铰接在支脚杆上、每个支撑连接杆的第二端上设置有第一连接件,每个支撑杆设置有与相应的支撑连接杆的第一连接件能拆卸连接的第二连接件,第二连接件沿着支撑杆的长度方向间隔布置。
优选的,为便于快速地拆装,同时又便于制造,所述第一连接件为挂钩连接片,所述第二连接件为定位销。
优选的,为便于定位销和挂钩连接片方便地可拆卸连接,所述挂钩连接片上开设有从挂钩连接片的一个侧面向内凹的倒置的L形的卡槽,所述定位销包括穿过支撑杆的销主体和在销主体端部的销头部,所述销主体的尺寸与卡槽适配,所述销头部的尺寸大于销主体的尺寸,所述定位销和卡槽配合时、所示支撑连接杆抵住支撑杆。
为便于支撑杆相对支脚杆转动,又能在使用时相对支脚杆位置稳定,所述支脚杆和每个支撑杆的底部之间通过支脚连接片连接,每个支脚连接片分别与支脚杆和支撑杆铰接,每个支脚连接片相对相应支撑连接杆和支脚杆的铰接点更为靠近支脚杆的端部。
为避免吊床整体移动,每个支脚杆的两端分别设置有防滑的支脚座。
为使得支撑结构稳定,两个支脚杆同一端上的两个支撑杆之间连接有支撑连接片。
为便于布套和支撑结构的连接,两个支脚杆同一端上的两个支撑杆的顶部设置有挂钩,所述布套的两端分别挂在挂钩上。
与现有技术相比,本实用新型的优点在于:通过设置支撑连接杆,在支撑连接杆上设置第一连接件,而在相应的支撑杆上设置第二连接件,通过第一连接件和第二连接件的可拆卸连接的配合方式,使得支撑杆的角度可调形成吊床和吊椅两种状态,并且能在使用时保持位置稳定。
附图说明
图1为本实用新型的两用吊床的吊床状态示意图;
图2为图1的两用吊床的局部放大示意图;
图3为图2的两用吊床的局部分解结构示意图;
图4为本实用新型的两用吊床的吊椅状态示意图;
图5为图4的两用吊床的局部放大示意图。
具体实施方式
以下结合附图实施例对本实用新型作进一步详细描述。
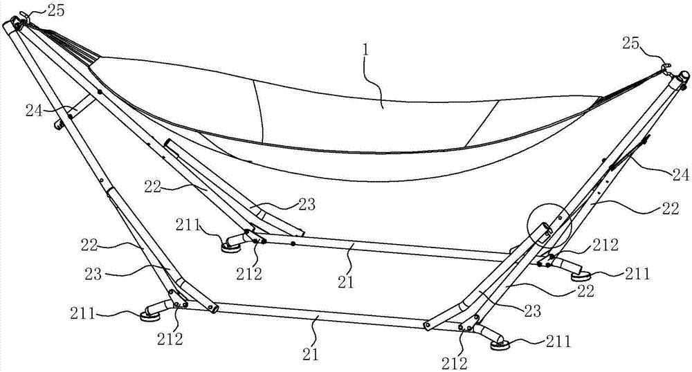
参见图1~图3,一种两用吊床,包括布套1和布套的支撑结构。
支撑结构包括两个并列间隔布置的支脚杆21、设置在每个支脚杆21两端的支撑杆22、两端分别连接在支脚杆21和支撑杆22上的支撑连接杆23、连接在两个支脚杆21同一端上的两个支撑杆22之间的支撑连接片24、以及用于将布套1和支撑结构连接的挂钩25。
每个支脚杆21的两端分别设置有支脚座211,支脚座211用于支撑在地面上,具有一定的防滑性能,避免吊床在使用时整体相对地面移动。支脚杆21和每个支撑杆22的底部之间通过支脚连接片212连接,支脚连接片212分别与支脚杆21和支撑杆22铰接。
支撑连接杆23的长度小于支撑杆22,支撑连接杆23的第一端铰接在支脚杆21上,并且铰接点位于支脚连接片212远离支脚座211的一侧。支撑连接杆23的第二端上则设置有第一连接件,在本实施例中为挂钩连接片231,支撑连接杆23和挂钩连接片231可通过焊接固定。挂钩连接片231上形成有从一侧向内凹的L形卡槽232,在本实施例中,卡槽232的水平部2321贯穿挂钩连接片231的左右其中一个侧面,卡槽232的竖直部2322从水平部2321的一端向下延伸、并且底部形成下凹的弧形。支撑杆22上设置有至少两个第二连接件,在本实施例中为定位销221,至少两个定位销221沿着支撑杆22的长度方向间隔布置。定位销221用于与挂钩连接片231配合,每个定位销221包括销主体2211和在销主体2211端部的销头部2212,销2211呈圆柱形,横向穿过开设在支撑杆22上的销孔222,销头部2212的尺寸大于销主体2211的尺寸,卡槽232的水平部2321和竖直部2322尺寸适配,销主体2211的侧壁可以与竖直部2312的底部弧形适配,销头部2212则与挂钩连接片231上位于卡槽232周边的部分抵接,从而可使得挂钩连接片231和定位销221的连接稳定。
可替代的,卡槽232仍为倒置的L形,但卡槽232的竖直部2322贯穿挂钩连接片231的下底面。
当需要维持吊床的状态时,位于下方的定位销221卡在挂钩连接片231的卡槽232内,支撑连接杆23能起到将支撑杆22抵住的作用,使得支脚杆21、支撑杆22和支撑连接杆23之间的连接保持稳定,不会相对转动。此时,支撑连接杆23和支撑杆22都保持较大的倾斜角度,支脚杆21两端上的两个支撑杆22之间的间距较大,布套1处于几乎水平的延伸状态。
挂钩25设置在两个支脚杆21的同一端上的两个支撑杆22的顶部,布套1的两端分别挂在挂钩25上,从而将布套1和支撑结构连接。
参见图4和图5,当需要位置吊椅的状态时,将支撑杆22相对支脚杆21转动,减小与竖直方向的夹角,使得位于上方的定位销221卡在挂钩连接片231的卡槽232内,支撑连接杆23的倾斜角度相对减小,支撑杆22保持几乎竖直的状态,支脚杆21两端上的两个支撑杆22之间的间距大为减小,布套1的中间部分明显下垂而构成吊椅。
在本实用新型中,定位销221为两个,可替代的,定位销221也可以为三个、四个甚至更多,使得吊床和吊椅之间的状态转换具有逐渐过渡的状态,满足更多的使用需求。挂钩连接片231和定位销221也可以采用其他结构如卡扣、插销或其他常用的可构成可拆卸连接的结构件替代。
技术研发人员:谢醒东
技术所有人:宁波立信旅游用品有限公司
备 注:该技术已申请专利,仅供学习研究,如用于商业用途,请联系技术所有人。
声 明 :此信息收集于网络,如果你是此专利的发明人不想本网站收录此信息请联系我们,我们会在第一时间删除
