一种多功能的防静电鞋的制作方法

技术领域:
本发明涉及防静电鞋的技术领域,更具体地说涉及一种多功能的防静电鞋。
背景技术:
:
静电是由物体之间的摩擦而生产的,当人体携带的静电达到一定程度后会进行释放,从而让人感觉到触电的感觉。而且人体携带的静电改变和影响人的机体生理平衡,致使诱导疾病的发生。同时在许多特殊场合,人体上的静电电荷不及时释放,会产生损坏电子敏感元器件,干扰电子仪器,导致起火、爆炸等诸多灾难的发生。专利号为201420352359.0的专利提出了一种多功能防静电鞋,其通过旋转收缩导电的凸台,实现凸台可以隐藏在鞋底内,也可以露出鞋底,从而可以变为防静电鞋和绝缘鞋;而因为且鞋底一般为橡胶材质,其凸台采用螺接方式实现收缩,凸台和鞋底的螺纹孔之间强度不高,同时凸台又受到压簧的作用力,从而凸台容易脱离鞋底的螺纹部分,只能作为防静电鞋使用。
技术实现要素:
:
本发明的目的就是针对现有技术之不足,而提供一种多功能的防静电鞋,其优化改善了凸台部分的螺接强度,保证鞋子具备多功能。
为实现上述目的,本发明的技术解决措施如下:
一种多功能的防静电鞋,包括鞋面和鞋底,鞋底由下底和上底组成,下底和上底粘贴固定连接在一起,下底的上端面上成型有若干个贯穿下底的第一台阶孔,上底的下端上成型有第一台阶孔相对应的第二台阶孔,上底的第一台阶孔内插接有“凸”字形的导电按摩键,下底的第二台阶孔内插接有铜套,铜套的上端成型有封盖,铜套内螺接有第一永磁铁第一永磁铁的下端面上固定有圆柱形的导向橡胶凸块,导向橡胶凸块的下端露出下底的下端面,所述导电按摩键的下端面上固定有第二永磁铁,第二永磁铁和第一永磁铁相斥,第一永磁铁的下端面上成型有六角形的沉孔,导向橡胶凸块上成型有与沉孔相对的过孔。
优选的,所述的导向橡胶凸块呈倒置的“凸”字形,导向橡胶凸块的高度小于下底上第二台阶孔的长度。
优选的,所述的第一台阶孔呈人体足底穴位分布在下底上。
优选的,所述的第二永磁铁的厚度小于上底的厚度。
优选的,所述的第一永磁铁和第二永磁铁均采用钢质磁铁,第一永磁铁和第二永磁铁均呈圆形,第一永磁铁和第二永磁铁相对端面的磁极相反。
优选的,所述下底的上端面成型有与上底相同形状的沉台,上底插接在下底的沉台内,上底的厚度和下底上沉台的深度相等。
本发明的有益效果在于:其增设铜套连接,同时弹性结构由弹簧改为磁体结构,来增强导电橡胶凸块与鞋底的螺接强度,保证鞋子能实现切换,具备多功用。
附图说明:
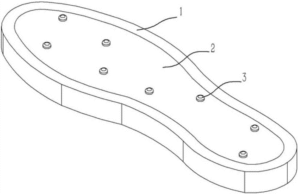
图1为本发明立体的结构示意图;
图2为本发明俯视的结构示意图;
图3为本发明鞋底的局部剖视示意图。
图中:1、下底;11、第一台阶孔;2、上底;2、第二台阶孔;3、导电按摩键;4、导向橡胶凸块;5、第二永磁铁;6、第一永磁铁;61、沉孔;7、铜套;71、封盖。
具体实施方式:
实施例:见图1至3所示,一种多功能的防静电鞋,包括鞋面和鞋底,鞋底由下底1和上底2组成,下底1和上底2粘贴固定连接在一起,下底1的上端面上成型有若干个贯穿下底1的第一台阶孔11,上底2的下端上成型有第一台阶孔11相对应的第二台阶孔21,上底2的第一台阶孔11内插接有“凸”字形的导电按摩键3,下底1的第二台阶孔21内插接有铜套7,铜套7的上端成型有封盖71,铜套7内螺接有第一永磁铁6第一永磁铁6的下端面上固定有圆柱形的导向橡胶凸块4,导向橡胶凸块4的下端露出下底1的下端面,所述导电按摩键3的下端面上固定有第二永磁铁5,第二永磁铁5和第一永磁铁6相斥,第一永磁铁6的下端面上成型有六角形的沉孔61,导向橡胶凸块4上成型有与沉孔61相对的过孔41。
所述的导向橡胶凸块4呈倒置的“凸”字形,导向橡胶凸块4的高度小于下底1上第二台阶孔21的长度。
所述的第一台阶孔11呈人体足底穴位分布在下底1上。
所述的第二永磁铁5的厚度小于上底2的厚度。
所述的第一永磁铁6和第二永磁铁5均采用钢质磁铁,第一永磁铁6和第二永磁铁5均呈圆形,第一永磁铁6和第二永磁铁5相对端面的磁极相反。
所述下底1的上端面成型有与上底2相同形状的沉台,上底2插接在下底1的沉台内,上底2的厚度和下底1上沉台的深度相等。
工作原理:本发明为多功能防静电鞋,其对现有结构进行了优化改进,增设铜套7,并将弹性结构由弹簧改为磁体结构,铜套7和第一永磁铁6之间的螺接强度比原先凸块与鞋底的螺接强度高,同时其导电按摩键3能按摩脚底,导电按摩键按3上第二永磁铁5下压时与铜套7电接触,铜套7通过第一永磁铁6与导向橡胶凸块4电连接,从而疏导静电。
所述实施例用以例示性说明本发明,而非用于限制本发明。任何本领域技术人员均可在不违背本发明的精神及范畴下,对所述实施例进行修改,因此本发明的权利保护范围,应如本发明的权利要求所列。
技术特征:
技术总结
本发明公开了一种多功能的防静电鞋,包括鞋面和鞋底,鞋底由下底和上底组成,下底和上底粘贴固定连接在一起,下底的上端面上成型有若干个贯穿下底的第一台阶孔,上底的下端上成型有第一台阶孔相对应的第二台阶孔,上底的第一台阶孔内插接有“凸”字形的导电按摩键,下底的第二台阶孔内插接有铜套,铜套的上端成型有封盖,铜套内螺接有第一永磁铁第一永磁铁的下端面上固定有圆柱形的导向橡胶凸块,导向橡胶凸块的下端露出下底的下端面,所述导电按摩键的下端面上固定有第二永磁铁,第二永磁铁和第一永磁铁相斥,第一永磁铁的下端面上成型有六角形的沉孔。
技术研发人员:徐亚维
受保护的技术使用者:东莞市联洲知识产权运营管理有限公司
技术研发日:2017.06.28
技术公布日:2017.09.29
技术研发人员:徐亚维
技术所有人:东莞市联洲知识产权运营管理有限公司
备 注:该技术已申请专利,仅供学习研究,如用于商业用途,请联系技术所有人。
声 明 :此信息收集于网络,如果你是此专利的发明人不想本网站收录此信息请联系我们,我们会在第一时间删除
