一种用于集中水面漂浮物的鼓风机的制作方法

本发明涉及一种环保设备,具体为一种用于集中水面漂浮物的鼓风机,属于水面环保领域。
背景技术:
水面漂浮物、大面积浮萍的危害非常严重,它不仅遮挡住阳光使水体浑浊,还使大量有机物发生化学反应,使有毒细菌增多、氧气减少,鱼虾不能生存,严重破坏河道生态环境。
对于水面漂浮物、浮萍等污染性问题,现有的治理方案大多为向水内喷洒农药,然后再派人进行打捞,但是大面积的漂浮物或者浮萍对农药的喷洒和打捞工作造成一定的困难,大面积的打捞工作不仅造成时间上的浪费,而且还不利于打捞者的人身安全问题。因此,针对上述问题提出一种用于集中水面漂浮物的鼓风机。
技术实现要素:
本发明的目的就在于为了解决上述问题而提供一种用于集中水面漂浮物的鼓风机。
本发明通过以下技术方案来实现上述目的,一种用于集中水面漂浮物的鼓风机,包括第一法兰,所述第一法兰下方设置有加油管道,所述加油管道下方底部连接有主转轴,所述主转轴外侧设置有固定孔,所述固定孔外侧设置有固定大盘,所述固定大盘外侧设置有固定螺栓,且所述固定大盘一侧设置有第二法兰,所述第二法兰中间设置有加水口,所述固定螺栓下方设置有固定支架,所述固定支架下方设置有固定底座,所述固定底座一侧设置有固定板,且所述固定大盘下方中间设置有减震弹簧,所述固定螺栓一侧连接固定扣,所述固定扣设置在风机外壳上,所述风机外壳中间设置有连接轴,所述连接轴外侧设置有连接杆,且所述连接轴中间安装有转动轴,所述转动轴外侧设置偶风扇叶。
优选的,为了使两个转动轴形成相互作用,有效的增加鼓风机的鼓风效率,所述风扇叶设置有若干个,且所述转动轴设置有两个。
优选的,为了使所述若干个减震弹簧形成弹簧组,增强减震能力,所述减震弹簧设置有若干个。
优选的,为了使所述固定孔连接的风机外壳连接更加稳定,所述固定扣与所述固定螺栓之间为固定连接。
优选的,为了使所述转动轴通过所述主转轴提供旋转动力,所述转动轴通过所述连接轴与所述主转轴形成旋转连接。
优选的,为了使能够快速的向所述主转轴添加润滑油添加剂,所述加油管道内部与所述主转轴连接。
本发明的有益效果是:通过固定扣与固定螺栓通将风机外壳固定在鼓风机主体上,启动鼓风机使主转轴启动开始高速转动,此时主转轴带动转动轴一起进行高速转动效果,使得风扇叶快速旋转,从而对水面的漂浮物形成一个巨大的风力作用,能够有效的将水面漂浮物集中在一起进行打捞、清理,在对于鼓风机的使用过程中,可以随时通过加油管道向内部添加润滑剂等油性添加剂,可以有效的加强主转轴的润滑效果,提高主转轴的工作能力,并且在固定大盘的底部安装有若干个减震弹簧形成的减震弹簧组,可以有效的对鼓风机在使用过程中产生的震动起到减震的作用,从而有效的提高鼓风机的使用寿命。
附图说明
图1为本发明环保型鼓风机主体结构示意图。
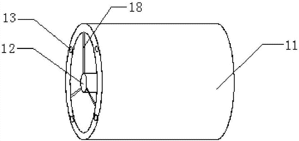
图2为本发明环保型鼓风机风机外壳结构示意图。
图3为本发明环保型鼓风机风扇叶结构示意图。
图4为本发明环保型鼓风机风扇叶组结构示意图。
图中:1、第一法兰;2、加油管道;3、主转轴;4、固定大盘;5、固定孔;6、固定螺栓;7、第二法兰;8、加水口;9、固定支架;10、固定底座;11、风机外壳;12、连接轴;13、固定扣;14、转动轴;15、风扇叶;16、减震弹簧;17、固定板;18、连接杆。
具体实施方式
下面将结合本发明实施例中的附图,对本发明实施例中的技术方案进行清楚、完整地描述,显然,所描述的实施例仅仅是本发明一部分实施例,而不是全部的实施例。基于本发明中的实施例,本领域普通技术人员在没有做出创造性劳动前提下所获得的所有其他实施例,都属于本发明保护的范围。
请参阅图1-4所示,一种用于集中水面漂浮物的鼓风机,包括第一法兰1,第一法兰1下方设置有加油管道2,加油管道2下方底部连接有主转轴3,主转轴4外侧设置有固定孔5,固定孔5外侧设置有固定大盘4,固定大盘4外侧设置有固定螺栓6,且固定大盘4一侧设置有第二法兰7,第二法兰7中间设置有加水口8,固定螺栓6下方设置有固定支架9,固定支架9下方设置有固定底座10,固定底座10一侧设置有固定板17,且固定大盘4下方中间设置有减震弹簧16,固定螺栓6一侧连接固定扣13,固定扣13设置在风机外壳11上,风机外壳11中间设置有连接轴12,连接轴12外侧设置有连接杆18,且连接轴12中间安装有转动轴14,转动轴14外侧设置偶风扇叶15。
作为本发明的一种技术优化方案,风扇叶15设置有若干个,且转动轴14设置有两个,使两个转动轴14形成相互作用,有效的增加鼓风机的鼓风效率。
作为本发明的一种技术优化方案,减震弹簧16设置有若干个,使若干个减震弹簧16形成弹簧组,增强减震能力。
作为本发明的一种技术优化方案,固定扣13与固定螺栓6之间为固定连接,使固定孔13连接的风机外壳11连接更加稳定。
作为本发明的一种技术优化方案,转动轴14通过连接轴12与主转轴3形成旋转连接,使转动轴14通过主转轴3提供旋转动力。
作为本发明的一种技术优化方案,加油管道2内部与主转轴3连接,使能够快速的向主转轴3添加润滑油添加剂。
本发明在使用时,首先按照正确安装方式安装鼓风机,通过固定扣13与固定螺栓6通将风机外壳11固定在鼓风机主体上,启动鼓风机使主转轴3启动开始高速转动,此时主转轴3带动转动轴14一起进行高速转动效果,使得风扇叶15快速旋转,从而对水面的漂浮物形成一个巨大的风力作用,能够有效的将水面漂浮物集中在一起进行打捞、清理,在对于鼓风机的使用过程中,可以随时通过加油管道2向内部添加润滑剂等油性添加剂,可以有效的加强主转轴3的润滑效果,提高主转轴3的工作能力,并且在固定大盘4的底部安装有若干个减震弹簧16形成的减震弹簧组,可以有效的对鼓风机在使用过程中产生的震动起到减震的作用,从而有效的提高鼓风机的使用寿命。
对于本领域技术人员而言,显然本发明不限于上述示范性实施例的细节,而且在不背离本发明的精神或基本特征的情况下,能够以其他的具体形式实现本发明。因此,无论从哪一点来看,均应将实施例看作是示范性的,而且是非限制性的,本发明的范围由所附权利要求而不是上述说明限定,因此旨在将落在权利要求的等同要件的含义和范围内的所有变化囊括在本发明内。不应将权利要求中的任何附图标记视为限制所涉及的权利要求。
此外,应当理解,虽然本说明书按照实施方式加以描述,但并非每个实施方式仅包含一个独立的技术方案,说明书的这种叙述方式仅仅是为清楚起见,本领域技术人员应当将说明书作为一个整体,各实施例中的技术方案也可以经适当组合,形成本领域技术人员可以理解的其他实施方式。
技术特征:
技术总结
本发明公开了一种用于集中水面漂浮物的鼓风机,包括第一法兰、加油管道、主转轴、固定大盘、固定孔、固定螺栓、第二法兰、加水口、固定支架、固定底座、风机外壳、连接轴、固定扣、转动轴、风扇叶、减震弹簧、固定板和连接杆。本发明的有益效果是:通过风扇叶快速旋转,从而对水面的漂浮物形成一个巨大的风力作用,能够有效的将水面漂浮物集中在一起进行打捞、清理,在对于鼓风机的使用过程中,可以随时通过加油管道向内部添加润滑剂等油性添加剂,提高主转轴的工作能力,并且在固定大盘的底部安装有若干个减震弹簧形成的减震弹簧组,可以有效的对鼓风机在使用过程中产生的震动起到减震的作用,从而有效的提高鼓风机的使用寿命。
技术研发人员:杨玲
受保护的技术使用者:广西升禾环保科技股份有限公司
技术研发日:2017.04.26
技术公布日:2017.08.04
技术研发人员:杨玲
技术所有人:广西升禾环保科技股份有限公司
备 注:该技术已申请专利,仅供学习研究,如用于商业用途,请联系技术所有人。
声 明 :此信息收集于网络,如果你是此专利的发明人不想本网站收录此信息请联系我们,我们会在第一时间删除
