一种基于电表数据的用户电压暂降事故检测方法与流程

本发明涉及电力技术领域,具体涉及一种基于电表数据的用户电压暂降事故检测方法。
背景技术:
电压暂降是指供电电压有效值快速下降到额定值的90%~10%,持续时间在0.01s~1min之间的情况。作为目前最突出的电能质量问题之一,电压暂降会导致微机数字控制器、交流接触器、低压脱扣器等敏感设备不正常工作、重启甚至停运,造成产品报废生产中断,给用户带来巨大损失。据统计,在欧美地区由于电压暂降问题引起的投诉占电能质量问题投诉量的80%以上,每年由于电压暂降所引起的经济损失高达数百亿美元。在国内,电压暂降问题也是工业用户,尤其是高新技术产业用户的关注重点。因此,对用户侧的电压暂降问题进行监测和治理能够帮助供电企业提高供电质量,争取工业大用户。
电压暂降事件持续时间短,残压不为零,对监测设备的精度要求较高,用户侧计量电表或普通监测装置无法全面监测电压暂降。而电能质量监测设备成本较高,经济性差,用户装设比例低,短时间内难以实现大范围推广。可见,现有的电网监测系统和电能质量监测设备都暂时无法完成对大量用户进行用户侧电压暂降事故监测的任务,用户侧电压暂降事故的发现和治理往往只能靠用户投诉驱动,不便于供电企业开展电能质量提升治理工作,存在局限性。另外,智能电表的大范围普及提供了大量的用户数据,但这些数据尚未有效利用。为此,亟须提出一种利用现有设备水平和用户数据资源实现用户侧电压暂降问题检测的方法,以指导配电网可靠性提升和电能质量治理工作。
技术实现要素:
为了克服现有监测设备难以实现大量用户进行电压暂降事故监测,本发明提供一种基于电表数据的用户电压暂降事故检测方法。
本发明采用如下技术方案:
一种基于电表数据的用户电压暂降事故检测方法,包括如下步骤:
s1:以3min为间隔,通过用户侧电能表采集并记录配电网中每个用户的电量数据,计算用户每个时段的用电量,间隔时间也可以取1min或2min;
s2:对用户用电量数据进行归一化处理,得出标准化的用户日用电量曲线;
s3:基于历史数据选取各用户的典型日用电量曲线,并根据用户行业特点制定特殊用电场景库;
s4:基于与典型日用电量曲线的比对,考虑特殊用电场景的辨别需求建立场景检测指标体系;
s5:根据电表数据特征和检测指标的差异,形成特殊用电场景库的场景区分判断标准;
s6:基于用户电表数据,通过场景判断标准检测用户发生用电量意外骤降情况是否由电压暂降引起。
所述步骤s1提及的用户每个时段的用电量,具体计算方法为:设定电量数据采集间隔为3min,配电网中第i个用户在第j(j=1,2,…,480)个采集时间点的电量为qij,则该用户在第j个时段的用电量qij是指用户第j个时间点与第j-1个时间点的电量差,计算公式为:qij=qij-qij-1。
所述步骤s2提及的用电量数据归一化处理,具体计算公式为:
式中:qij’表示第i个用户归一化处理后的用电量,max{qij}表示第i个用户在一天所有时段中的最大用电量。
所述步骤s2提及的标准化的用户日用电量曲线,具体是指:以时间为横坐标,用电量为纵坐标,根据一天内用户的归一化用电量数据得出的折线。
所述步骤s3提及的选取用户的典型日用电量曲线,具体是指:选择统计时间内的最大日累积用电量所对应的日负荷曲线作为该用户的典型日用电量曲线,所选取的典型日应不包含特殊用电场景,另外当用户在不同季度或月份的用电特性差异较大时,可以选取多个典型日负荷曲线与之对应。
所述步骤s3提及的特殊用电场景库,具体包括:持续停电、短时停电、电压暂降、用户停产、部分设备停产等可能导致用电量发生骤变的场景,其中:
持续停电场景是指停电持续时间不少于3min的停电事件,属于电网客观场景;
短时停电场景是指停电持续时间在3min以内的停电事件,属于电网客观场景;
电压暂降场景是指用户供电电压跌落至90%~10%额定电压,并造成用户敏感用电设备重启或停运的情况,属于电网客观场景;
用户停产场景是指用户在一段时间内主动关停全部或主要用电设备的情况,属于用户主观场景;
部分设备停运是指用户主动停运某些用电设备的情况,属于用户主观场景。
所述步骤s4提及的场景检测指标体系,具体是指:用于反映发生用电量骤变的特殊用电场景后用户用电量变化特征的指标参数,具体包括:同比用电量跌幅δb、骤降起始时刻t1、残余电量a0,指标的定义如下:
同比用电量跌幅δb:同一时段用电量与正常工作日的典型日电量曲线相比,最大的跌落幅值定义为同比最大电量跌幅δb;
骤降起始时刻t1:同一时段用电量与正常工作日的典型日电量曲线相比,出现同比用电量跌幅δb超过20%的时刻定义为骤降起始时刻t1;
残余电量a0:骤降起始时刻对应的用电量定义为残余电量a0。
所述步骤s5提及的特殊用电场景库的场景判断标准,具体包括基于单个用户电表数据的场景判断标准和基于台区多用户的场景判断标准,其中:
基于单个用户电表数据的场景判断标准是指:以单个用户电表获得的电量数据和停电记录为基础,通过场景检测指标的差异来对所述特殊场景进行区分的判断标准;
基于台区多用户的场景判断标准是指:以台区所有用户电表数据为基础,通过判断是否存在多个用户在同一时刻发生用电量骤变来区分电网客观场景和用户主观场景的判断标准。
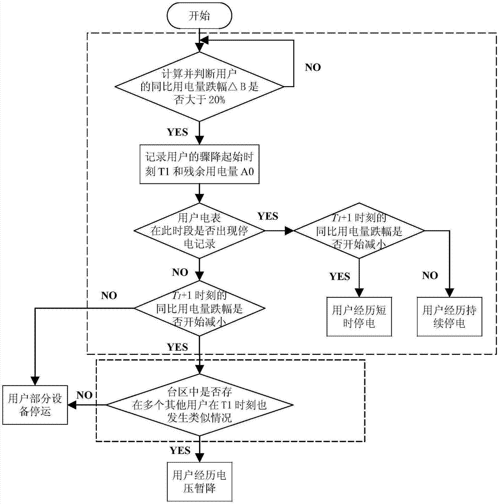
所述步骤s6具体包含以下内容:
s601,计算并判断用户的同比用电量跌幅δb是否大于20%,若δb大于20%,则认为用户发生用电量意外骤降情况,记录骤降起始时刻t1和残余用电量a0,并进入特殊用电场景检测判别过程;否则继续计算下一时刻的同比用电量跌幅δb;
s602,判断用户电表在此时段(即骤降起始时刻t1之前的3min)是否出现停电记录,若有停电记录,则判断t1+1时刻的同比用电量跌幅是否开始减小,如果开始减小,就将此次用电量意外骤降原因判断为用户经历短时停电,如果没有减小,就判断为用户经历持续停电;若没有停电记录,则继续下一步判断;
s603,根据基于台区多用户的场景判断标准,判断台区中是否存在多个其他用户也在t1时刻发此类情况,即在t1时刻发生用电量骤降,而残余电量不为0,电表没有停电记录,用电量在骤降起始时刻的下一时刻开始恢复,若存在多个用户同时在t1时刻发生此类情况,则将此次用电量意外骤降原因判断为用户经历电压暂降;否则将此次用电量意外骤降原因判断为用户备份设备停运。
本发明的有益效果:
(1)本发明所设计的用户电压暂降事故检测方法是利用用户侧电表数据进行检测筛选的,无需新增监测设备,简单方便,经济性好,易于推广。
(2)本发明设计的电压暂降事故检测方法是以用户用电量发生骤降为起始判断条件,可以过滤掉没有对用户正常用电产生明显影响的电压暂降情况,更能切实反映用户用电体验,指导供电企业有针对性的开展电压暂降治理工作。
(3)本发明所设计的场景区分判断标准和判断流程,同时考虑了单个用户的用电量变化特征和台区多用户的整体关联,使判断结果具有更高准确率和可信度。
附图说明
图1是本发明一种基于电表数据的用户电压暂降事故检测方法的流程图;
图2是本发明步骤六的具体判断流程图;
图3是本发明实施例的用户标准化典型日用电量曲线。
具体实施方式
下面结合实施例及附图,对本发明作进一步地详细说明,但本发明的实施方式不限于此。
实施例
如图1中s10-s60所示,基于电表数据的用户电压暂降事故检测方法流程图,包括如下步骤:以3min为间隔,通过用户侧电能表采集并记录配电网中每个用户的电量数据,计算用户每个时段的用电量;对用户用电量数据进行归一化处理,得出标准化的用户日用电量曲线;基于历史数据选取各用户的典型日用电量曲线,并根据用户行业特点制定特殊用电场景库;基于与典型日用电量曲线的比对,考虑特殊用电场景的辨别需求建立场景检测指标体系;根据电表数据特征和检测指标的差异,形成特殊用电场景库的场景区分判断标准;基于用户电表数据,通过场景判断标准检测用户发生用电量意外骤降情况是否由电压暂降引起。
参考图2,所述步骤s6的具体电压暂降场景检测判断流程先后包括基于单个用户电表数据的场景判断过程和基于台区多用户的场景判断过程。
1)计算并判断用户的同比用电量跌幅δb是否大于20%,若δb大于20%,则认为用户发生用电量意外骤降情况,记录骤降起始时刻t1和残余用电量a0,并进入特殊用电场景检测判别过程;否则继续计算下一时刻的同比用电量跌幅δb;
2)判断用户电表在此时段(即骤降起始时刻t1之前的3min)是否出现停电记录,若有停电记录,则判断t1+1时刻的同比用电量跌幅是否开始减小,如果开始减小,就将此次用电量意外骤降原因判断为用户经历短时停电,如果没有减小,就判断为用户经历持续停电;若没有停电记录,则继续下一步判断;
3)上述基于单个用户的电表数据的场景判断过程仍无法区分电压暂降和部分设备停运,需要根据基于台区多用户的场景判断标准进行进一步判断。判断台区中是否存在多个其他用户也在t1时刻发此类情况,即在t1时刻发生用电量骤降,而残余电量不为0,电表没有停电记录,用电量在骤降起始时刻的下一时刻开始恢复,若存在多个用户同时在t1时刻发生此类情况,则将此次用电量意外骤降原因判断为用户经历电压暂降;否则将此次用电量意外骤降原因判断为用户备份设备停运。
下面结合具体应用实例阐述本发明提供的基于电表数据的用户电压暂降事故检测方法。
在本实施例中对工业园台区10个用户进行用户电压暂降事故检测,检测时段为一个月。利用计量自动化系统以3min为间隔采集并记录每个用户的用户侧电能表电量读数qij,计算用户每个时段的用电量qij。
对10个用户每天每时段的用电量进行归一化处理,根据处理后的数据画出所有用户每天的标准化日用电量曲线。
选择本月内的最大日累积用电量所对应的标准化日负荷曲线作为典型日用电量曲线,由此获得10个用户的典型日用电量曲线,图3为台区1号用户的标准化典型日用电量曲线。
本实施例中,根据这些工业用户的行业用电习惯制定特殊用电场景库,包括:持续停电、短时停电、电压暂降、用户停产、部分设备停产。在其他实例应用中,可根据用户实际用电习惯对特殊用电场景进行增减。
基于与典型日用电量曲线的比对,考虑特殊用电场景的辨别需求建立场景检测指标体系,具体包括:同比用电量跌幅δb、骤降起始时刻t1、残余电量a0。
根据电表数据特征和检测指标的差异,形成特殊用电场景库的场景区分判断标准,包括基于单个用户电表数据的场景判断标准和基于台区多用户的场景判断标准,在本实施例中场景判断标准具体为:
基于单个用户电表数据的场景判断标准:
持续停电场景判断标准为:残余电量为0,电表出现停电记录,用电量在骤降起始时刻的下一时刻并未出现恢复;
短时停电场景判断标准为:残余电量不为0,电表出现停电记录,用电量在骤降起始时刻的下一时刻开始恢复;
电压暂降场景判断标准为:残余电量不为0,电表没有停电记录,用电量在骤降起始时刻的下一时刻开始恢复;
用户停产场景判断标准为:自骤降起始时刻后,用电量为0或者持续稳定维持在一个较低水平,电表没有停电记录;
部分设备停运判断标准为:残余电量不为0,电表没有停电记录,用电量在骤降起始时刻的下一时刻开始恢复;
基于台区多用户的场景判断标准为:当台区存在多个用户在同一时刻发生用电量骤变,则认为属于电网客观场景,即持续停电、短时停电或电压暂降,否则认为属于用户主观场景,即用户停产或部分设备停运。
根据步骤s6对10个用户进行电压暂降事故检测判断,发现台区1至5号用户在本月13日第180个监测时间节点同时出现同比用电量跌幅δb大于20%的情况,残余用电量没有跌至0,且台区及用户智能电表均未发现供电电压过零点,没有停电记录,从第181个监测时间节点开始用户用电量开始回升,随后恢复至接近典型日用电量曲线水平。因此依据步骤s6的场景判断逻辑可检测出本月13日8:57至9:00期间台区1至5号用户经历了一次电压暂降事故,并且此次电压暂降事故对这5个用户的正常用电产生了明显影响。
本实施例进一步表明了:本发明所述的基于电表数据的用户电压暂降事故检测方法能够在现有设备水平上,利用用户侧电表的电量数据和停电记录检测筛选对用户正常用电产生明显影响的电压暂降事故,简单易行,能够帮助供电企业对大量为装设电能质量监测设备的用户进行电压暂降事故检测,指导开展电能质量提升工作。
上述实施例为本发明较佳的实施方式,但本发明的实施方式并不受所述实施例的限制,其他的任何未背离本发明的精神实质与原理下所作的改变、修饰、替代、组合、简化,均应为等效的置换方式,都包含在本发明的保护范围之内。
技术研发人员:欧阳森,刘丽媛,陈丹伶
技术所有人:华南理工大学
备 注:该技术已申请专利,仅供学习研究,如用于商业用途,请联系技术所有人。
声 明 :此信息收集于网络,如果你是此专利的发明人不想本网站收录此信息请联系我们,我们会在第一时间删除
