一种石蜡病理切片组织的水凝胶支撑和脂质清除处理方法与流程

本发明涉及提高石蜡病理组织切片的检测特异性敏感性并大幅降低抗体使用量的方法,是一种石蜡病理切片组织水凝胶支撑脂质清除的处理方法。
背景技术:
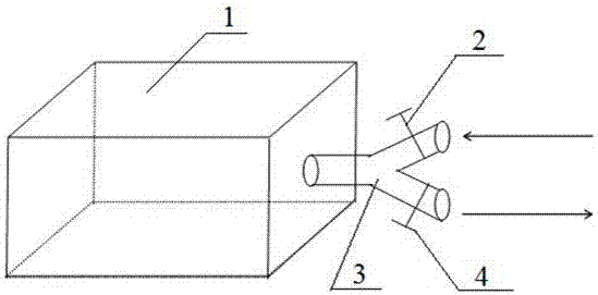
:石蜡病理组织切片是将病变的组织或脏器经过各种化学品和包埋法的处理,使之支撑硬化,在切片机上切成薄片,粘附在玻片上,加以各种染色检测手段,供在显微镜下检查,以观察病理变化,作出病理诊断,为临床诊断和治疗提供帮助。其中,染色手段不同,可分为细胞化学染色、免疫组织化学染色和免疫荧光染色以及荧光原位杂交(fish)等。然而在石蜡病理组织切片中,组织细胞中脂质分子具有阻碍光线和大分子渗透的作用,这导致传统方法制作的病理切片在免疫组织染色及免疫荧光染色时需耗费更多的抗体且同时信噪比较差。如果能无损伤保留细胞蛋白质及各种遗传物质同时有效去除双层脂质分子,从而使光线和大分子能更好渗透到组织深层,实现提高染色效果并减少抗体的使用量,提高组织石蜡病理组织切片染色的敏感性、特异性。因此如何能在去除脂质的同时保持组织结构完整性和避免生物分子信息丢失成为技术难点。clarity技术的原理是采用一种透明水凝胶替代组织中的脂类,构建起一个组织细胞骨架,支撑细胞组分中的蛋白质、神经递质、dna、rna等物质,从而达到减少脂质分子阻碍光线和大分子渗透的目的。该技术最初的报道是运用在动物器官组织,主要是通过心脏灌流输入动物体内,在多聚甲醛充分支撑蛋白质、核酸之后,将组织样品升温至37℃,诱发丙烯酰胺、甲叉-丙烯酰胺聚合,在组织内部形成水凝胶,完整保留蛋白质和核酸的定位信息,再进一步应用阴离子表面活性剂十二烷基硫酸钠(sds)溶液清除样品中主要的散光物质磷脂,最后通过折射率匹配,让样品和样品间隙的折射率一致,从而使样品的光学通透性大大增强。然而在石蜡病理切片组织中运用clarity技术原理进行水凝胶支撑脂质清除处理,国内外尚未见文献报道。技术实现要素:本发明提供一种石蜡病理切片组织的水凝胶支撑和脂质清除处理方法,将clarity技术原理与传统石蜡切片检测方法相结合,通过支撑组织中蛋白质及各种遗传物质并清除组织中的脂质成分,提高病理切片检测的特异性和敏感性,并大幅降低抗体使用量。为实现上述目的,本发明的技术方案为:一种石蜡病理切片组织的水凝胶支撑和脂质清除处理方法,包括以下步骤:s1.将石蜡病理组织切片进行脱蜡,得切片;s2.将切片进行抗原修复;s3.将步骤s2所得的切片完全浸没于水凝胶中,在0~4℃下浸泡20~40h;s4.将步骤s3处理后的切片放入第一容器中,交替充入惰性气体/氮气/二氧化碳和抽真空,然后在第一容器充满氮气的情况下,于35~40℃保温2.5~6h,直至水凝胶凝固;s5.将步骤s4处理后的切片放入盛有清除液的第二容器中,置于摇床上,35~40℃下去除切片组织中的脂质22~30h,最后将切片取出,完成透明化处理过程。优选的,所述步骤s1包括以下子步骤:s1-1.将石蜡病理组织切片置于恒温箱中,于55~65℃保温30~60min;s1-2.将石蜡病理组织切片置于二甲苯中脱蜡8~15min,反复进行3次;s1-3.用不同浓度乙醇梯度水化,无水乙醇、无水乙醇、80%乙醇、70%乙醇及60%乙醇各1~5min,得切片。优选的,所述步骤s3中,水凝胶的制备方法为:质量浓度40%丙烯酰胺、质量浓度2%甲叉双丙烯酰胺、0.1mpbs、ddh2o按体积比18~22:4~6:18~22:145~165混合,且每100ml的混合液体中还加有0.15~0.3g的va-044。更优选的,所述步骤s3中,水凝胶的制备方法为:质量浓度40%丙烯酰胺、质量浓度2%甲叉双丙烯酰胺、0.1mpbs、ddh2o按体积比10:2.5:10:77.5混合,且每100ml的混合液体中还加有0.25g的va-044。优选的,所述步骤s4中,第一容器包括容器本体和y型气管,所述y型气管下端口与容器本体相连,两个上端口分别设置有阀门,其中一个上端口与氮气源相连,另一个上端口与真空泵相连。优选的,所述步骤s4中,交替充入惰性气体/氮气和抽真空的过程为:先充入惰性气体/氮气/二氧化碳1.5~3min,抽真空15~20min。优选的,所述步骤s5中,清除液的制备方法为:硼酸、sds和ddh2o按照重量比12~13:39~42:1000混合,并用10m的naoh溶液调节ph至8.2~8.8。优选的,所述步骤s3中,在容器充满氮气的情况下,于37℃保温2.5~6h;所述步骤s4中,摇床的温度为37℃。优选的,还包括s6.将切片通过免疫组织化学法染色或免疫荧光法染色。优选的,清除液的制备方法为硼酸、sds和ddh2o按照重量比0.62:2:50混合,并用10m的naoh溶液调节ph至8.5。以上所述的石蜡病理切片组织的水凝胶支撑和脂质清除处理方法,先对病理切片进行脱蜡,以脱除蜡质层的干扰,再对切片进行抗原修复,使被封闭的抗原重新暴露或修正过来,然后将切片浸泡在水凝胶中,并使水凝胶成型,从而用水凝胶替代了病理组织中的脂质成分,构建起一个组织细胞骨架,最后通过清除液除去细胞脂质,让器官组织变得透明且更利于大分子渗透,从而降低抗体用量并提升成像效果。经过以上处理,有效清除了组织中的脂质成分,进而达到降低染色背景、提高靶标信号的目的,还具有减少抗体使用量、操作难度低、对设备要求低、操作容易等优势,本发明能很好的与目前普遍应用的病理检测手段相结合,可以增加病理切片检测的特异性和敏感性,提高临床病理诊断准确率,降低抗体使用量及大幅节省检测费用。附图说明图1为本发明的流程示意图。图2为本发明中第一容器的结构示意图。图3a为dapi荧光染色未透明化组织切片组显微镜下的结果。图3b为dapi荧光染色透明化组织切片组显微镜下的结果。图中,容器本体1,第一阀门2,y型气管3,第二阀门4。具体实施方式以下结合具体实施例对本发明作进一步说明,但本发明的保护范围不限于以下实施例。切片分组:选择人正常肝脏组织石蜡病理组织切片8张,其中透明化处理组和非透明化组各四张,所述的透明化处理组即将石蜡病理切片组织进行过水凝胶固定和脂质清除处理,所述的非透明化组即为石蜡病理组织切片。石蜡病理切片组织的水凝胶固定和脂质清除处理方法包括以下步骤:s1.将石蜡病理组织切片进行脱蜡,得切片:s1-1.将石蜡病理组织切片置于恒温箱中,于60℃下保温烘烤30min;s1-2.将石蜡病理组织切片置于二甲苯中脱蜡10min,反复进行3次;s1-3.用不同浓度乙醇梯度水化,无水乙醇、无水乙醇、80%乙醇、70%乙醇及60%乙醇各5min,得切片。s2.将切片进行抗原修复:s2-1.将石蜡病理组织切片浸泡在盛有0.01m枸橼酸钠缓冲溶液的高压锅中,高压加热枸橼酸钠缓冲溶液,压力阀开始冒气后等待5min,停止加热,等缓冲液冷却后,将切片取出;s2-2.把切片用pbs漂洗5min,其中pbs指磷酸盐缓冲液,主要包含磷酸二氢钾、磷酸氢二钠、氯化钠以及氯化钾,ph=7.4。s3.将步骤s2所得的切片置于盛有水凝胶的切片盒中,完全浸没,放入4℃冰箱,浸泡24h;其中,水凝胶100ml的配置组成见表1:表1成分40%丙烯酰胺2%甲叉双丙烯酰胺va-0440.1mpbsddh2o用量10ml2.5ml0.25g10ml77.5ml丙烯酰胺与甲叉丙烯酰胺为主要成型剂;pbs指磷酸盐缓冲液;va-044引发剂是指化学名称为偶氮二异丁咪唑啉盐酸盐,缩写为aibi,别名va-044,是一种水溶性偶氮引发剂。其作用为诱导丙烯酰胺与甲叉丙烯酰胺交联聚合,形成三维网状结构,其化学结构如式(i)所示:式(i)浸泡完后将切片取出,小心去除组织周围多余水凝胶。s4.将步骤s3处理后的切片放入第一容器中,交替充入惰性气体/氮气/二氧化碳和抽真空;如图2所示,第一容器包括容器本体1和y型气管3,y型气管3下端口与容器本体1相连,两个上端口分别设置有第一阀门2和第二阀门4,其中一个上端口通过第一阀门2与氮气源相连,另一个上端口通过第二阀门4与真空泵相连。交替充入氮气和抽真空的过程为:打开第一阀门2,关闭第二阀门4,充入氮气2min;关闭第一阀门2,打开第二阀门4,抽真空20min。其中,氮气可以用惰性气体或二氧化碳代替。然后打开第一阀门2,关闭第二阀门4,充入氮气,在第一容器充满氮气的情况下,于37℃保温3h,直至水凝胶凝固;开启第一容器,取出切片,小心去除组织外周的水凝胶;s5.准备清除液:清除液50ml的配置组成见表2:表2然后再用10mnaoh调节ph至8.5,即得清除液。将步骤s4处理后的切片正面向上,放入盛有清除液的离心管中,置于37℃摇床上,去除切片组织中的脂质24h,最后将切片取出,完成透明化处理过程。s6.将切片通过免疫组织化学法染色或免疫荧光法染色。将dapi抗体稀释为浓度400ug/ml的工作液。按表3中所示不同一抗的稀释浓度将样本分成四组表3在样本中滴加配置好的dapi稀释液,室温避光孵育10min,采用pbs洗3min两次,然后荧光显微镜观察,拍照,拍照分为手动曝光组和自动曝光组:a.手动曝光组:设置参数iso100,曝光时间0.5秒,记录各组染色后手动曝光结果,并以阳性和阴性标记。b.自动曝光组:设置参数iso100,曝光时间自动,记录各组染色后自动曝光结果及曝光所需时间,并以阳性和阴性标记。结果见表4:表4注:表格中“+”表示阳性结果,“-”表示阴性结果该结果显示,在手动曝光条件下抗体稀释5倍后透明化组仍可以得到阳性结果而非透明化组检测不到。而在自动曝光条件下,抗体稀释125倍后仍可以检测到阳性结果,但非透明化组在稀释25倍时已无法检出,且所有抗体浓度下透明化组自动曝光所需时间均小于非透明化组。结合图3所示,图3a为dapi荧光染色未透明化组织切片组显微镜下的结果,图3b为dapi荧光染色透明化组织切片组显微镜下的结果,图3a和图3b中的组织切片均按dapi工作液(400ug/ml)的初始浓度,25倍稀释作染,图片采集是使用奥林巴斯荧光倒置显微镜进行采集(400x显微放大,自动曝光)。由对比结果可见,透明化组的dapi染色效果提升明显,信号与背景清晰可分,信噪比良好。在检测组织切片中细胞组织的多肽及蛋白质等大分子物质的定性和定位观察试验中,由于透明化组的切片进行了脂质清除处理,使抗体更容易穿透组织及细胞膜并与组织切片中的抗原结合,从而达到降低抗体使用量的目的,根据使用抗体的不同,透明化组的切片的抗体用量仅为未透明化组的切片抗体用量的1/25~1/250。综上所述,本实施例能无损伤的支撑组织中蛋白质等遗传物质并有效清除了组织中的脂质成分,进而达到降低染色背景、提高靶标信号的目的,还具有减少抗体使用量、操作难度低、对设备要求低、操作容易等优势,本发明能很好的与目前普遍应用的病理检测手段相结合,可以增加病理切片检测的特异性敏感性,提高临床病理诊断准确率,大幅节省检测费用。当前第1页12
文档序号 :
【 11228394 】
技术研发人员:邬国斌,李科志,何剑波,连芳,陈闯,黄山,赵荫农,唐银琳,袁小川,田昊,李雨轩
技术所有人:广西壮族自治区肿瘤防治研究所
备 注:该技术已申请专利,仅供学习研究,如用于商业用途,请联系技术所有人。
声 明 :此信息收集于网络,如果你是此专利的发明人不想本网站收录此信息请联系我们,我们会在第一时间删除
技术研发人员:邬国斌,李科志,何剑波,连芳,陈闯,黄山,赵荫农,唐银琳,袁小川,田昊,李雨轩
技术所有人:广西壮族自治区肿瘤防治研究所
备 注:该技术已申请专利,仅供学习研究,如用于商业用途,请联系技术所有人。
声 明 :此信息收集于网络,如果你是此专利的发明人不想本网站收录此信息请联系我们,我们会在第一时间删除
