鱼塘主动采样装置的制作方法

本发明涉及一种鱼塘快速检测装置,具体的说是一种鱼塘主动采样装置。
背景技术:
水产养殖水质的优劣会直接影响水生动物的生长发育状况和其相关产业的经济效益,需要对鱼塘水质环境进行实时监测,传统方法需要在一个鱼塘的多个位置设置用于环境监测的检测传感器如ph传感器和溶解氧传感器等,通过主控制器分别获得每个采样点的检测数据,采样点越多,就需要更多的检测传感器,这就存在以下问题:(1),检测传感器价格昂贵,导致监测成本过高,采集和维护不便。(2)由于检测传感器直接安装在鱼塘的采样点处,鱼塘的恶劣环境下,长期放置会使检测传感器的探头被水体杂质污染而损坏,增加运行成本;(3)由于检测传感器直接安装在鱼塘的采样点处,当某个检测传感器损坏时,不易更换和维护,增加了维护的难度。
技术实现要素:
本发明的目的是为了解决上述技术问题,提供一种结构简单、控制简便、投资成本和运行成本低、便于清洗和维护、检测传感器使用寿命长、可实现自动采样的鱼塘主动采样装置。
技术方案包括多个鱼塘采样点,所述多个鱼塘采样点分别连接对应的进水管,每根进水管上设有采样电磁阀,所述进水管经水泵与采样桶连接,所述采样桶包括桶体和桶盖,所述桶体内设有检测传感器,所述桶体的壁面上设有与所述进水管连接的进水口,上段壁面设溢流口,底面设有出水口,所述出水口经出水电磁阀连接鱼塘的排放管,所述溢流口也连接鱼塘的排放管。
所述桶体内还设有用于冲洗检测传感器的冲洗头,所述冲洗头经冲洗电磁阀连接自来水管。
所述有检测传感器经垂直升降机构安装在桶体内,且不与桶壁接触。
所述垂直升降机构包括丝杆,所述丝杆的上端穿过桶盖中心孔与步进电机的电机轴连接,所述丝杆上套装有丝杆滑块,所述丝杆滑块上设有用于安装检测传感器的支架,所述支架上设有至少一个导向孔,所述导向孔内设有光杆,所述光杆的上端固定在桶盖上。
所述检测传感器为ph传感器和/或溶解氧传感器。
还包括有控制系统,所述控制系统包括主控制器,所述主控制器的输入端与检测传感器连接,所述主控制器的输出端分别与水泵的控制器、采样电磁阀和出水电磁阀连接;所述主控制器经无线传输模块与控制终端连接。
所述主控制器的输出端还与冲洗电磁阀连接。
所述主控制器的输出端还与步进电机的控制器连接。
针对背景技术中存在的问题,发明人作出如下改进:取消在各个鱼塘采样点处设置的检测传感器,改为增加一个采样桶,通过控制相应采样电磁阀的开闭,可分别将不同鱼塘采样点的水样经进水管、水泵引入采样桶内,利用采样桶内安装的检测传感器对水样进行检测,检测后的水样可经出水口排入水塘,利用上述结构可实现对多个采样点水样的检测,其优点是(1)不用在每个采样点安装检测传感器,无论对应多少采样点,都只用在采样桶中安装一套检测传感器即可,大大减少了设备投资成本;(2)只需要在定期采样时将水样引入采样桶中,不进行采样时可将桶中的水样放空,不使检测传感器的探头长期浸泡水中,大大提高了设备的使用寿命,检测准确性高;(3)由于采样点不再设置传感检测器,大大降低了前期安装和后期维护的难度,当需要更换采样点位置或增减采样点时,只需相应更改或增减进水管入口的位置。(4)利用水管、阀门和水泵的配合实现采样桶内的进、排水,结构非常简单、易于施工。
进一步的,通过在桶体内设置冲洗头,引入自来水经冲洗头对采样后的检测传感器进行冲洗,避免检测传感器的探头被水体杂质污染,影响下一次采样的准确性,保证多次采样的情况下,检测数据的准确可靠,进一步提高检测传感器的使用寿命。
进一步的,将检测传感器安装在升降机构上,采用升降机构带动检测传感器垂直上下运动,在采样时带动检测传感器下降沉入水样下,充分接触水样,在采样后带动检测传感器上升离开水面,并达到冲洗头高度,利用电磁阀控制自来水冲洗传感器探头,实现清洁检测传感器探头,避免检测传感器探头长期侵泡在水中而被鱼塘水污染影响传感器精度,提高检测的准确性。
进一步的,所述升降机构采用丝杆与丝杆滑块内螺纹配合的结构,采用支架安装检测传感器,用光杆限位并导向,当步进电机带动丝杆正转或反转时,滑块在光杆导向及限位的作用下沿丝杆上升或下降,从而带动支架上的检测传感器上升或下降,实现检测传感器浸入水面以下或提升至水面以上的动作,采用支架固定的方式能够保证检测传感器与水样充分接触而不会与桶体的壁面接触,也方便控制检测传感器达到冲洗头冲洗高度进行冲洗,从而提高了检测的准确性。
所述检测传感器并不特别限定是何种传感器,支架上可安装多个检测传感器,本领域技术人员可以根据检测要求选择具体需要的传感器(如用于监测鱼塘环境常用的ph传感器和/或溶解氧传感器等),或者进行合理增减,非常灵活方便,
本发明控制系统采用主控制器控制各个采样电磁阀、出水电磁阀和冲洗电磁阀的开闭,控制水泵的启动和关闭,控制步进电机的转向及开闭,同时检测传感器采集的信号也发送给主控制器进行分析、处理、显示或者再经无线传输模块发送给控制终端进数据储存,所述控制终端可与web服务器或手机进行无线通讯,可通过网站或手机查看相关数据或者下达控制指令,方便的实现远程监控,此为现有技术,在此不作详述。
本发明结构简单、控制简便、投资成本和运行成本低、便于清洗和维护、检测传感器使用寿命长、检测数据稳定准确性高、可实现连续自动采样,适用于一个或多个鱼塘的多个采样点检测。
附图说明
图1为本发明装置布置原理图;
图2为采样桶内垂直升降机构的结构示意图;
图3为本发明的控制原理图。
其中:1-鱼塘、2-鱼塘、3-采样电磁阀、4-水泵电磁阀、5-出水电磁阀、6-冲洗电磁阀、7-采样桶、7.1-桶体、7.2-桶盖、7.3-进水口、7.4-出水口、7.5-溢流口、8-冲洗头、9-进水管、10-垂直升降机构、10.1-步进电机、10.2-丝杆、10.3-丝杆滑块、10.4-支架、10.5-光杆、10.6-导向孔、10.7-联轴器、11-ph传感器、12-溶解氧传感器、13-主控制器、14-控制终端、15-web服务器、16-水泵、17-排放管、18-自来水管。
具体实施方式
下面结合附图对本发明作进一步解释说明:
参见图1,本实施例中有两个鱼塘1、2,每个鱼塘设有多个采样点,所述采样点的布置位置或者高度可根据需要进行确认,在此不作详述;多个鱼塘采样点分别连接对应的多根进水管9,每根进水管9上设有采样电磁阀3,所有进水管9经水泵16、水泵电磁阀4与采样桶7连接,所述采样桶7包括桶体7.1和桶盖7.2,所述桶体7.1的壁面上设有与所述进水管9连接的进水口7.3,上段壁面设溢流口7.5,底面设有出水口7.4,所述出水口7.4经出水电磁阀5连接鱼塘的排放管,所述溢流口也连接鱼塘的排放管。检测传感器(本发明中列举为ph传感器11和溶解氧传感器12)经垂直升降机构10安装在桶体7.1内,且不与桶壁接触。所述桶体7.1内还设有两个用于冲洗检测传感器的冲洗头8,所述冲洗头8经冲洗电磁阀6连接自来水管18,若冲洗头有8的数量可根据检测传感器的数量控制,相应冲洗电磁阀6与冲洗头8的数量对应。
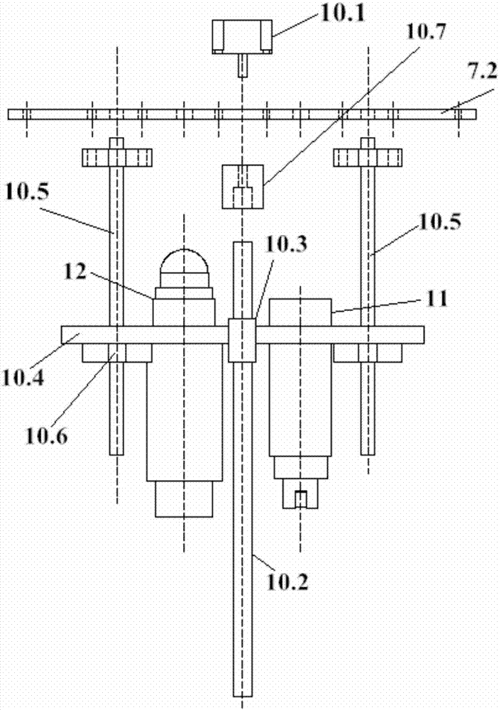
参见图2,所述垂直升降机构10包括丝杆10.2,所述丝杆10.2的上端穿过桶盖7.2中心孔经联轴器10.7与步进电机10.1的电机轴连接,所述丝杆10.2上套装有丝杆滑块10.3,所述丝杆滑块10.3上设有安装有ph传感器11和溶解氧传感器12的支架10.4,所述支架10.4上设有至少一个导向孔10.6,所述导向孔10.6内设有光杆10.5,所述光杆10.5的上端固定在桶盖7.2上。
参见图3,还包括有控制系统,所述控制系统包括主控制器13,所述主控制器13的输入端与ph传感器11和溶解氧传感器12连接,所述主控制器13的输出端分别与水泵16的控制器、步进电机10.1的控制器、多个采样电磁阀3、出水电磁阀5和两个清洗电磁阀6连接;所述主控制器13经无线传输模块与控制终端14连接,所述控制终端14与web服务器15可实现网络通讯。
工作原理:
需要进行采样时,主控制器13控制对应采样点的进水管9的采样采样电磁阀3开启,出水电磁阀5关闭,控制水泵16及水泵电磁阀4开启,采样点处的水样由对应的进水管9送入经进水口7.3进入采样桶7内,水位上升至溢流水位后,多余的水样由溢流口7.5经排放管17引回鱼塘,主控制器13发出控制信号给步进电机10.1的控制器,使步进电机10.1开启带动丝杆10.2正向转动,使丝杆滑块10.3带动支架10.4下降,使ph传感器11和溶解氧传感器12下降进入检测位置,ph传感器11和溶解氧传感器12被浸没在水样中,采集相关数据,并将数据信号传送给主控制器13,主控制器13对信号进行分析处理后经无线传输模块传送给控制终端14,再由控制终端14将相关数据发送给web服务器储存以供查阅。当主控制器13获取来自ph传感器11和溶解氧传感器12的信号后,控制对应的采样电磁阀3、水泵16及水泵电磁阀4关闭,出水电磁阀5开启,将桶内的水样由出水口7.4经排放管17排入鱼塘;主控制器13发出控制信号给清洗电磁阀6开启,自来水经自来水管18经冲洗头8向桶内的ph传感器11和溶解氧传感器12的方向喷出,用于冲洗附着在传感器探头上的污物及杂质(冲洗时间可预先设定),冲洗完成后关闭清洗电磁阀6;主控制器13发出控制指令控制步进电机10.1启动,带动丝杆10.2反向转动,使丝杆滑块10.3带动支架10.4上升,使ph传感器11和溶解氧传感器12上提,回到初始位置,控制对应的采样电磁阀3关闭;
当需要对下一采样点进行检测时,同理,主控制器13控制对应采样点的进水管9的采样电磁阀3开启,出水电磁阀5关闭,其它控制方法同上。
采用上述方法可对多个鱼塘的多个采样点进行连续采样检测,获得稳定准确的数据。
控制终端14还可接受来自web服务器发出的控制指令,对整个采样过程进行控制。
技术研发人员:管华,祝爱侠,王春维,蒋丽华,祝家东,陈杰
技术所有人:武汉轻工大学
备 注:该技术已申请专利,仅供学习研究,如用于商业用途,请联系技术所有人。
声 明 :此信息收集于网络,如果你是此专利的发明人不想本网站收录此信息请联系我们,我们会在第一时间删除
