新型防阻塞式沙质河床床沙采样系统的制作方法

本发明涉及水文领域,特别是一种新型阻塞式沙质河床床沙采样系统。
背景技术:
随着自动化测流系统的推广普及,自动化测流系统已在水文站日常工作中起重要的作用。河床质采样器是采集床面或床面以下一定深度内泥沙样品的仪器。目前,公知的推移质沙质河床床沙采样器其型式有拖拽式(如拖沙筒)、挖掘式(如挖斗式采样器等)和钻式(如活塞式采样器等)三类。
如图1所示,传统的拖桶式沙质河床床沙采样器,包括取样圆筒1,取样圆筒内沿轴向设置有一块分隔板2,分隔板2将取样圆筒1分成上下两个部分;取样圆筒1的一端封闭,如图1所示的左边;另一端为取样端,其端面为斜面,如图1所示的右边;取样端设置一块挡板5,挡板5的下边缘与分隔板2相连,并封闭住取样端的上面部分;取样段的下面部分为取样口4,取样圆筒1的上方靠近挡板处设有出水口6;在取样圆筒1的封闭端3,设有连通孔7,从而使得取样圆筒的上下两个部分连通;在取样圆筒1外侧设有引索固定装置8。
然而,由于行进船只通过引索对引索固定装置8施加的牵引力是斜向上的,这样会导致取样口4翘起而不能贴近河床,导致不能正常取样。
技术实现要素:
本发明所要解决的技术问题是提供一种防阻塞式沙质河床床沙采样系统。
为解决上述技术问题,本发明是按如下方式实现的:
一种新型防阻塞式沙质河床床沙采样系统,包括取样圆筒,取样圆筒内沿轴向设置有一块分隔板,分隔板将取样圆筒分成上下两个部分;取样圆筒的一端封闭;另一端为取样端,其端面为斜面;取样段的上下面部分均为取样口且上半部分不设置挡板,取样圆筒的上方靠近挡板处设有出水口;在取样圆筒的封闭端,设有第一连通孔,从而使得取样圆筒的上下两个部分连通;在取样圆筒外侧设有引索固定装置;引索固定装置通过第一引索绕过河底信号仪的滚动轮由第二引索与船只固定;河底信号仪的滚动轮与传感器相连接,传感器通过第三引索与重锤相连;在分隔板沿着轴向方向设置第二连通孔,该第一、第二连通孔均带有过滤片。
本发明的积极效果是:本发明由于采用上述设计,可以使得引索对引索固定装置施加水平方向的牵引力,从而避免导致取样口翘起而不能贴近河床,保证正常取样。
附图说明
图1为传统的拖桶式沙质河床床沙采样器的结构示意图。
图2为本发明的拖桶式沙质河床床沙采样系统的结构示意图。
图3为河底信号仪的结构示意图。
具体实施方式
下面结合附图和具体实施方式对本发明作进一步详细的说明。
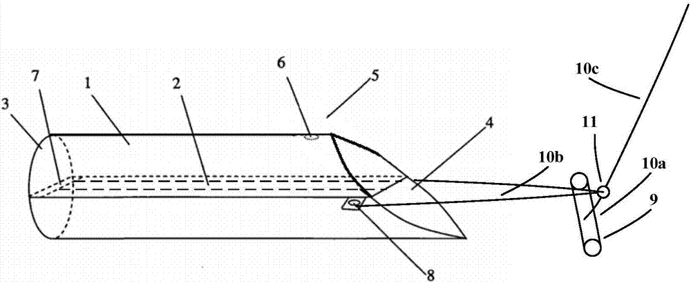
如图2所示,本发明的新型拖桶式沙质河床床沙采样系统包括:取样圆筒1,取样圆筒内沿轴向设置有一块分隔板2,分隔板2将取样圆筒1分成上下两个部分;取样圆筒1的一端封闭,如图1所示的左边;另一端为取样端,其端面为斜面,如图1所示的右边;取样段的上下部分均为取样口4。取样圆筒1的上方靠近挡板处设有出水口6;在取样圆筒1的封闭端3,设有连通孔7,从而使得取样圆筒的上下两个部分连通;在取样圆筒1外侧设有引索固定装置8。引索固定装置8通过引索10b绕过河底信号仪(详见图3)的滚动轮由引索10c与船只固定;河底信号仪的滚动轮与传感器相连接,传感器通过引索10a与重锤相连。索引10a的长度小于取样圆筒1半径,从而使得产生水平向下的牵引力。由于已经能够产生水平向下的牵引力,取样端上半部分不再设置挡板5。传感器的信号输出端连接至放大输出模拟量模块。
连通孔7上焊接有过滤片。然而,当运行至河床非水平处,一旦取样口4向上翘起,河床的床沙非常容易堆积在连通孔7处造成过滤片阻塞,取样段非常容易被水充满而不能再对床沙采集。因此,进一步在分隔板2沿着轴向方向设置另一个带有过滤片的连通孔。因此,无论取样口4是否向上翘起,沿轴向方向设置的连通孔均可以顺畅的让水流通。
图3的河底信号仪包括s型拉压双向称重传感器和滚动轮。在s型臂上加滚动轮实现对引索10c进行实时拉力检测,重量变送器把信号放大输出模拟量模块采集,利用plc组态软件编程,采集信号对信号进行检测,判断,分析,数字显示、输出。
优先选用的传感器为5000n,可以超载100%,短时间承受10000kg,压力或者拉力及f1max=10000n,安装时角度控制在小于300,夹角越小,可允许f越大,所以在安装的时候选择范围比较广,简便。
工作原理:利用s型传感器对上端滚动轮上钢丝绳压力采集,称重变送器对信号放大送至模拟量模块,模拟量模块对数据采集送至plc,plc进行数据判读,输出实时数字信号,显示钢丝绳受力状态,在钢丝绳受力向下突变是,判读到河底。河底信号仪完善了自动化测量控制系统,使自动化控制系统更加完善;其次,该产品输出形式可多样,可配合不同的自动化、半自动、手动控制台使用,产品使用前景广阔。
本发明由于采用上述设计,可以使得引索10b对引索固定装置8施加水平向下的牵引力,从而避免导致取样口4翘起而不能贴近河床,保证正常取样。
本发明不局限于上述最佳实施方式,任何人在本发明的启示下都可得出其他各种形式的产品,但不论在其形状或结构上作任何变化,凡是具有与本发明相同或相近似的技术方案,均落在本发明的保护范围之内。
技术特征:
技术总结
本发明提供一种新型防阻塞式沙质河床床沙采样系统,包括:取样圆筒,取样圆筒内沿轴向设置有一块分隔板,分隔板将取样圆筒分成上下两个部分;取样圆筒的一端封闭;另一端为取样端,其端面为斜面;取样段的上下面部分均为取样口且上半部分不设置挡板,取样圆筒的上方靠近挡板处设有出水口;在取样圆筒的封闭端,设有第一连通孔,从而使得取样圆筒的上下两个部分连通;在取样圆筒外侧设有引索固定装置;引索固定装置通过第一引索绕过河底信号仪的滚动轮由第二引索与船只固定;河底信号仪的滚动轮与传感器相连接,传感器通过第三引索与重锤相连;在分隔板沿着轴向方向设置第二连通孔,该第一、第二连通孔均带有过滤片。
技术研发人员:王中锋;李红艳;褚钰;张曦明;蔡二琴;郝原
受保护的技术使用者:河南工程学院
技术研发日:2017.07.01
技术公布日:2017.09.08
技术研发人员:王中锋,李红艳,褚钰,张曦明,蔡二琴,郝原
技术所有人:河南工程学院
备 注:该技术已申请专利,仅供学习研究,如用于商业用途,请联系技术所有人。
声 明 :此信息收集于网络,如果你是此专利的发明人不想本网站收录此信息请联系我们,我们会在第一时间删除
