一种膜片弹簧通用强压模具的制作方法

本发明属于离合器技术领域,具体涉及一种膜片弹簧通用强压模具。
背景技术:
常规膜片弹簧强压需要针对某型号膜片弹簧的支点进行设计,这个方案需要制作全新的上下模具以及寻找通用的上下模具进行拼凑,虽然有部分膜片弹簧可以通用但是这样给工装模具的管理工作增加了繁琐,工作效率也大大的降低。
技术实现要素:
本发明的目的在于提供一种膜片弹簧通用强压模具,解决现有技术中膜片弹簧通用强压模具通用性、成本高的技术问题。
本发明为了解决上述技术问题,采用如下技术方案:
一种膜片弹簧通用强压模具,包括支架,所述支架上设置有底座,底座上开设有多个滑槽,每个滑槽中设置有一个滑块,滑块沿滑槽能够移动,滑块的顶部高出底座的上表面;所述多个滑槽以底座的中心呈辐射状均匀设置。
在对膜片弹簧进行强压试验时,先根据所要测试膜片弹簧的型号确定其支撑点的位置,然后将所有滑块移动至与膜片弹簧支撑点对应的位置,保证所有滑块共圆设置,滑块的顶部与膜片弹簧支撑点相接触,以滑块的顶部作为支点,进行强压试验。以滑块作为试验的支点,滑块沿滑槽移动,针对不同型号的膜片弹簧,其支撑点的位置也不同,只要沿滑槽移动滑块,就能确定支点的位置,通用性强,降低了模具的制作成本。
进一步改进,还包括多个丝杠,丝杠与滑槽的数量相同,每个滑槽中沿其长度方向对应设置一个丝杠,丝杠与底座转动连接,滑块上开设有螺纹孔,滑块与丝杠螺纹连接。以转动丝杠来驱动滑块移动,操作方便,容易控制滑块的进给量,且在不转动丝杆的情况下滑块不会晃动、偏移,易定位。
进一步改进,所述底座的外缘呈多边形,底座外周面的每个平面上固定设置一个连接板,丝杠穿过连接板设置在滑槽中,丝杠与连接板转动连接;所述丝杆远离底座中心的一端固定设置有链接块,通过转动链接块带动丝杠转动,驱动滑块往复运动。通过连接板转动连接丝杠,便于拆装、维修;通过在丝杆远离底座中心的一端固定设置链接块,链接块作为操作把手,便于操作,且能够防止操作人员的手直接接触丝杠,导致丝杠上润滑油污染操作人员的手。
进一步改进,所述连接板通过螺钉与底座固连,便于安装、拆卸。
进一步改进,所述每个滑槽的边缘沿滑槽长度方向设置有刻度尺,所有刻度尺上同一个刻度值对应的点共圆,且所共圆的圆心与底做的中心重合,滑块上设置有指示针,指示针指向刻度尺上的刻度。根据膜片弹簧支撑点的位置,通过转动丝杠,驱动滑块移动,使指示针指向支撑点对应的刻度值,则此时滑块的顶部就作为强压试验的支点,便于滑块快速定位,且精度高。
进一步改进,所述滑块的顶部为弧面,保证滑块支点与膜片弹簧支撑点力的作用点。如果滑块的顶部为尖刺状,接触面积太小容易划伤膜片弹簧;如果滑块的顶部为平面状,则接触面积太大,不便于进行强压试验。
进一步改进,所述底座上表面的中心设置有圆台,圆台靠近底座一端的截面半径较大。进行强压试验时,将膜片弹簧通过其中心孔套设在圆台上,则快速的实现了膜片弹簧与各个滑块所共圆同心设置,方便膜片弹簧快速定位。
进一步改进,所述滑块的数量为十二个。
与现有技术相比,本发明的有益效果是:
在对膜片弹簧进行强压试验时,先根据所要测试膜片弹簧的型号确定其支撑点的位置,然后将所有滑块移动至与膜片弹簧支撑点对应的位置,保证所有滑块共圆设置,滑块的顶部与膜片弹簧支撑点相接触,以滑块的顶部作为支点,进行强压试验。以滑块作为试验的支点,滑块沿滑槽移动,针对不同型号的膜片弹簧,其支撑点的位置也不同,只要沿滑槽移动滑块,就能确定支点的位置,通用性强,降低了模具的制作成本。
附图说明
图1为本发明所述一种膜片弹簧通用强压模具的结构示意图。
图2为图1的局部放大视图。
图3为图2中滑块顶部右视图。
具体实施方式
为使本发明的目的和技术方案更加清楚,下面将结合本发明实施例对本发明的技术方案进行清楚、完整地描述。
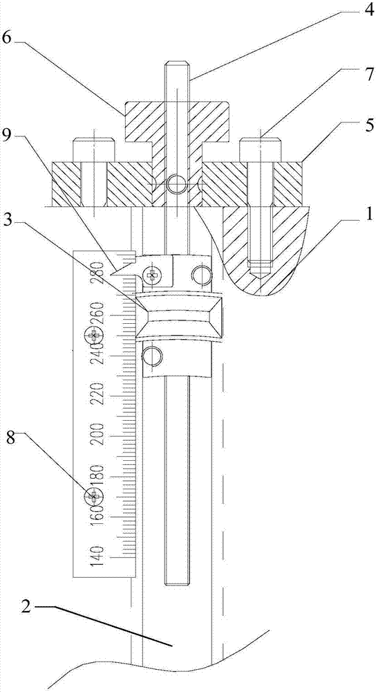
如图1-3所示,一种膜片弹簧通用强压模具,包括支架,所述支架上设置有底座1,底座1上开设有多个滑槽2,每个滑槽2中设置有一个滑块3,滑块3沿滑槽2能够移动,滑块3的顶部高出底座1的上表面;所述多个滑槽2以底座1的中心呈辐射状均匀设置。
在对膜片弹簧进行强压试验时,先根据所要测试膜片弹簧的型号确定其支撑点的位置,然后将所有滑块移动至与膜片弹簧支撑点对应的位置,保证所有滑块共圆设置,滑块的顶部与膜片弹簧支撑点相接触,以滑块的顶部作为支点,进行强压试验。以滑块作为试验的支点,滑块沿滑槽移动,针对不同型号的膜片弹簧,其支撑点的位置也不同,只要沿滑槽移动滑块,就能确定支点的位置,通用性强,降低了模具的制作成本。
在本实施例中,还包括多个丝杠4,丝杠4与滑槽2的数量相同,每个滑槽2中沿其长度方向对应设置一个丝杠4,丝杠4与底座转动连接,滑块3上开设有螺纹孔,滑块3与丝杠4螺纹连接。以转动丝杠来驱动滑块移动,操作方便,容易控制滑块的进给量,且在不转动丝杆的情况下滑块不会晃动、偏移,易定位。
在本实施例中,所述底座1的外缘呈多边形,底座1外周面的每个平面上固定设置一个连接板5,丝杠4穿过连接板5设置在滑槽2中,丝杠4与连接板5转动连接;所述丝杆4远离底座1中心的一端固定设置有链接块6,通过转动链接块6带动丝杠4转动,驱动滑块3进行往复运动。通过连接板转动连接丝杠,便于拆装、维修;通过在丝杆远离底座中心的一端固定设置链接块,链接块作为操作把手,便于操作,且能够防止操作人员的手直接接触丝杠,导致丝杠上润滑油污染操作人员的手。
在本实施例中,所述连接板5通过螺钉7与底座1固连,便于安装、拆卸。
在本实施例中,所述每个滑槽2的边缘沿滑槽长度方向设置有刻度尺8,所有刻度尺8上同一个刻度值对应的点共圆,且所共圆的圆心与底做的中心重合,滑块上设置有指示针,指示针指向刻度尺上的刻度。根据膜片弹簧支撑点的位置,通过转动丝杠,驱动滑块移动,使指示针指向支撑点对应的刻度值,则此时滑块的顶部就作为强压试验的支点,便于滑块快速定位,且精度高。
在本实施例中,所述滑块3的顶部为弧面,如图3所示,保证滑块支点与膜片弹簧支撑点力的作用点。如果滑块的顶部为尖刺状,接触面积太小容易划伤膜片弹簧;如果滑块的顶部为平面状,则接触面积太大,不便于进行强压试验。
在本实施例中,所述底座1上表面的中心设置有圆台10,圆台10靠近底座一端的截面半径较大。进行强压试验时,将膜片弹簧通过其中心孔套设在圆台上,则快速的实现了膜片弹簧与各个滑块所共圆同心设置,方便膜片弹簧快速定位。
在本实施例中,所述滑块3的数量为十二个。
本发明中未做特别说明的均为现有技术或者通过现有技术即可实现,而且本发明中所述具体实施案例仅为本发明的较佳实施案例而已,并非用来限定本发明的实施范围。即凡依本发明申请专利范围的内容所作的等效变化与修饰,都应作为本发明的技术范畴。
技术特征:
技术总结
本发明公开了一种膜片弹簧通用强压模具,包括支架,所述支架上设置有底座,底座上开设有多个滑槽,每个滑槽中设置有一个滑块,滑块沿滑槽能够移动,滑块的顶部高出底座的上表面;所述多个滑槽以底座的中心呈辐射状均匀设置。在对膜片弹簧进行强压试验时,先根据所要测试膜片弹簧的型号确定其支撑点的位置,然后将所有滑块移动至与膜片弹簧支撑点对应的位置,保证所有滑块共圆设置,滑块的顶部与膜片弹簧支撑点相接触,以滑块的顶部作为支点,进行强压试验。以滑块作为试验的支点,滑块沿滑槽移动,针对不同型号的膜片弹簧,其支撑点的位置也不同,只要沿滑槽移动滑块,就能确定支点的位置,通用性强,降低了模具的制作成本。
技术研发人员:俞明;田瑞;董祥辉;童露
受保护的技术使用者:芜湖大捷离合器有限公司
技术研发日:2017.03.07
技术公布日:2017.07.07
技术研发人员:俞明,田瑞,董祥辉,童露
技术所有人:芜湖大捷离合器有限公司
备 注:该技术已申请专利,仅供学习研究,如用于商业用途,请联系技术所有人。
声 明 :此信息收集于网络,如果你是此专利的发明人不想本网站收录此信息请联系我们,我们会在第一时间删除
