不锈钢焊丝拉直用上线装置的制作方法

本实用新型涉及一种不锈钢焊丝拉直用上线装置。
背景技术:
焊丝是作为填充金属或同时作为导电用的金属丝焊接材料。在气焊和钨极气体保护电弧焊时,焊丝用作填充金属;在埋弧焊、电渣焊和其他熔化极气体保护电弧焊时,焊丝既是填充金属,同时也是导电电极。焊丝的表面不涂防氧化作用的焊剂。
不锈钢焊丝的进行精加工的过程中避免不了的问题就是如何有序上料,焊丝较细,如何使其在上料的过程中不缠绕,能够有序上料,这是一直需要解决的问题,虽然现有技术中的上料装置很多,但是使用过程中还是会出现焊丝缠绕的现象,导致上料故障频频发生,影响精加工的整体操作。
技术实现要素:
针对上述存在的问题,本实用新型旨在提供一种不锈钢焊丝拉直用上线装置,该装置结构简单,上料有序,解决了现有技术中焊丝缠绕的现象,而且上料自动化,无需人工操作,降低故障率,减轻劳动强度,缩短精加工周期。
为了实现上述目的,本实用新型所采用的技术方案如下:
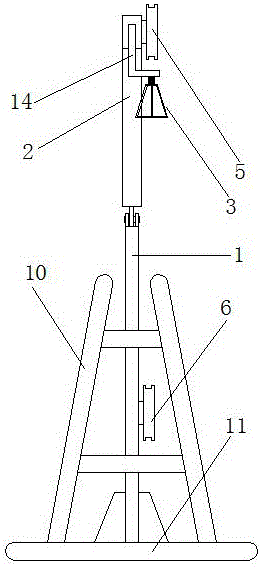
不锈钢焊丝拉直用上线装置,包括主支架和置料架,所述主支架由竖向支架和倾斜支架两部分构成,所述竖向支架与所述倾斜支架之间活动连接,在所述竖向支架上设置固定板一,并在所述倾斜支架上设置固定板二,所述固定板一与所述固定板二之间连接气缸,所述倾斜支架顶端设有导线框和导线轮一,在所述竖向支架上设有导线轮二。
作为优选,所述导线框通过L形固定板固定在所述倾斜支架的上端。
作为优选,所述导线框包括导线筒和锥形定位框。
作为优选,所述导线筒内设有导线孔,所述导线孔与所述导线轮一对应设置。
作为优选,所述锥形定位框由圆形短板、圆形长板以及连接在圆形短板与圆形长板之间的连接筋组成。
作为优选,所述置料架由底座和两个置料立柱组成,两个置料立柱之间通过连接板连接,并且两个所述置料立柱均倾斜设置。
本实用新型的有益效果是:与现有技术相比,本实用新型的优点是,本实用新型为了解决焊丝缠绕问题以及上料困难的问题,设计了活动连接的竖向支架和倾斜支架,并且通过气缸来实现两者的传动,这样上料更加方便,其次,设计导线框,往往在焊丝上料后直接在导线轮中实现有序缠绕,但是使用久了就会出现缠绕的问题,或者是焊丝跳出导线轮的问题,因为,在导线轮侧面设置导线框,焊丝在导线框进行定位,缩小其晃动的区域,在其进入导线轮时就会存在跳线和缠绕的现象。
附图说明
图1为本实用新型主视示意图。
图2为本实用新型右视示意图。
其中:1-竖向支架,2-倾斜支架,3-导线框,4-导线筒,5-导线轮一,6-导线轮二,7-气缸,8-固定板一,9-固定板二,10-置料立柱,11-底座,12-导向板,13-活动板,14-L形固定板。
具体实施方式
为了使本领域的普通技术人员能更好的理解本实用新型的技术方案,下面结合附图和实施例对本实用新型的技术方案做进一步的描述。
参照附图1-2示的一种不锈钢焊丝拉直用上线装置,包括主支架和置料架,所述置料架由底座11和两个置料立柱10组成,两个置料立柱10之间通过连接板连接,并且两个所述置料立柱10均倾斜设置,两个置料立柱10倾斜设置后形成一锥形结构,成捆的焊丝可以较方便的套接在两个置料立柱10上,上料更加方便,所述主支架由竖向支架1和倾斜支架2两部分构成,所述竖向支架1与所述倾斜支架2之间活动连接,在所述竖向支架1上还设有活动板13,倾斜支架2上设有导向板12,导向板12的底部与活动板13铰接,这样能够给倾斜支架2和竖向支架1的连接起到一个导向作用,在所述竖向支架1上设置固定板一8,并在所述倾斜支架2上设置固定板二9,所述固定板一8与所述固定板二9之间连接气缸7,所述倾斜支架2顶端设有导线框3和导线轮一5,在所述竖向支架1上设有导线轮二6。
在本实用新型中,所述导线框3通过L形固定板14固定在所述倾斜支架2的上端,所述导线框3包括导线筒4和锥形定位框,所述导线筒4内设有导线孔,所述导线孔与所述导线轮一5对应设置,所述锥形定位框由圆形短板、圆形长板以及连接在圆形短板与圆形长板之间的连接筋组成;设计导线框3,往往在焊丝上料后直接在导线轮中实现有序缠绕,但是使用久了就会出现缠绕的问题,或者是焊丝跳出导线轮的问题,因为,在导线轮侧面设置导线框3,焊丝在导线框3进行定位,缩小其晃动的区域,在其进入导线轮时就会存在跳线和缠绕的现象。
成捆焊丝套接在两个置料立柱10上后,气缸7向下拉动倾斜支架2,然后将焊丝套进导线框3内,并通过导线孔、导线轮一5以及导线轮二6依次有序向前输送。
技术研发人员:韩小军,汪东生,施海军,徐菲
技术所有人:江苏申源特种合金有限公司
备 注:该技术已申请专利,仅供学习研究,如用于商业用途,请联系技术所有人。
声 明 :此信息收集于网络,如果你是此专利的发明人不想本网站收录此信息请联系我们,我们会在第一时间删除
